Запчасти Komatsu D575A-2 РУЧН. SELECT КЛАПАН (SUPER DOZER)(№-) ГТР CONVERTOR¤ ТРАНСМИССИЯ¤ РУЛЕВ. УПРАВЛЕНИЕ И КОНЕЧНАЯ ПЕРЕДАЧА

Схема запчастей Komatsu D575A-2 - РУЧН. SELECT КЛАПАН (SUPER DOZER)(№-) ГТР CONVERTOR¤ ТРАНСМИССИЯ¤ РУЛЕВ. УПРАВЛЕНИЕ И КОНЕЧНАЯ ПЕРЕДАЧА
FIT
1:1
100%

Артикул

Название

Примечание

Количество

|$1

19M-15-01010

TRANSMISSION ASS'Y

SN: 10012-UP

1шт.

|$$2

THIS ASSEMBLY CONSISTS OF ALL PARTS SHOWN IN FIGS.F2320-51A2 TO F2320-61A2.

-1шт.

|$4

19M-15-00320

VALVE ASS'Y

SN: 10012-UP

1шт.

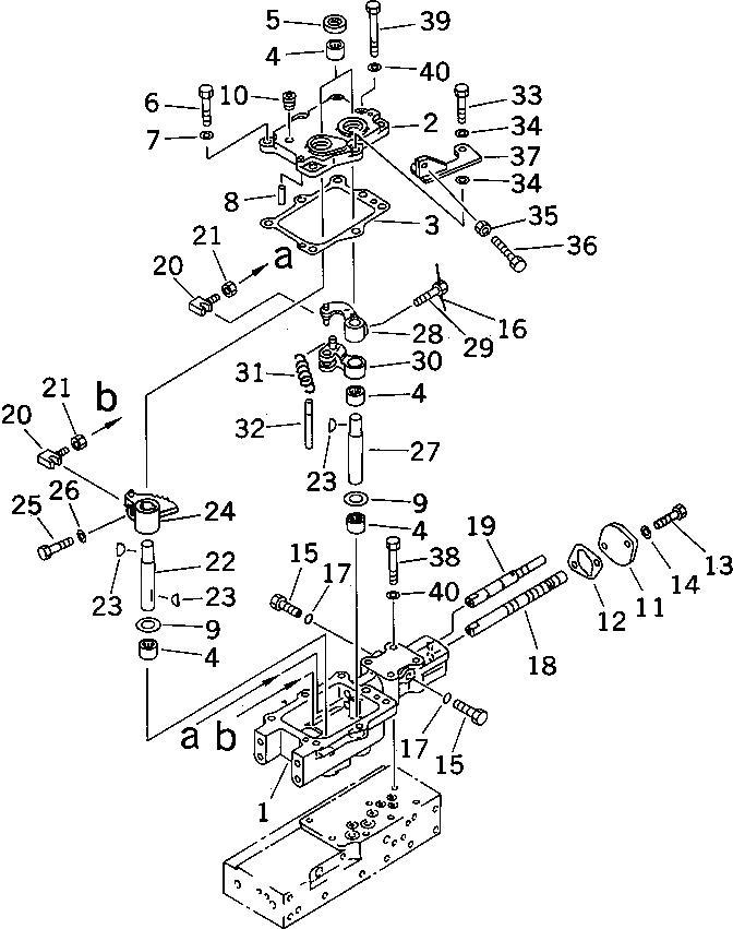
1

195-15-38110

BODY

SN: 10012-UP

1шт.

2

195-15-38810

COVER

SN: 10012-UP

1шт.

3

195-15-38910

GASKET (K3)

SN: 10012-UP

1шт.

4

06120-01816

BEARING,NEEDLE

SN: 10012-UP

5шт.

5

566-15-15850

SEAL,OIL (K3)

SN: 10012-UP

2шт.

6

01010-81030

BOLT

SN: 10012-UP

4шт.

7

01643-31032

WASHER

SN: 10012-UP

4шт.

8

04020-00820

PIN,DOWEL

SN: 10012-UP

2шт.

9

01640-21826

WASHER

SN: 10012-UP

2шт.

10

07043-00211

PLUG

SN: 10012-UP

1шт.

11

195-15-38820

COVER

SN: 10012-UP

1шт.

12

195-15-38920

GASKET (K3)

SN: 10012-UP

1шт.

13

01010-81025

BOLT

SN: 10012-UP

2шт.

14

01643-31032

WASHER

SN: 10012-UP

2шт.

15

195-15-38710

DETENT ASS'Y

SN: 10012-UP

2шт.

16

04059-01010

WIRE,LOCK (K3)

SN: 10012-UP

1шт.

17

07002-01223

O-RING (K3)

SN: 10012-UP

2шт.

18

195-15-38140

SPOOL

SN: 10012-UP

1шт.

19

195-15-38150

SPOOL

SN: 10012-UP

1шт.

20

09363-00850

YOKE

SN: 10012-UP

2шт.

21

01580-10806

NUT

SN: 10012-UP

2шт.

22

195-15-38651

SHAFT

SN: 10012-UP

1шт.

23

04010-00519

KEY

SN: 10012-UP

3шт.

24

195-15-38610

LEVER

SN: 10012-UP

1шт.

25

01010-80825

BOLT

SN: 10012-UP

1шт.

26

01643-30823

WASHER

SN: 10012-UP

1шт.

27

195-15-38661

SHAFT

SN: 10012-UP

1шт.

28

195-15-38620

LEVER

SN: 10012-UP

1шт.

29

195-15-38560

BOLT

SN: 10012-UP

1шт.

30

195-15-38630

LEVER ASS'Y

SN: 10012-UP

1шт.

31

195-15-38751

SPRING

SN: 10012-UP

1шт.

32

195-15-38550

PIN

SN: 10012-UP

1шт.

33

01010-81040

BOLT

SN: 10012-UP

2шт.

34

01643-31032

WASHER

SN: 10012-UP

4шт.

35

01580-11008

NUT

SN: 10012-UP

1шт.

36

01016-51060

BOLT

SN: 10012-UP

1шт.

37

195-15-38340

BRACKET

SN: 10012-UP

1шт.

38

01010-81070

BOLT

SN: 10012-UP

4шт.

39

01010-81080

BOLT

SN: 10012-UP

1шт.

40

01643-31032

WASHER

SN: 10012-UP

5шт.

Выбрано товаров: 43