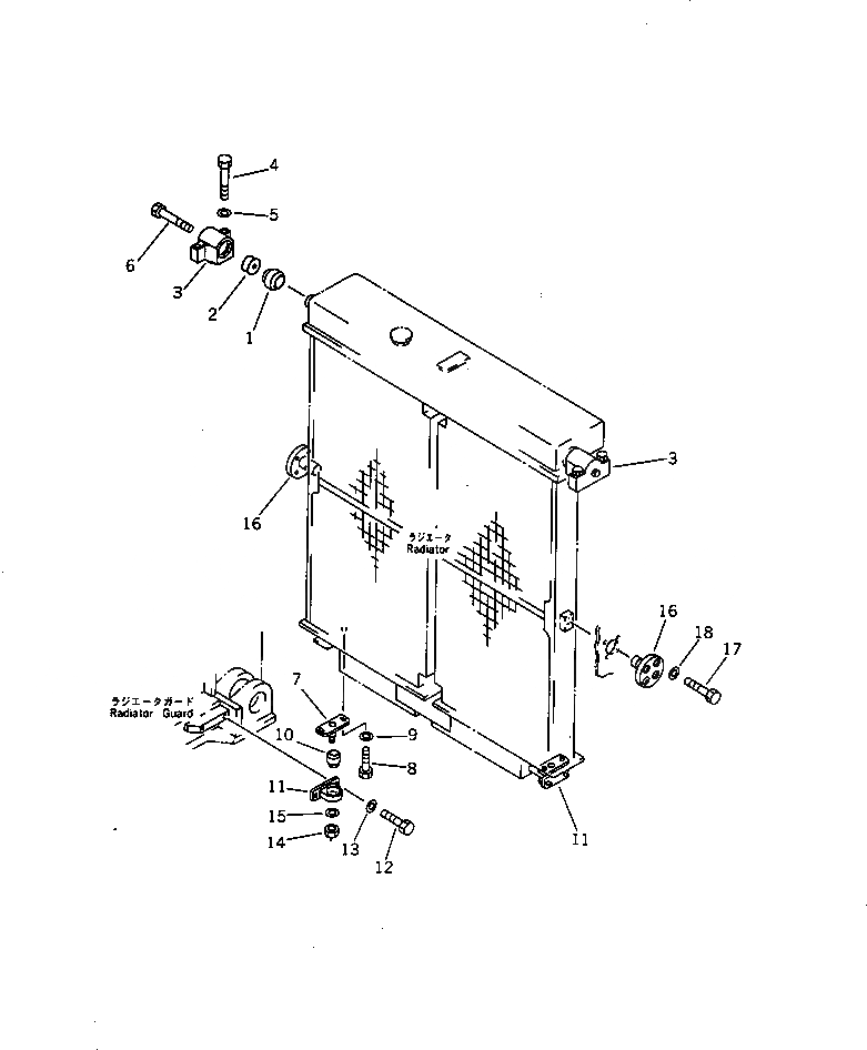
Запчасти Komatsu D575A-2 КРЕПЛЕНИЕ РАДИАТОРА(№-) СИСТЕМА ОХЛАЖДЕНИЯ

Схема запчастей Komatsu D575A-2 - КРЕПЛЕНИЕ РАДИАТОРА(№-) СИСТЕМА ОХЛАЖДЕНИЯ
FIT
1:1
100%

Артикул

Название

Примечание

Количество

1

19M-03-11410

CUSHION

SN: 10001-10011

2шт.

2

19M-03-11420

CUSHION

SN: 10001-10011

2шт.

3

19M-03-11431

BRACKET

SN: 10001-10011

2шт.

4

01011-62430

BOLT

SN: 10001-@

4шт.

5

01643-32460

WASHER

SN: 10001-@

4шт.

6

01010-81290

BOLT

SN: 10003-@

2шт.

6

01010-81285

BOLT

SN: 10001-10002

2шт.

7

19M-03-11480

PIN

SN: 10001-@

2шт.

8

01010-81230

BOLT

SN: 10001-@

4шт.

9

20R-30-21640

WASHER

SN: 10003-@

4шт.

9

0

WASHER

SN: 10001-10002

4шт.

10

19N-03-11440

CUSHION

SN: 10001-@

2шт.

11

19M-03-11450

BRACKET

SN: 10001-@

2шт.

12

01010-81230

BOLT

SN: 10001-@

4шт.

13

20R-30-21640

WASHER

SN: 10003-@

4шт.

13

0

WASHER

SN: 10001-10002

4шт.

14

01580-12419

NUT

SN: 10001-@

2шт.

15

01643-32460

WASHER

SN: 10001-@

2шт.

16

19M-03-11470

PIN

SN: 10001-@

2шт.

17

01010-81250

BOLT

SN: 10003-@

8шт.

17

01010-81240

BOLT

SN: 10001-10002

8шт.

18

130-43-64260

COLLAR

SN: 10001-@

8шт.

Выбрано товаров: 22