Запчасти Komatsu D575A-2 КЛАПАН РУЛЕВОГО УПРАВЛЕНИЯ (/) ГТР CONVERTOR¤ ТРАНСМИССИЯ¤ РУЛЕВ. УПРАВЛЕНИЕ И КОНЕЧНАЯ ПЕРЕДАЧА

Схема запчастей Komatsu D575A-2 - КЛАПАН РУЛЕВОГО УПРАВЛЕНИЯ (/) ГТР CONVERTOR¤ ТРАНСМИССИЯ¤ РУЛЕВ. УПРАВЛЕНИЕ И КОНЕЧНАЯ ПЕРЕДАЧА
FIT
1:1
100%

Артикул

Название

Примечание

Количество

|$2

19M-40-00012

STEERING VALVE ASS'Y

SN: 10019-UP

1шт.

|$3

0

STEERING VALVE ASS'Y

SN: 10011-10018

1шт.

|$4

0

STEERING VALVE ASS'Y

SN: 10001-10010

1шт.

|$$4

THESE ASSEMBLIES CONSIST OF ALL PARTS SHOWN IN FIGS.4501 TO 4503.

-1шт.

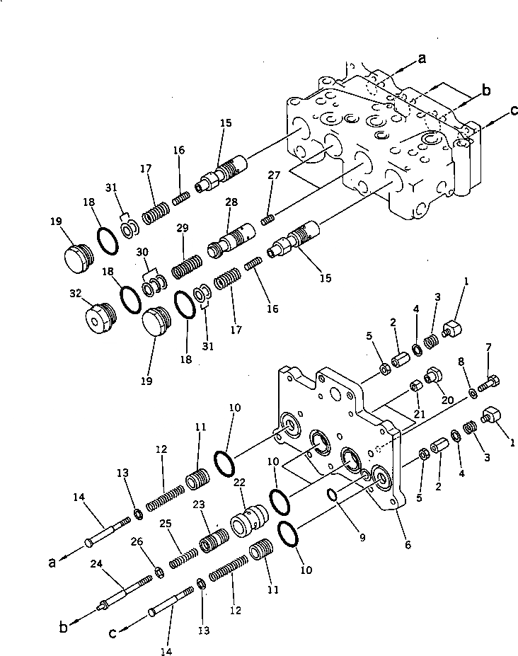
1

195-40-31420

BOLT

SN: 10001-UP

2шт.

2

195-40-31220

NUT

SN: 10001-UP

2шт.

3

195-40-41670

SPRING

SN: 10001-UP

2шт.

4

195-40-41660

SHIM, 1.5MM

SN: 10001-UP

2шт.

5

01580-10806

NUT

SN: 10001-UP

2шт.

6

195-40-41520

COVER

SN: 10001-UP

1шт.

7

01010-80830

BOLT

SN: 10001-UP

3шт.

8

01643-30823

WASHER

SN: 10001-UP

3шт.

9

07000-22018

O-RING

SN: 10001-UP

1шт.

10

07000-23040

O-RING

SN: 10001-UP

4шт.

11

195-40-31430

GUIDE

SN: 10001-UP

2шт.

12

195-40-31390

SPRING

SN: 10001-UP

2шт.

13

195-40-31480

GUIDE

SN: 10001-UP

2шт.

14

195-40-31450

SHAFT

SN: 10001-UP

2шт.

15

195-40-31470

VALVE

SN: 10001-UP

2шт.

16

19M-40-11160

PISTON

SN: 10001-UP

2шт.

17

195-40-31370

SPRING

SN: 10001-UP

2шт.

18

07002-23634

O-RING

SN: 10001-UP

4шт.

19

195-40-31360

PLUG

SN: 10001-UP

2шт.

20

195-40-31330

NUT

SN: 10001-UP

2шт.

21

195-40-31310

NUT

SN: 10001-UP

2шт.

22

195-40-31290

CYLINDER

SN: 10001-UP

2шт.

23

195-40-31350

GUIDE

SN: 10001-UP

2шт.

24

195-40-31280

SHAFT

SN: 10001-UP

2шт.

25

19M-40-11561

SPRING

SN: 10019-UP

2шт.

25

19M-40-11560

SPRING

SN: 10001-10018

2шт.

26

195-40-31480

GUIDE

SN: 10001-UP

2шт.

27

195-40-31540

PISTON

SN: 10001-UP

2шт.

28

195-40-31510

VALVE

SN: 10001-UP

2шт.

29

195-40-31140

SPRING

SN: 10001-UP

2шт.

30

195-40-31530

SHIM, 0.5MM

SN: 10001-UP

6шт.

31

195-40-31780

SHIM

SN: 10001-UP

4шт.

32

195-40-31520

PLUG

SN: 10001-UP

2шт.

Выбрано товаров: 37