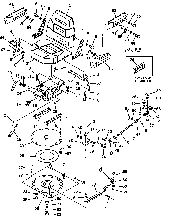
Запчасти Komatsu D575A-2 СИДЕНЬЕ ОПЕРАТОРА (СИДЕНЬЕ КОЖ.ЗАМ.) КАБИНА ОПЕРАТОРА И СИСТЕМА УПРАВЛЕНИЯ

Схема запчастей Komatsu D575A-2 - СИДЕНЬЕ ОПЕРАТОРА (СИДЕНЬЕ КОЖ.ЗАМ.) КАБИНА ОПЕРАТОРА И СИСТЕМА УПРАВЛЕНИЯ
FIT
1:1
100%

Артикул

Название

Примечание

Количество

1

195-57-21231

SEAT,BACK

SN: 10001-UP

1шт.

2

195-57-21241

SEAT,CUSHION

SN: 10001-UP

1шт.

3

195-57-21250

BRACKET,L.H.

SN: 10001-UP

1шт.

4

195-57-21260

BRACKET,R.H.

SN: 10001-UP

1шт.

5

01010-81040

BOLT

SN: 10001-UP

4шт.

6

01602-21030

WASHER,SPRING

SN: 10001-UP

4шт.

7

155-57-12182

BRACKET

SN: 10001-UP

1шт.

8

155-57-12191

LEVER

SN: 10001-UP

1шт.

9

01010-81020

BOLT

SN: 10001-UP

8шт.

10

01602-21030

WASHER,SPRING

SN: 10001-UP

8шт.

11

01010-81020

BOLT

SN: 10001-UP

4шт.

12

01602-21030

WASHER,SPRING

SN: 10001-UP

4шт.

13

195-57-21180

SUSPENSION ASS'Y

SN: 10001-UP

1шт.

14

155-57-12320

KNOB

SN: 10001-UP

1шт.

15

155-57-12330

DAMPER

SN: 10001-UP

1шт.

16

01580-11210

NUT

SN: 10001-UP

5шт.

17

01602-21236

WASHER,SPRING

SN: 10001-UP

5шт.

18

195-57-21211

ADJUSTER

SN: 10001-UP

1шт.

19

195-57-21221

ADJUSTER

SN: 10001-UP

1шт.

20

195-57-21190

LEVER

SN: 10001-UP

1шт.

21

04050-13015

PIN,COTTER

SN: 10001-UP

2шт.

22

04050-14025

PIN,COTTER

SN: 10001-UP

2шт.

23

04025-00432

PIN,SPRING

SN: 10001-UP

7шт.

24

09304-00835

KNOB

SN: 10001-UP

1шт.

25

195-57-21110

COVER

SN: 10001-UP

1шт.

26

198-57-11270

PLATE

SN: 10001-UP

1шт.

27

01010-81235

BOLT

SN: 10001-UP

7шт.

28

01643-31232

WASHER

SN: 10001-UP

7шт.

29

195-57-21120

BASE

SN: 10001-UP

1шт.

30

07177-05512

BUSHING

SN: 10001-UP

1шт.

31

01640-24860

WASHER

SN: 10001-UP

1шт.

32

01658-24823

WASHER

SN: 10001-UP

1шт.

33

01530-04812

NUT,LOCK

SN: 10001-UP

1шт.

34

01643-21232

WASHER

SN: 10001-UP

6шт.

35

01580-11210

NUT

SN: 10001-UP

6шт.

36

01643-31232

WASHER

SN: 10001-UP

4шт.

37

01580-11210

NUT

SN: 10001-UP

4шт.

38

195-57-21130

BRACKET

SN: 10001-UP

1шт.

39

09350-01615

BUSHING

SN: 10001-UP

2шт.

40

01641-21626

WASHER

SN: 10001-UP

1шт.

41

04064-01610

RING,SNAP

SN: 10001-UP

1шт.

42

01010-81225

BOLT

SN: 10001-UP

2шт.

43

01643-31232

WASHER

SN: 10001-UP

2шт.

44

195-57-21140

LEVER

SN: 10001-UP

1шт.

45

09304-01240

KNOB

SN: 10001-UP

1шт.

46

04245-40834

ROD

SN: 10001-UP

1шт.

47

01580-10806

NUT

SN: 10001-UP

2шт.

48

04211-20844

YOKE

SN: 10001-UP

2шт.

49

04205-10825

PIN

SN: 10001-UP

2шт.

50

01641-20812

WASHER

SN: 10001-UP

2шт.

51

04050-12012

PIN,COTTER

SN: 10001-UP

2шт.

52

198-57-11410

YOKE

SN: 10001-UP

1шт.

53

195-57-21170

LEVER

SN: 10001-UP

1шт.

54

01640-21223

WASHER

SN: 10001-UP

1шт.

55

04050-13020

PIN,COTTER

SN: 10001-UP

1шт.

56

198-57-11310

YOKE

SN: 10001-UP

2шт.

57

04205-11245

PIN

SN: 10001-UP

1шт.

58

198-57-11290

PIN

SN: 10001-UP

1шт.

59

04050-13020

PIN,COTTER

SN: 10001-UP

3шт.

60

01640-21223

WASHER

SN: 10001-UP

3шт.

61

144-43-14361

SPRING

SN: 10001-UP

1шт.

62

195-57-21150

REST,ARM¤ L.H.

SN: 10001-UP

1шт.

63

195-57-21160

REST,ARM¤ R.H.

SN: 10001-UP

1шт.

64

01010-81020

BOLT

SN: 10001-UP

4шт.

65

01643-31032

WASHER

SN: 10001-UP

4шт.

G-1

0

SEAT BELT GROUP

SN: 10001-UP

1шт.

|$$67

====================

-1шт.

66

09409-10001

BELT¤ LAP

SN: 10001-UP

1шт.

67

09409-20000

BELT¤ TETHER

SN: 10001-UP

2шт.

|$$70

====================

-1шт.

68

195-57-14250

HOOK,(TBG SPEC.)

SN: 10001-UP

1шт.

69

01010-81050

BOLT,(TBG SPEC.)

SN: 10001-UP

1шт.

70

01643-31032

WASHER,(TBG SPRC.)

SN: 10001-UP

1шт.

71

195-57-14260

SPACER,(TBG SPEC.)

SN: 10001-UP

1шт.

72

01010-81020

BOLT,(TBG SPEC.)

SN: 10001-UP

1шт.

73

01643-31032

WASHER,(TBG SPEC.)

SN: 10001-UP

1шт.

74

195-57-21451

BRACKET,(FOR DUAL TILT DOZER)

SN: 10001-UP

1шт.

Выбрано товаров: 77