Запчасти Komatsu D575A-2 ROPS ЧАСТИ КОРПУСА КАБИНА ОПЕРАТОРА И СИСТЕМА УПРАВЛЕНИЯ

Схема запчастей Komatsu D575A-2 - ROPS ЧАСТИ КОРПУСА КАБИНА ОПЕРАТОРА И СИСТЕМА УПРАВЛЕНИЯ
FIT
1:1
100%

Артикул

Название

Примечание

Количество

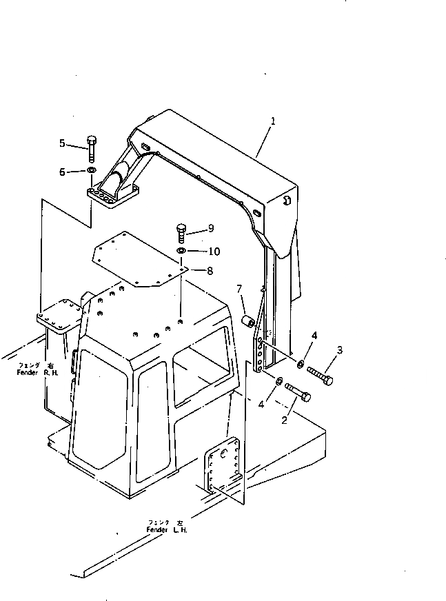
1

19M-978-1111

GUARD

SN: 10001-UP

1шт.

|1

19M-978-1210

GUARD,(FOR RADICON)

SN: 10034-10034

1шт.

2

01011-63610

BOLT

SN: 10001-UP

8шт.

3

19M-09-13170

BOLT

SN: 10001-UP

2шт.

4

01643-33690

WASHER

SN: 10001-UP

10шт.

5

01011-63625

BOLT

SN: 10001-UP

10шт.

6

01643-33690

WASHER

SN: 10001-UP

10шт.

7

19M-978-1120

PIN

SN: 10001-UP

1шт.

8

19M-979-3260

PLATE

SN: 10001-UP

1шт.

9

01010-61635

BOLT

SN: 10001-UP

8шт.

10

01643-31645

WASHER

SN: 10001-UP

8шт.

Выбрано товаров: 11