Запчасти Komatsu D575A-2 ПЕРЕДН. ЛЕНИВЕЦ(№-) ХОДОВАЯ

Схема запчастей Komatsu D575A-2 - ПЕРЕДН. ЛЕНИВЕЦ(№-) ХОДОВАЯ
FIT
1:1
100%

Артикул

Название

Примечание

Количество

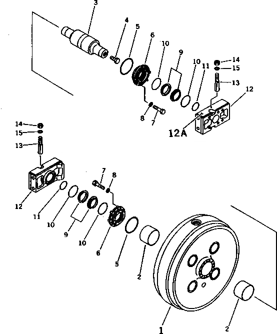
|1

19M-30-00012

FRONT IDLER ASS'Y

SN: 10033-UP

2шт.

|1

0

FRONT IDLER ASS'Y

SN: 10012-10032

2шт.

1

19M-30-17110

IDLER

SN: 10012-UP

1шт.

2

19M-30-13221

BUSHING

SN: 10001-UP

2шт.

3

19M-30-13152

SHAFT

SN: 10001-UP

1шт.

4

07052-31624

PLUG

SN: 10001-UP

1шт.

5

19M-30-13180

O-RING

SN: 10001-UP

2шт.

6

19M-30-13301

RETAINER ASS'Y

SN: 10001-UP

2шт.

7

01010-61650

BOLT

SN: 10001-UP

28шт.

8

01643-31645

WASHER

SN: 10001-UP

28шт.

|9

198-30-00073

FLOATING SEAL ASS'Y

SN: 10001-UP

2шт.

9

198-30-00082

SEAL RING ASS'Y

SN: 10012-UP

1шт.

|9

0

RING,SEAL

SN: 10001-UP

2шт.

10

170-27-00081

O-RING ASS'Y

SN: 10001-UP

1шт.

|10

154-27-12240

O-RING

SN: 10001-UP

2шт.

11

07000-15105

O-RING

SN: 10001-UP

2шт.

12

19M-30-13402

SUPPORT ASS'Y

SN: 10033-UP

2шт.

|12

19M-30-13401

SUPPORT ASS'Y

SN: 10001-10032

2шт.

12A

19M-30-13422

PLATE (WELDED)

SN: 10033-UP

2шт.

|12A

19M-30-13421

PLATE (WELDED)

SN: 10001-10032

2шт.

13

19M-30-13440

BOLT

SN: 10001-UP

2шт.

14

01580-12218

NUT

SN: 10001-UP

2шт.

15

01643-32260

WASHER

SN: 10001-UP

2шт.

Выбрано товаров: 23