Запчасти Komatsu D575A-2 КОНТРОЛЬ КЛАПАН ХОДОВАЯ

Схема запчастей Komatsu D575A-2 - КОНТРОЛЬ КЛАПАН ХОДОВАЯ
FIT
1:1
100%

Артикул

Название

Примечание

Количество

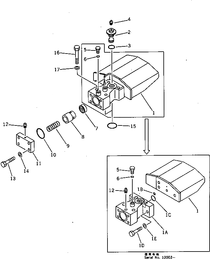
|1

19M-30-00062

VALVE ASS'Y

SN: 10043-UP

2шт.

|1

19M-30-00061

VALVE ASS'Y

SN: 10003-10042

2шт.

|1

0

VALVE ASS'Y

SN: 10001-10002

2шт.

1

19M-30-14611

VALVE

SN: 10003-UP

1шт.

|1

19M-30-14610

VALVE

SN: 10001-10002

1шт.

1A

19M-30-14661

BLOCK

SN: 10043-UP

2шт.

1A

19M-30-14660

BLOCK

SN: 10003-10042

1шт.

1B

07000-11009

O-RING

SN: 10003-UP

1шт.

1C

07000-13022

O-RING

SN: 10003-UP

1шт.

1D

07372-51255

BOLT

SN: 10003-UP

3шт.

1E

01643-51232

WASHER

SN: 10003-UP

3шт.

2

19M-30-14640

PLUG

SN: 10001-UP

1шт.

3

07002-12434

O-RING

SN: 10001-UP

1шт.

4

07042-20108

PLUG

SN: 10001-UP

1шт.

5

15R-62-13820

BOLT

SN: 10001-UP

1шт.

6

07002-11223

O-RING

SN: 10001-UP

1шт.

7

19M-30-14620

SEAT

SN: 10001-UP

1шт.

8

07750-04053

VALVE

SN: 10001-UP

1шт.

9

07750-03584

SPRING

SN: 10001-UP

1шт.

10

07000-F3048

O-RING

SN: 10001-UP

1шт.

11

19M-30-14631

PLATE

SN: 10015-UP

1шт.

|11

19M-30-14630

PLATE

SN: 10001-10014

1шт.

12

07042-20108

PLUG

SN: 10001-UP

2шт.

13

01010-81245

BOLT

SN: 10001-UP

4шт.

14

01643-31232

WASHER

SN: 10001-UP

4шт.

15

07000-F3038

O-RING

SN: 10026-UP

4шт.

|15

0

O-RING

SN: 10001-10025

4шт.

16

01010-81280

BOLT

SN: 10001-UP

8шт.

17

01643-31232

WASHER

SN: 10001-UP

8шт.

Выбрано товаров: 29