Запчасти Komatsu D575A-2 ЦИЛИНДР ПОДЪЕМА ОТВАЛА (/) ОСНОВН. КОМПОНЕНТЫ И РЕМКОМПЛЕКТЫ

Схема запчастей Komatsu D575A-2 - ЦИЛИНДР ПОДЪЕМА ОТВАЛА (/) ОСНОВН. КОМПОНЕНТЫ И РЕМКОМПЛЕКТЫ
FIT
1:1
100%

Артикул

Название

Примечание

Количество

G-1

0

CYLINDER GROUP,BLADE LIFT¤ L.H.

SN: 10043-UP

1шт.

G-1

0

CYLINDER GROUP,BLADE LIFT¤ L.H.

SN: 10042-10042

1шт.

G-1

0

CYLINDER GROUP,BLADE LIFT¤ L.H.

SN: 10017-10041

1шт.

G-1

0

CYLINDER GROUP,BLADE LIFT¤ L.H.

SN: 10003-10016

1шт.

G-1

0

CYLINDER GROUP,BLADE LIFT¤ L.H.

SN: 10001-10002

1шт.

G-2

0

CYLINDER GROUP,BLADE LIFT¤ R.H.

SN: 10043-UP

1шт.

G-2

0

CYLINDER GROUP,BLADE LIFT¤ R.H.

SN: 10042-10042

1шт.

G-2

0

CYLINDER GROUP,BLADE LIFT¤ R.H.

SN: 10017-10041

1шт.

G-2

0

CYLINDER GROUP,BLADE LIFT¤ R.H.

SN: 10003-10016

1шт.

G-2

0

CYLINDER GROUP,BLADE LIFT¤ R.H.

SN: 10001-10002

1шт.

|$$11

====================

-1шт.

|1

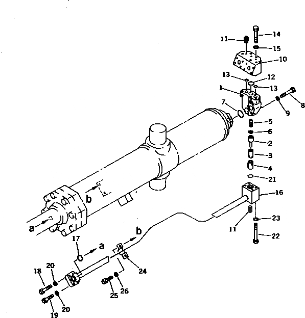
19M-63-14001

VALVE ASS'Y,QUICK DROP

SN: 10001-UP

1шт.

1

0

BODY

SN: 10001-UP

1шт.

2

0

VALVE

SN: 10001-UP

1шт.

3

0

VALVE

SN: 10001-UP

1шт.

4

198-63-14160

COLLAR

SN: 10001-UP

1шт.

5

19M-61-14550

SPRING

SN: 10001-UP

1шт.

6

01642-21216

WASHER

SN: 10001-UP

1шт.

7

07000-12055

O-RING (KIT)

SN: 10001-UP

1шт.

8

01011-81615

BOLT

SN: 10001-UP

2шт.

9

01643-31645

WASHER

SN: 10001-UP

2шт.

10

19M-61-14870

BLOCK

SN: 10017-UP

1шт.

|10

19M-63-12550

BLOCK

SN: 10003-10016

1шт.

|10

19M-61-14450

BLOCK

SN: 10001-10002

1шт.

11

07042-20108

PLUG

SN: 10001-10002

3шт.

12

07000-13045

O-RING (KIT)

SN: 10001-UP

1шт.

13

07000-13038

O-RING (KIT)

SN: 10043-UP

2шт.

|13

0

O-RING (KIT)

SN: 10026-10042

2шт.

|13

0

O-RING (KIT)

SN: 10001-10025

2шт.

14

01011-81210

BOLT

SN: 10001-UP

5шт.

15

01643-31232

WASHER

SN: 10003-UP

5шт.

|15

0

WASHER,SPRING

SN: 10001-10002

5шт.

16

19M-63-12581

TUBE,L.H.

SN: 10003-UP

1шт.

|16

19M-63-12580

TUBE,L.H.

SN: 10001-10002

1шт.

|16

19M-63-12681

TUBE,R.H.

SN: 10003-UP

1шт.

|16

19M-63-12680

TUBE,R.H.

SN: 10001-10002

1шт.

17

07000-13035

O-RING (KIT)

SN: 10001-UP

1шт.

18

01010-81055

BOLT

SN: 10001-UP

2шт.

19

01010-81050

BOLT

SN: 10001-UP

2шт.

20

01643-31032

WASHER

SN: 10003-UP

4шт.

|20

0

WASHER,SPRING

SN: 10001-10002

4шт.

21

07000-13048

O-RING (KIT)

SN: 10043-UP

1шт.

|21

0

O-RING (KIT)

SN: 10026-10042

1шт.

|21

0

O-RING (KIT)

SN: 10001-10025

1шт.

22

01011-81020

BOLT

SN: 10001-UP

4шт.

23

01643-31032

WASHER

SN: 10003-UP

4шт.

|23

0

WASHER,SPRING

SN: 10001-10002

4шт.

24

07282-03411

CLAMP

SN: 10001-UP

1шт.

25

01010-81020

BOLT

SN: 10001-UP

2шт.

26

01643-31032

WASHER

SN: 10003-UP

2шт.

|26

01602-21030

WASHER,SPRING

SN: 10001-10002

2шт.

|$$52

====================

-1шт.

|K

707-98-75442

SERVICE KIT

SN: 10043-UP

2шт.

|K

707-98-75441

SERVICE KIT

SN: 10042-10042

2шт.

|K

707-98-75420

SERVICE KIT

SN: 10003-10041

2шт.

|K

707-98-75410

SERVICE KIT

SN: 10001-10002

2шт.

Выбрано товаров: 56