Качественные детали и логистика
Оригинальные и аналоговые запчасти с доставкой по России, Казахстану и Беларуси
©2022 PartSell ООО "Система" ИНН 2463123282 ОГРН 1212400004838
Центральный офис: г. Красноярск, Академика Киренского, д.87, пом.4
Телефон: 8 (800) 777-65-74 Email: zakaz@partsell.ru
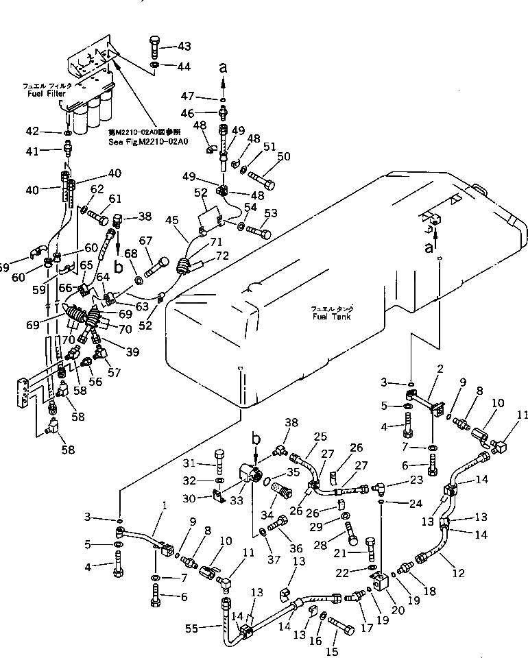
ТОПЛИВОПРОВОД.(№-)
№
Артикул
Название
Примечание
Количество
1
19M-04-11470
TUBE
SN: 10001-10042
1шт.
2
19M-04-11461
SN: 10001-@
3
07000-13028
O-RING
2шт.
4
01010-81050
BOLT
4шт.
5
01643-31032
WASHER
6
01010-81020
7
8
19M-04-11490
UNION
9
07002-13334
10
19M-04-11200
VALVE
11
582-35-11410
ELBOW
12
07102-21014
HOSE
13
07094-11024
CLAMP
8шт.
14
07095-01035
CUSHION
15
01010-81275
16
01643-31232
17
07236-11034
18
07230-11034
19
20
19M-04-11480
TEE
21
01010-81225
22
23
07235-10628
24
07002-12434
25
07102-20608
26
07094-10620
27
07095-00628
28
01010-81270
29
30
19M-04-11510
BRACKET
31
01010-81230
32
33
198-04-11231
CASE,STRAINER
34
195-04-11150
STRAINER
35
07000-13065
36
37
38
578-41-17120
39
07102-20610
40
07102-20509
41
198-49-16780
NIPPLE
42
07005-02216
GASKET
43
01010-61435
6шт.
44
01643-31445
45
07102-20531
46
07230-20522
47
48
07094-00518
49
07095-00524
50
01010-81265
51
52
08036-02514
CLIP
3шт.
53
01010-81220
54
55
07102-21015
56
6162-13-8990
JOINT
57
575-41-17110
58
566-35-42470
59
07094-20518
60
61
62
63
64
65
07094-00620
66
67
01011-81215
68
69
777-06-12550
SN: 10003-10042
70
08034-00519
BAND
71
205-62-72140
COVER
72
Выбрано товаров: 0