Запчасти Komatsu D575A-2 КОМПРЕССОР И КОНДЕНСАТОР КОМПОНЕНТЫ(№-) КОМПОНЕНТЫ ДВИГАТЕЛЯ

Схема запчастей Komatsu D575A-2 - КОМПРЕССОР И КОНДЕНСАТОР КОМПОНЕНТЫ(№-) КОМПОНЕНТЫ ДВИГАТЕЛЯ
FIT
1:1
100%

Артикул

Название

Примечание

Количество

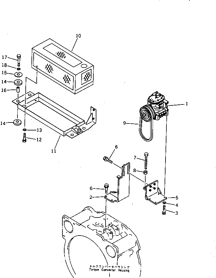
1

198-911-4501

COMPRESSOR ASS'Y

SN: 10001-10011

1шт.

|2

19M-979-1111

BRACKET

SN: 10001-10011

1шт.

3

01010-80835

BOLT

SN: 10001-10011

4шт.

4

01602-20825

WASHER,SPRING

SN: 10001-10011

4шт.

5

19M-979-1121

BRACKET

SN: 10001-10011

1шт.

6

01435-01230

BOLT

SN: 10001-10011

9шт.

7

01016-51280

BOLT

SN: 10001-10011

1шт.

8

01580-11210

NUT

SN: 10001-10011

1шт.

9

04120-21731

V-BELT

SN: 10001-10011

1шт.

10

145-Z79-5301

CONDENSER ASS'Y

SN: 10001-10011

1шт.

11

19M-979-2780

BRACKET

SN: 10001-10011

1шт.

12

01010-81020

BOLT

SN: 10001-10011

4шт.

13

01643-31032

WASHER

SN: 10001-10011

4шт.

14

205-03-62680

CUSHION

SN: 10001-10011

8шт.

15

205-03-71340

PLATE

SN: 10001-10011

4шт.

16

20Y-03-11220

COLLAR

SN: 10001-10011

4шт.

17

01010-81260

BOLT

SN: 10001-10011

4шт.

18

01643-31232

WASHER

SN: 10001-10011

4шт.

Выбрано товаров: 18