Запчасти Komatsu D575A-2 ПОЛ Э/ПРОВОДКА (РАБОЧ. ОСВЕЩЕНИЕ) ЭЛЕКТРИКА

Схема запчастей Komatsu D575A-2 - ПОЛ Э/ПРОВОДКА (РАБОЧ. ОСВЕЩЕНИЕ) ЭЛЕКТРИКА
FIT
1:1
100%

Артикул

Название

Примечание

Количество

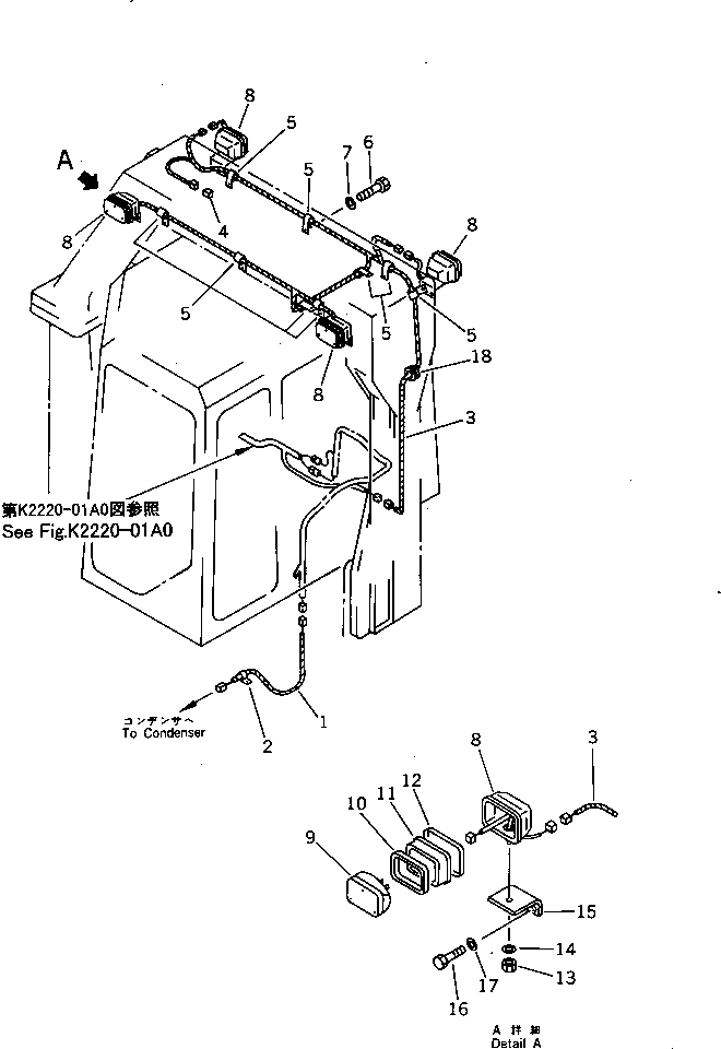
1

19M-06-18180

WIRING HARNESS

SN: 10001-UP

1шт.

2

08036-01014

CLIP

SN: 10001-UP

2шт.

3

19M-06-17881

WIRING HARNESS

SN: 10001-UP

1шт.

4

08056-00171

CONNECTOR

SN: 10001-UP

4шт.

5

08036-01414

CLIP

SN: 10001-UP

9шт.

6

01010-81220

BOLT

SN: 10001-UP

8шт.

7

01643-31232

WASHER

SN: 10001-UP

8шт.

8

203-06-56140

LAMP ASS'Y

SN: 10001-UP

4шт.

9

22W-06-12170

BULB¤ 24V

SN: 10001-UP

1шт.

10

203-06-56180

RING

SN: 10001-UP

1шт.

11

22W-06-12290

CUSHION

SN: 10001-UP

1шт.

12

203-06-56190

RING

SN: 10001-UP

1шт.

13

01582-11411

NUT

SN: 10001-UP

1шт.

14

01643-31445

WASHER

SN: 10001-UP

1шт.

15

19M-06-17920

BRACKET

SN: 10001-UP

4шт.

16

01010-81225

BOLT

SN: 10001-UP

12шт.

17

01643-31232

WASHER

SN: 10001-UP

12шт.

18

08037-03614

GROMMET

SN: 10001-UP

1шт.

Выбрано товаров: 18