Запчасти Komatsu D575A-2 КЛАПАН РУЛЕВОГО УПРАВЛЕНИЯ (/) ГТР CONVERTOR¤ ТРАНСМИССИЯ¤ РУЛЕВ. УПРАВЛЕНИЕ И КОНЕЧНАЯ ПЕРЕДАЧА

Схема запчастей Komatsu D575A-2 - КЛАПАН РУЛЕВОГО УПРАВЛЕНИЯ (/) ГТР CONVERTOR¤ ТРАНСМИССИЯ¤ РУЛЕВ. УПРАВЛЕНИЕ И КОНЕЧНАЯ ПЕРЕДАЧА
FIT
1:1
100%

Артикул

Название

Примечание

Количество

|1

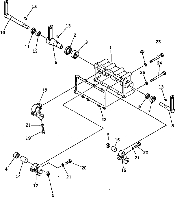
19M-40-00012

STEERING VALVE ASS'Y

SN: 10019-UP

1шт.

|1

0

STEERING VALVE ASS'Y

SN: 10011-10018

1шт.

|1

0

STEERING VALVE ASS'Y

SN: 10001-10010

1шт.

|$$4

THESE ASSEMBLIES CONSIST OF ALL PARTS SHOWN IN FIGS.4501 TO 4503.

-1шт.

1

195-40-41511

COVER

SN: 10001-UP

1шт.

2

195-40-41590

SEAL,OIL

SN: 10001-UP

1шт.

3

06120-04020

BEARING,NEEDLE

SN: 10001-UP

1шт.

4

06120-03020

BEARING,NEEDLE

SN: 10001-UP

1шт.

5

06120-01612

BEARING,NEEDLE

SN: 10001-UP

2шт.

6

06120-02216

BEARING,NEEDLE

SN: 10001-UP

1шт.

7

175-40-31270

SEAL,OIL

SN: 10001-UP

1шт.

8

19M-40-11440

LEVER,NEEDLE

SN: 10001-UP

1шт.

9

19M-40-11450

LEVER

SN: 10001-UP

1шт.

10

19M-40-11460

LEVER

SN: 10001-UP

1шт.

11

175-40-31270

SEAL,OIL

SN: 10001-UP

1шт.

12

06120-02216

BEARING,NEEDLE

SN: 10001-UP

1шт.

13

04010-00516

KEY

SN: 10001-UP

3шт.

14

195-40-41640

SPACER

SN: 10001-UP

1шт.

15

195-40-41650

SPACER

SN: 10001-UP

1шт.

16

195-40-41700

LEVER ASS'Y,L.H.

SN: 10001-UP

1шт.

17

195-40-41600

LEVER ASS'Y

SN: 10001-UP

1шт.

18

195-40-41800

LEVER ASS'Y,R.H.

SN: 10001-UP

1шт.

19

01010-80835

BOLT

SN: 10001-UP

1шт.

20

01010-80840

BOLT

SN: 10001-UP

2шт.

21

01643-30823

WASHER

SN: 10001-UP

3шт.

22

195-40-41531

GASKET

SN: 10011-UP

1шт.

|22

0

GASKET

SN: 10001-10010

1шт.

23

6132-11-6460

BOLT

SN: 10001-UP

4шт.

24

6141-64-7170

BOLT

SN: 10001-UP

5шт.

25

01643-30823

WASHER

SN: 10001-UP

9шт.

Выбрано товаров: 30