Запчасти Komatsu SA12V170-1D-A МАСЛООХЛАДИТЕЛЬ(№7-) ДВИГАТЕЛЬ

Схема запчастей Komatsu SA12V170-1D-A - МАСЛООХЛАДИТЕЛЬ(№7-) ДВИГАТЕЛЬ
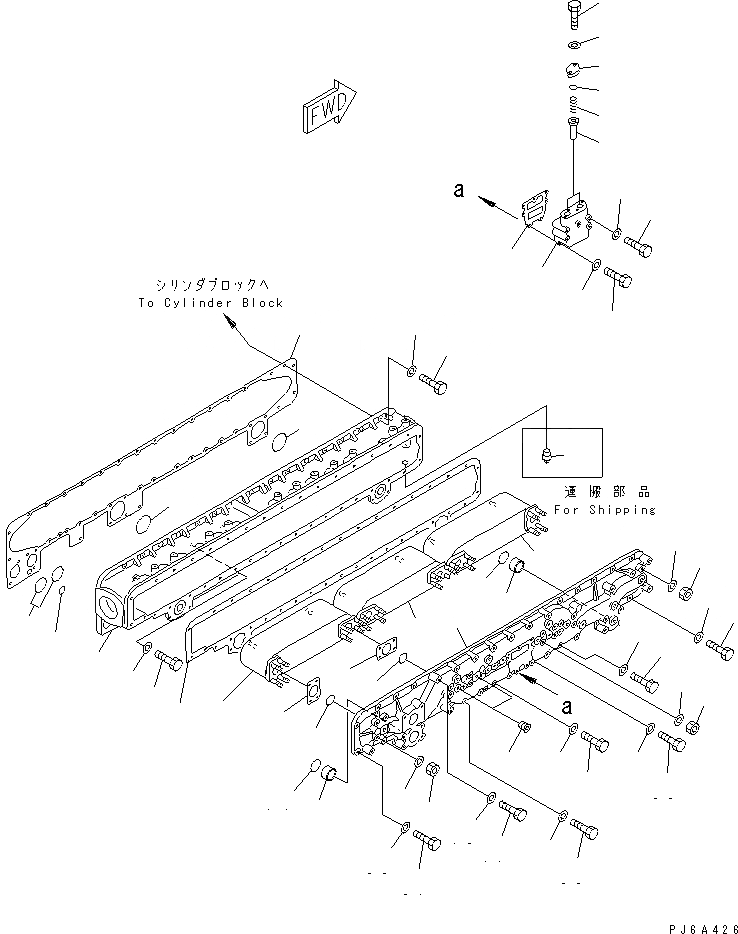
1
2
3
4
5
6
6
7
7
8
8
8
9
9
9
10
11
12
13
13
14
14
15
16
16
17
18
18
18
18
19
20
21
22
23
24
25
27
28
29
30
30
31
32
33
34
34
35
36
37
38
39
39
39
39
39
40
1
2
3
4
5
6
6
7
7
8
8
8
9
9
9
10
11
12
13
13
14
14
15
16
16
17
18
18
18
18
19
20
21
22
23
24
25
27
28
29
30
30
31
32
33
34
34
35
36
37
38
39
39
39
39
39
40
FIT
1:1
100%

Артикул

Название

Примечание

Количество

|$1

6166-61-2600

OIL COOLER ASS'Y

SN: 10057-UP

1шт.

1

6165-61-2213

COVER

SN: 10057-UP

1шт.

2

07043-70617

PLUG

SN: 10057-UP

15шт.

3

6166-61-2310

ELEMENT

SN: 10057-UP

1шт.

4

6166-61-2320

ELEMENT

SN: 10057-UP

1шт.

5

6166-61-2330

ELEMENT

SN: 10057-UP

1шт.

6

6165-61-2371

PACKING

SN: 10057-UP

6шт.

7

6165-61-2390

O-RING

SN: 10057-UP

6шт.

8

01580-00806

NUT

SN: 10057-UP

24шт.

9

01640-00816

WASHER

SN: 10057-UP

24шт.

10

6166-61-2520

HOUSING

SN: 10057-UP

1шт.

11

07042-70617

PLUG,(FOR SHIPPING)

SN: 10057-UP

1шт.

12

6165-61-2253

GASKET

SN: 10057-UP

1шт.

13

6166-61-2580

RETAINER

SN: 10057-UP

2шт.

14

07000-73050

O-RING

SN: 10180-UP

2шт.

14

0

O-RING

SN: 10057-10179

2шт.

15

01010-81030

BOLT

SN: 10057-UP

12шт.

16

01010-81045

BOLT

SN: 10057-UP

2шт.

17

01010-81060

BOLT

SN: 10057-UP

7шт.

18

01643-31032

WASHER

SN: 10057-UP

21шт.

|$23

6164-61-5500

BYPASS VALVE ASS'Y

SN: 10057-UP

1шт.

19

0

VALVE

SN: 10057-UP

1шт.

20

6162-63-5770

PLUNGER

SN: 10057-UP

2шт.

21

6164-61-5750

SPRING

SN: 10057-UP

2шт.

22

6162-63-5730

PLATE

SN: 10057-UP

2шт.

23

07000-63030

O-RING

SN: 10057-UP

2шт.

24

01010-80825

BOLT

SN: 10057-UP

4шт.

25

01640-00816

WASHER

SN: 10057-UP

4шт.

26

6110-25-6340

SHIM ASS'Y,(NOT SHOWN)

SN: 10057-UP

-2шт.

27

6165-61-5821

GASKET

SN: 10057-UP

1шт.

28

01010-80875

BOLT

SN: 10057-UP

5шт.

29

01010-80820

BOLT

SN: 10057-UP

2шт.

30

01640-00816

WASHER

SN: 10057-UP

7шт.

31

6165-21-6472

GASKET

SN: 10057-UP

1шт.

32

07000-63042

O-RING

SN: 10057-UP

2шт.

33

07000-32015

O-RING

SN: 10057-UP

1шт.

34

07000-72060

O-RING

SN: 10180-UP

2шт.

34

0

O-RING

SN: 10057-10179

2шт.

35

01010-81035

BOLT

SN: 10057-UP

21шт.

36

700-26-11122

BOLT

SN: 10057-UP

9шт.

37

01011-81075

BOLT

SN: 10057-UP

3шт.

38

01011-81085

BOLT

SN: 10057-UP

1шт.

39

01643-31032

WASHER

SN: 10057-UP

44шт.

40

01010-81030

BOLT

SN: 10057-UP

7шт.

|$1

6166-61-2600

OIL COOLER ASS'Y

SN: 10057-UP

1шт.

1

6165-61-2213

COVER

SN: 10057-UP

1шт.

2

07043-70617

PLUG

SN: 10057-UP

15шт.

3

6166-61-2310

ELEMENT

SN: 10057-UP

1шт.

4

6166-61-2320

ELEMENT

SN: 10057-UP

1шт.

5

6166-61-2330

ELEMENT

SN: 10057-UP

1шт.

6

6165-61-2371

PACKING

SN: 10057-UP

6шт.

7

6165-61-2390

O-RING

SN: 10057-UP

6шт.

8

01580-00806

NUT

SN: 10057-UP

24шт.

9

01640-00816

WASHER

SN: 10057-UP

24шт.

10

6166-61-2520

HOUSING

SN: 10057-UP

1шт.

11

07042-70617

PLUG,(FOR SHIPPING)

SN: 10057-UP

1шт.

12

6165-61-2253

GASKET

SN: 10057-UP

1шт.

13

6166-61-2580

RETAINER

SN: 10057-UP

2шт.

14

07000-73050

O-RING

SN: 10180-UP

2шт.

14

0

O-RING

SN: 10057-10179

2шт.

15

01010-81030

BOLT

SN: 10057-UP

12шт.

16

01010-81045

BOLT

SN: 10057-UP

2шт.

17

01010-81060

BOLT

SN: 10057-UP

7шт.

18

01643-31032

WASHER

SN: 10057-UP

21шт.

|$23

6164-61-5500

BYPASS VALVE ASS'Y

SN: 10057-UP

1шт.

19

0

VALVE

SN: 10057-UP

1шт.

20

6162-63-5770

PLUNGER

SN: 10057-UP

2шт.

21

6164-61-5750

SPRING

SN: 10057-UP

2шт.

22

6162-63-5730

PLATE

SN: 10057-UP

2шт.

23

07000-63030

O-RING

SN: 10057-UP

2шт.

24

01010-80825

BOLT

SN: 10057-UP

4шт.

25

01640-00816

WASHER

SN: 10057-UP

4шт.

26

6110-25-6340

SHIM ASS'Y,(NOT SHOWN)

SN: 10057-UP

-2шт.

27

6165-61-5821

GASKET

SN: 10057-UP

1шт.

28

01010-80875

BOLT

SN: 10057-UP

5шт.

29

01010-80820

BOLT

SN: 10057-UP

2шт.

30

01640-00816

WASHER

SN: 10057-UP

7шт.

31

6165-21-6472

GASKET

SN: 10057-UP

1шт.

32

07000-63042

O-RING

SN: 10057-UP

2шт.

33

07000-32015

O-RING

SN: 10057-UP

1шт.

34

07000-72060

O-RING

SN: 10180-UP

2шт.

34

0

O-RING

SN: 10057-10179

2шт.

35

01010-81035

BOLT

SN: 10057-UP

21шт.

36

700-26-11122

BOLT

SN: 10057-UP

9шт.

37

01011-81075

BOLT

SN: 10057-UP

3шт.

38

01011-81085

BOLT

SN: 10057-UP

1шт.

39

01643-31032

WASHER

SN: 10057-UP

44шт.

40

01010-81030

BOLT

SN: 10057-UP

7шт.

Выбрано товаров: 88