Запчасти Komatsu D58E-1 РЫХЛИТЕЛЬ РАМА РАБОЧЕЕ ОБОРУДОВАНИЕ

Схема запчастей Komatsu D58E-1 - РЫХЛИТЕЛЬ РАМА РАБОЧЕЕ ОБОРУДОВАНИЕ
FIT
1:1
100%

Артикул

Название

Примечание

Количество

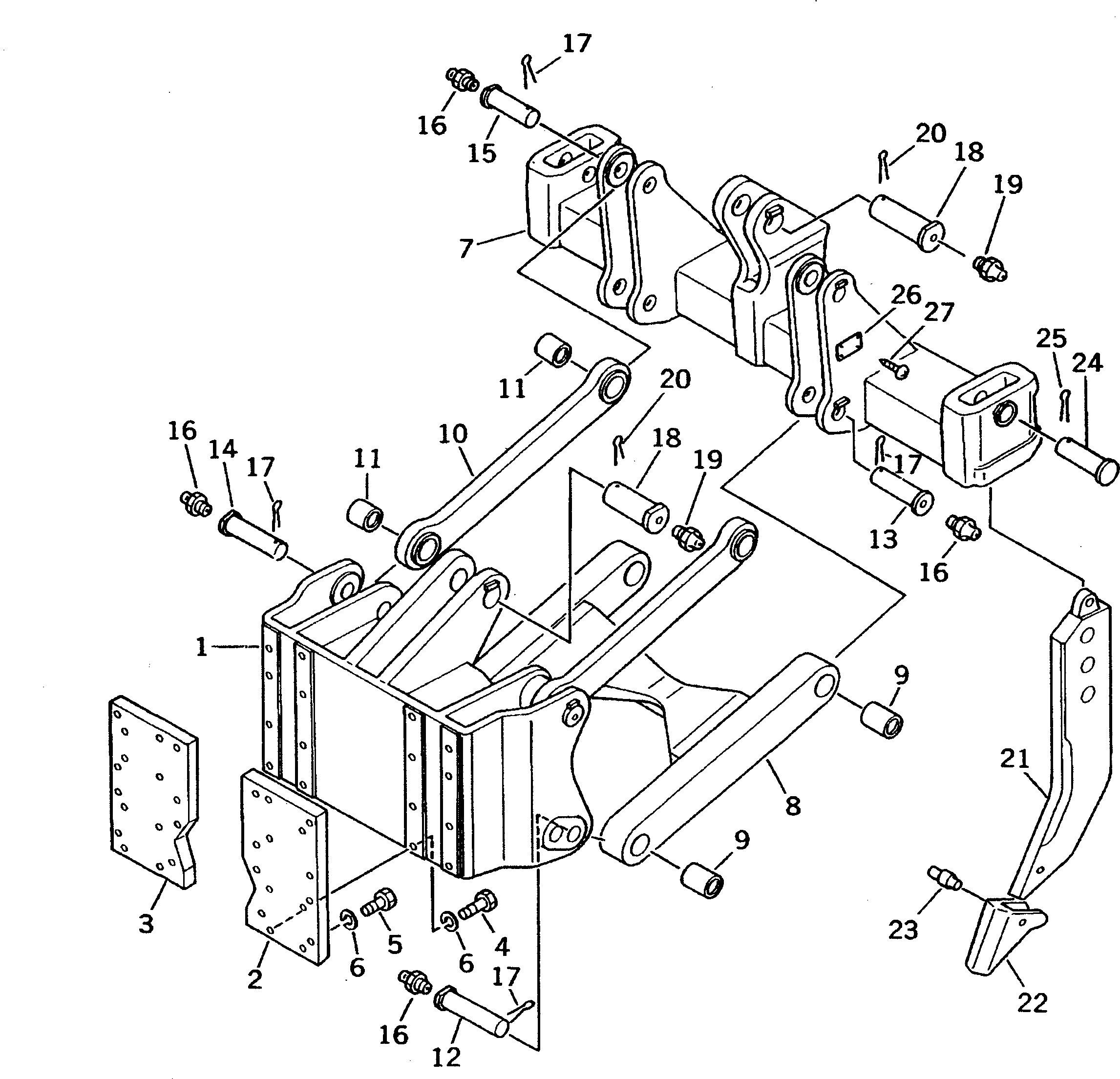
1

130-78-31110

SUPPORT

SN: 80888-UP

1шт.

2

130-78-31120

PLATE,L.H.

SN: 80888-UP

1шт.

3

130-78-31130

PLATE,R.H.

SN: 80888-UP

1шт.

4

01010-82475

BOLT

SN: 80888-UP

16шт.

5

01010-82455

BOLT

SN: 80888-UP

16шт.

6

01643-32460

WASHER,SPRING

SN: 80888-UP

32шт.

7

131-78-61110

BEAM

SN: 81823-UP

1шт.

7

0

BEAM

SN: 80888-81822

1шт.

8

135-78-31121

LINK

SN: 80888-UP

1шт.

9

141-78-11321

BUSHING

SN: 80888-UP

4шт.

10

131-78-31170

LINK

SN: 80888-UP

2шт.

11

141-78-11311

BUSHING

SN: 80888-UP

4шт.

12

130-78-31140

PIN

SN: 80888-UP

2шт.

13

131-78-31221

PIN

SN: 80888-UP

2шт.

14

130-78-31150

PIN

SN: 80888-UP

2шт.

15

131-78-31231

PIN

SN: 80888-UP

2шт.

16

07020-00000

FITTING,GREASE

SN: 80888-UP

8шт.

17

04050-10070

PIN,COTTER

SN: 80888-UP

8шт.

18

131-78-31270

PIN

SN: 80888-UP

2шт.

19

07020-00000

FITTING,GREASE

SN: 80888-UP

2шт.

20

04050-10085

PIN,COTTER

SN: 80888-UP

2шт.

|$22

131-78-00143

SHANK ASS'Y

SN: 80888-UP

3шт.

21

131-78-61180

SHANK

SN: 80888-UP

1шт.

22

131-78-31190

POINT

SN: 80888-UP

1шт.

23

09244-02488

PIN

SN: 80888-UP

1шт.

24

131-78-31250

PIN

SN: 80888-UP

1шт.

25

04050-10070

PIN,COTTER

SN: 80888-UP

1шт.

26

09601-00835

PLATE, NAME,(LIMITED SUPPLY)

SN: 80888-UP

1шт.

27

04418-13060

SCREW

SN: 80888-UP

4шт.

Выбрано товаров: 29