Запчасти Komatsu D58E-1 ГИДР. БАК. AND КЛАПАН (/) (ДЛЯ ПОВОРОТНОГО ОТВАЛА) ОСНОВН. КОМПОНЕНТЫ И РЕМКОМПЛЕКТЫ

Схема запчастей Komatsu D58E-1 - ГИДР. БАК. AND КЛАПАН (/) (ДЛЯ ПОВОРОТНОГО ОТВАЛА) ОСНОВН. КОМПОНЕНТЫ И РЕМКОМПЛЕКТЫ
FIT
1:1
100%

Артикул

Название

Примечание

Количество

|$2

130-Z20-5401

TANK VALVE ASS'Y

SN: 82228-UP

1шт.

|$3

130-Z20-5400

TANK VALVE ASS'Y

SN: 80888-82227

1шт.

|$$3

THESE ASSEMBLIES CONSIST OF ALL PARTS SHOWN IN FIGS.Y1663-01A0 TO Y1663-04A0.

-1шт.

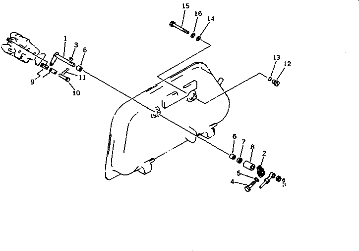
1

130-Z20-5420

LEVER

SN: 80888-UP

1шт.

2

130-60-71110

LEVER

SN: 80888-UP

1шт.

3

04010-00519

KEY

SN: 80888-UP

1шт.

4

01010-50830

BOLT

SN: 80888-UP

1шт.

5

01602-20825

WASHER,SPRING

SN: 80888-UP

1шт.

6

06120-02016

BEARING,NEEDLE

SN: 80888-UP

2шт.

7

130-09-11450

SEAL,OIL

SN: 80888-UP

1шт.

8

130-60-63170

COLLAR

SN: 80888-UP

1шт.

9

141-60-32170

YOKE

SN: 80888-UP

2шт.

10

04205-01028

PIN

SN: 80888-UP

2шт.

11

04050-03015

PIN,COTTER

SN: 80888-UP

2шт.

12

140-60-13350

PLUG

SN: 80888-UP

1шт.

13

07000-03020

O-RING

SN: 80888-UP

1шт.

14

140-60-13360

COLLAR

SN: 80888-UP

1шт.

15

01010-31070

BOLT

SN: 80888-UP

1шт.

16

01602-01030

WASHER,SPRING

SN: 80888-UP

1шт.

Выбрано товаров: 19