Запчасти Komatsu D58E-1 КОНДИЦ. ВОЗДУХА (ДЛЯ КАБИНА ROPS) (/) КАБИНА ОПЕРАТОРА И СИСТЕМА УПРАВЛЕНИЯ

Схема запчастей Komatsu D58E-1 - КОНДИЦ. ВОЗДУХА (ДЛЯ КАБИНА ROPS) (/) КАБИНА ОПЕРАТОРА И СИСТЕМА УПРАВЛЕНИЯ
FIT
1:1
100%

Артикул

Название

Примечание

Количество

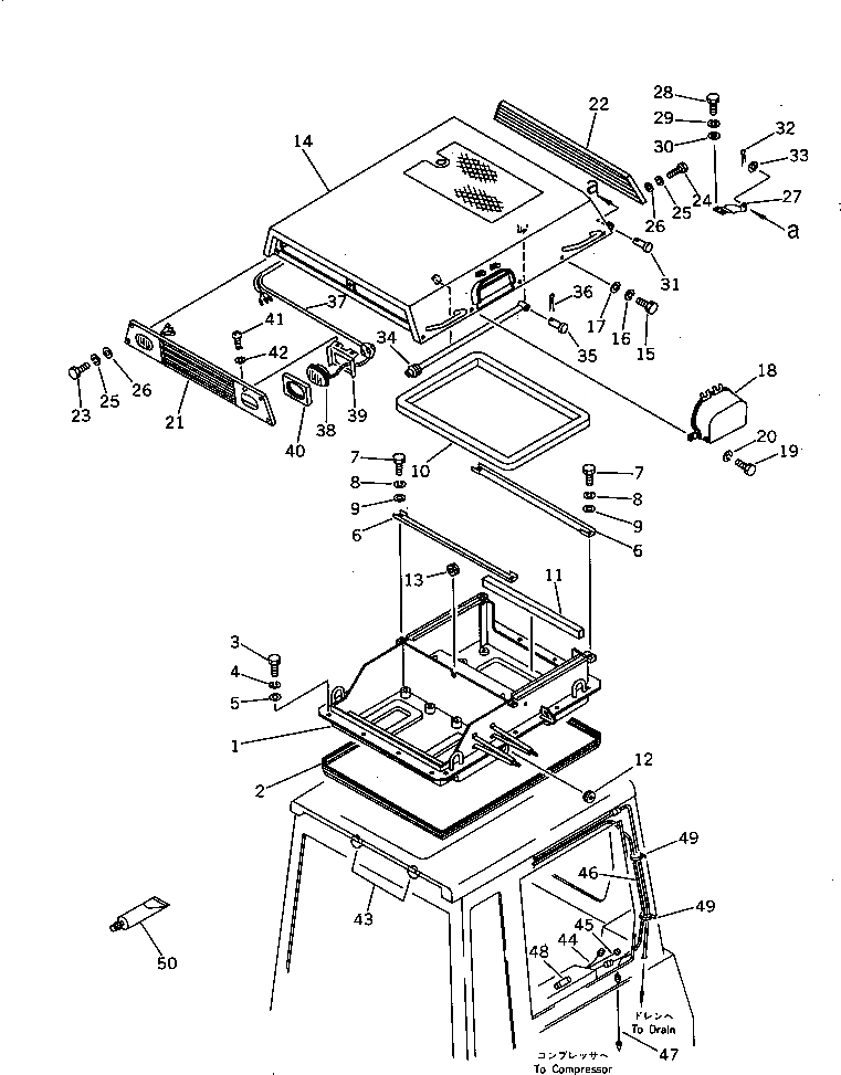
1

120-Y79-6110

FRAME

SN: 80888-UP

1шт.

2

120-Y79-6120

SEAL,(L=4000)

SN: 80888-UP

1шт.

3

01010-51060

BOLT

SN: 80888-UP

18шт.

4

01602-21030

WASHER,SPRING

SN: 80888-UP

18шт.

5

120-Y79-4470

WASHER,SEAL

SN: 80888-UP

18шт.

6

120-Y79-6130

PLATE

SN: 80888-UP

2шт.

7

01010-51025

BOLT

SN: 80888-UP

4шт.

8

01602-21030

WASHER,SPRING

SN: 80888-UP

4шт.

9

01643-31032

WASHER

SN: 80888-UP

4шт.

10

120-Y79-6150

SEAL

SN: 80888-UP

1шт.

11

120-Y79-6160

SEAL

SN: 80888-UP

1шт.

12

09415-02512

CAP

SN: 80888-UP

1шт.

13

08037-01610

GROMMET

SN: 80888-UP

1шт.

14

134-Z79-3130

COVER

SN: 81119-UP

1шт.

14

120-Y79-6310

COVER

SN: 80888-81118

1шт.

15

01252-31025

BOLT

SN: 80888-UP

10шт.

16

01602-21030

WASHER,SPRING

SN: 80888-UP

10шт.

17

01643-31032

WASHER

SN: 80888-UP

10шт.

18

134-Z79-3140

COVER

SN: 81119-UP

1шт.

18

120-Y79-6320

COVER

SN: 80888-81118

1шт.

19

01010-51025

BOLT

SN: 80888-UP

2шт.

20

01602-21030

WASHER,SPRING

SN: 80888-UP

2шт.

21

134-Z79-3150

COVER,FRONT

SN: 81119-UP

1шт.

21

120-Y79-6330

COVER,FRONT

SN: 80888-81118

1шт.

22

134-Z79-3160

COVER,REAR

SN: 81119-UP

1шт.

22

120-Y79-6340

COVER,REAR

SN: 80888-81118

1шт.

23

01252-40816

BOLT

SN: 80888-UP

6шт.

24

01252-40820

BOLT

SN: 80888-UP

6шт.

25

01602-20825

WASHER,SPRING

SN: 80888-UP

12шт.

26

01643-30823

WASHER

SN: 80888-UP

12шт.

27

134-Z79-3170

BRACKET,L.H.

SN: 81119-UP

1шт.

27

120-Y79-6350

BRACKET,L.H.

SN: 80888-81118

1шт.

27

134-Z79-3180

BRACKET,R.H.

SN: 81119-UP

1шт.

27

120-Y79-6360

BRACKET,R.H.

SN: 80888-81118

1шт.

28

01010-51020

BOLT

SN: 80888-UP

4шт.

29

01602-21030

WASHER,SPRING

SN: 80888-UP

4шт.

30

01643-31032

WASHER

SN: 80888-UP

4шт.

31

04205-11230

PIN

SN: 80888-UP

2шт.

32

04050-13020

PIN,COTTER

SN: 81119-UP

2шт.

32

04050-03020

PIN,COTTER

SN: 80888-81118

2шт.

33

01641-21223

WASHER

SN: 80888-UP

2шт.

34

120-Y79-6430

STAY

SN: 80888-UP

1шт.

35

04205-11245

PIN

SN: 80888-UP

1шт.

36

04050-13020

PIN,COTTER

SN: 81119-UP

1шт.

36

04050-03020

PIN,COTTER

SN: 80888-81118

1шт.

37

120-Y79-6940

WIRE ASS'Y

SN: 80888-UP

1шт.

38

120-Y79-5150

LAMP ASS'Y

SN: 80888-UP

2шт.

39

120-Y79-5170

CUSHION

SN: 80888-UP

2шт.

40

120-Y79-5180

BRACKET

SN: 80888-UP

2шт.

41

01220-40612

SCREW

SN: 80888-UP

4шт.

42

01602-20619

WASHER,SPRING

SN: 80888-UP

4шт.

43

09415-03614

CAP

SN: 80888-UP

2шт.

44

120-Y79-6920

WIRE ASS'Y

SN: 80888-UP

1шт.

45

120-Y79-5840

WIRE ASS'Y

SN: 80888-UP

1шт.

46

120-Y79-6930

WIRE ASS'Y

SN: 80888-UP

1шт.

47

120-Y79-6910

WIRE ASS'Y

SN: 80888-UP

1шт.

48

08040-01000

FUSE, 10A

SN: 80888-UP

1шт.

49

08034-00519

BAND

SN: 80888-UP

10шт.

50

120-Y79-4910

ADHESIVE

SN: 80888-UP

1шт.

Выбрано товаров: 59