Запчасти Komatsu D58E-1A ГИДР. БАК. AND КЛАПАН (/) (ДЛЯ ПРЯМОГО ОТВАЛА) (ДЛЯ МЕХАНИЧ. ANGLE НАКЛОНЯЕМ. DOZER) ОСНОВН. КОМПОНЕНТЫ И РЕМКОМПЛЕКТЫ

Схема запчастей Komatsu D58E-1A - ГИДР. БАК. AND КЛАПАН (/) (ДЛЯ ПРЯМОГО ОТВАЛА) (ДЛЯ МЕХАНИЧ. ANGLE НАКЛОНЯЕМ. DOZER) ОСНОВН. КОМПОНЕНТЫ И РЕМКОМПЛЕКТЫ
FIT
1:1
100%

Артикул

Название

Примечание

Количество

|$2

130-Z20-5301

TANK VALVE ASS'Y

SN: 82228-UP

1шт.

|$3

130-Z20-5300

TANK VALVE ASS'Y

SN: 80888-82227

1шт.

|$$3

THESE ASSEMBLIES CONSIST OF ALL PARTS SHOWN IN FIGS.Y1660-01A0 TO Y1660-04A0.

-1шт.

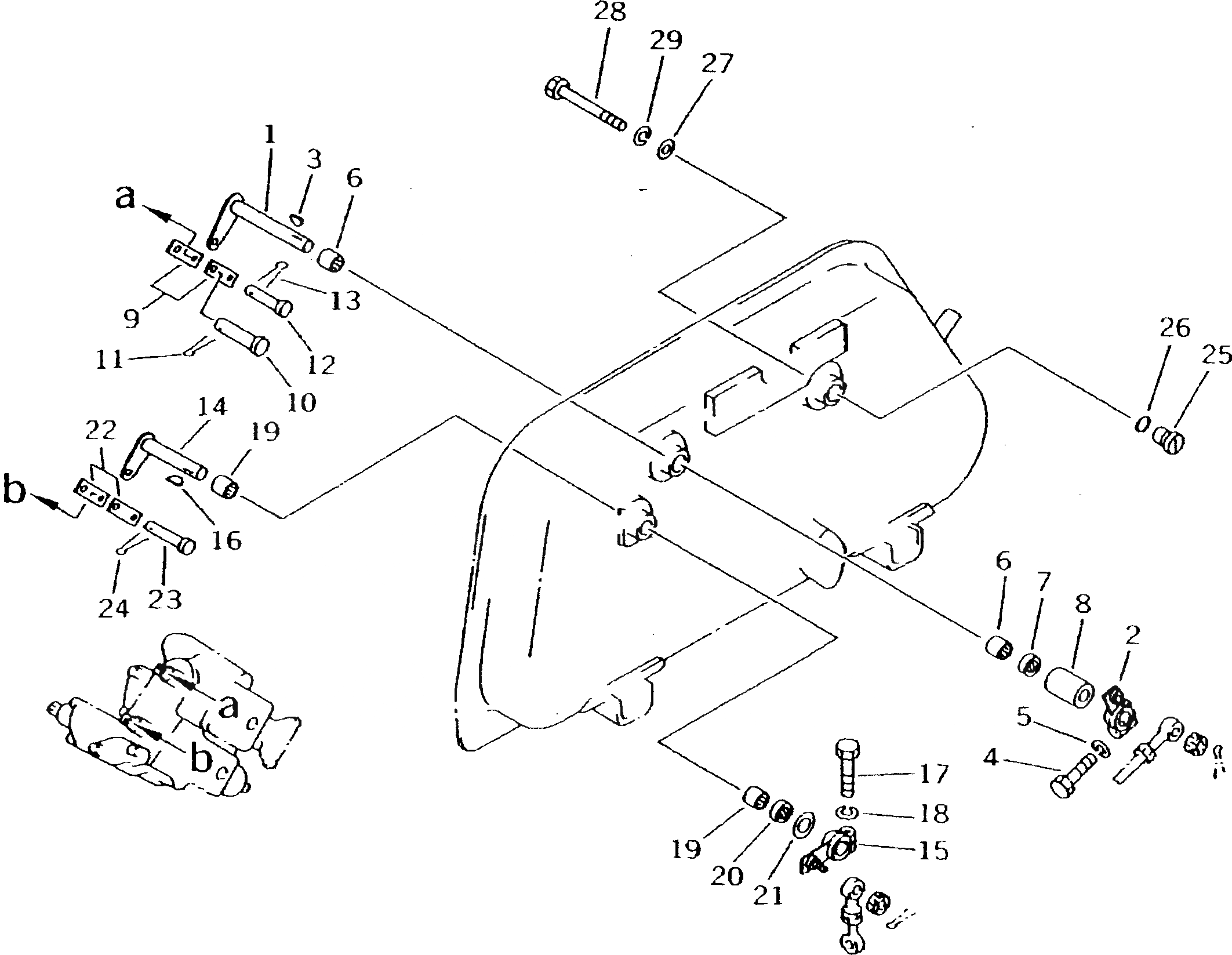
1

130-Z20-5350

LEVER

SN: 80888-UP

1шт.

2

130-60-71110

LEVER

SN: 80888-UP

1шт.

3

04010-00519

KEY

SN: 80888-UP

1шт.

4

01010-50830

BOLT

SN: 80888-UP

1шт.

5

01602-20825

WASHER,SPRING

SN: 80888-UP

1шт.

6

06120-02016

BEARING,NEEDLE

SN: 80888-UP

2шт.

7

130-09-11450

SEAL,OIL

SN: 80888-UP

1шт.

8

130-60-63170

COLLAR

SN: 80888-UP

1шт.

9

130-Z20-5230

YOKE

SN: 80888-UP

2шт.

10

04205-01430

PIN

SN: 80888-UP

1шт.

11

04050-04022

PIN,COTTER

SN: 80888-UP

1шт.

12

04205-01028

PIN

SN: 80888-UP

1шт.

13

04050-03015

PIN,COTTER

SN: 80888-UP

1шт.

14

130-Z20-5360

LEVER

SN: 80888-UP

1шт.

15

130-60-63160

LEVER

SN: 80888-UP

1шт.

16

04010-00519

KEY

SN: 80888-UP

1шт.

17

01010-50830

BOLT

SN: 80888-UP

1шт.

18

01602-20825

WASHER,SPRING

SN: 80888-UP

1шт.

19

06120-02016

BEARING,NEEDLE

SN: 80888-UP

2шт.

20

130-09-11450

SEAL,OIL

SN: 80888-UP

1шт.

21

130-60-43150

PLATE

SN: 80888-UP

1шт.

22

141-60-32170

YOKE

SN: 80888-UP

2шт.

23

04205-01028

PIN

SN: 80888-UP

2шт.

24

04050-03015

PIN,COTTER

SN: 80888-UP

2шт.

25

140-60-13350

PLUG

SN: 80888-UP

1шт.

26

07000-03020

O-RING

SN: 80888-UP

1шт.

27

140-60-13360

COLLAR

SN: 80888-UP

1шт.

28

01010-31070

BOLT

SN: 80888-UP

1шт.

29

01602-01030

WASHER,SPRING

SN: 80888-UP

1шт.

Выбрано товаров: 32