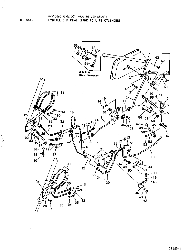
Запчасти Komatsu D58E-1A ГИДРОЛИНИЯ (БАК - ГИДРОЦИЛИНДР ПОДЪЕМА) ГИДРАВЛИКА

Схема запчастей Komatsu D58E-1A - ГИДРОЛИНИЯ (БАК - ГИДРОЦИЛИНДР ПОДЪЕМА) ГИДРАВЛИКА
FIT
1:1
100%

Артикул

Название

Примечание

Количество

1

130-62-61111

TUBE

SN: 80888-UP

1шт.

2

07000-23035

O-RING

SN: 80888-UP

1шт.

3

01010-51045

BOLT

SN: 80888-UP

4шт.

4

01602-21030

WASHER,SPRING

SN: 80888-UP

4шт.

5

07000-23035

O-RING

SN: 80888-UP

1шт.

6

01010-51060

BOLT

SN: 80888-UP

2шт.

7

01010-51050

BOLT

SN: 80888-UP

2шт.

8

01602-21030

WASHER,SPRING

SN: 80888-UP

4шт.

9

134-62-31111

TUBE

SN: 80888-UP

1шт.

10

130-62-71411

TUBE

SN: 80888-UP

1шт.

11

07000-23038

O-RING

SN: 80888-UP

3шт.

12

07371-31255

FLANGE,SPLIT

SN: 80888-UP

6шт.

13

07372-21035

BOLT

SN: 80888-UP

4шт.

14

07372-21040

BOLT

SN: 80888-UP

8шт.

15

01602-21030

WASHER,SPRING

SN: 80888-UP

12шт.

16

130-62-71181

TUBE

SN: 80888-UP

1шт.

17

130-62-71190

TUBE

SN: 80888-UP

1шт.

18

07042-20108

PLUG

SN: 80888-UP

2шт.

19

130-62-71421

TUBE

SN: 80888-UP

1шт.

20

130-62-71431

TUBE

SN: 80888-UP

1шт.

21

07000-23025

O-RING

SN: 80888-UP

2шт.

22

07371-30638

FLANGE,SPLIT

SN: 80888-UP

4шт.

23

07372-20830

BOLT

SN: 80888-UP

8шт.

24

01602-20825

WASHER,SPRING

SN: 80888-UP

8шт.

25

130-62-71460

BLOCK,L.H.

SN: 80888-UP

1шт.

26

130-62-71470

BLOCK,R.H.

SN: 80888-UP

1шт.

27

01010-51645

BOLT

SN: 80888-UP

4шт.

28

01643-31645

WASHER

SN: 80888-UP

4шт.

29

07118-00605

HOSE

SN: 80888-UP

2шт.

30

07118-00605

HOSE

SN: 80888-UP

2шт.

31

07119-00611

HOSE

SN: 80888-UP

4шт.

32

07000-23025

O-RING

SN: 80888-UP

16шт.

33

07371-30638

FLANGE,SPLIT

SN: 80888-UP

32шт.

34

07372-20830

BOLT

SN: 80888-UP

64шт.

35

01602-20825

WASHER,SPRING

SN: 80888-UP

64шт.

36

130-62-71251

BRACKET

SN: 80888-UP

1шт.

37

130-62-71171

BRACKET

SN: 80888-UP

1шт.

38

01010-51030

BOLT

SN: 80888-UP

4шт.

39

01602-21030

WASHER,SPRING

SN: 80888-UP

4шт.

40

01643-31032

WASHER

SN: 80888-UP

4шт.

41

07283-22738

CLIP

SN: 80888-UP

4шт.

42

01599-01011

NUT

SN: 80888-UP

8шт.

43

01643-31032

WASHER

SN: 80888-UP

8шт.

44

130-62-71240

BRACKET

SN: 80888-UP

1шт.

45

130-62-71280

BRACKET

SN: 80888-UP

1шт.

46

130-62-61160

BRACKET

SN: 80888-UP

1шт.

47

01010-51025

BOLT

SN: 80888-UP

4шт.

48

01010-51030

BOLT

SN: 80888-UP

2шт.

49

01602-21030

WASHER,SPRING

SN: 80888-UP

6шт.

50

01643-31032

WASHER

SN: 80888-UP

6шт.

51

07283-23442

CLIP

SN: 80888-UP

3шт.

52

01599-01011

NUT

SN: 80888-UP

6шт.

53

01643-31032

WASHER

SN: 80888-UP

6шт.

54

144-60-18730

HOSE

SN: 80888-UP

1шт.

55

130-62-71510

TUBE

SN: 80888-UP

1шт.

56

130-62-71520

BRACKET

SN: 80888-UP

1шт.

57

07283-23442

CLIP

SN: 80888-UP

1шт.

58

01599-01011

NUT

SN: 80888-UP

2шт.

59

01643-31032

WASHER

SN: 80888-UP

2шт.

60

07000-23038

O-RING

SN: 80888-UP

2шт.

61

07371-31255

FLANGE

SN: 80888-UP

4шт.

62

07372-21035

BOLT

SN: 81982-UP

4шт.

62

07372-21035

BOLT

SN: 80888-81981

8шт.

62A

01010-51075

BOLT

SN: 81982-UP

4шт.

63

01643-31032

WASHER

SN: 80888-UP

8шт.

64

130-62-71551

SPACER

SN: 81982-UP

1шт.

65

07000-23038

O-RING

SN: 81982-UP

1шт.

Выбрано товаров: 67