Запчасти Komatsu D58E-1A РАДИАТОР COVER СИСТЕМА ОХЛАЖДЕНИЯ

Схема запчастей Komatsu D58E-1A - РАДИАТОР COVER СИСТЕМА ОХЛАЖДЕНИЯ
FIT
1:1
100%

Артикул

Название

Примечание

Количество

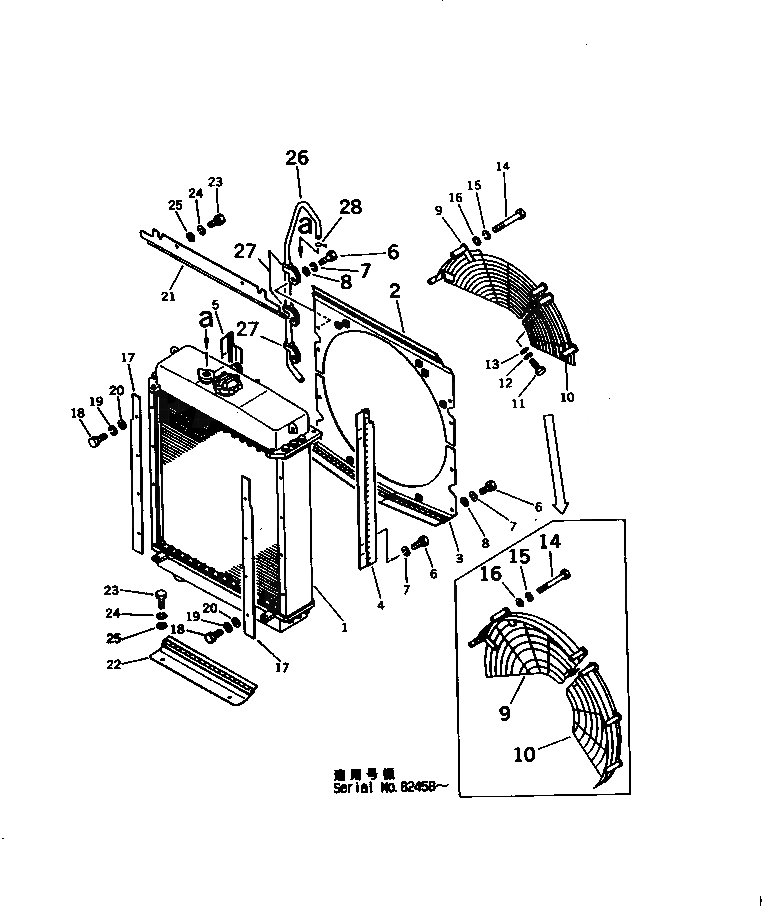
1

134-03-00100

RADIATOR ASS'Y

SN: 80888-UP

1шт.

2

130-03-71270

SHROUD,UPPER

SN: 80888-UP

1шт.

3

130-03-71360

SHROUD,LOWER

SN: 80888-UP

1шт.

4

130-03-71280

COVER,L.H.

SN: 80888-UP

1шт.

5

130-03-71290

COVER,R.H.

SN: 80888-UP

1шт.

6

01010-81025

BOLT

SN: 80888-UP

8шт.

7

01602-21030

WASHER,SPRING

SN: 80888-UP

8шт.

8

01643-31032

WASHER

SN: 80888-UP

4шт.

9

134-03-32330

GUARD,FAN

SN: 82458-UP

1шт.

9

130-03-71341

GUARD,FAN

SN: 80888-82457

1шт.

10

134-03-32350

GUARD,FAN

SN: 82458-UP

1шт.

10

130-03-71351

GUARD,FAN

SN: 80888-84257

1шт.

11

01010-81025

BOLT

SN: 80888-UP

1шт.

12

01602-21030

WASHER,SPRING

SN: 80888-UP

1шт.

13

01643-31032

WASHER

SN: 80888-UP

1шт.

14

01011-81005

BOLT

SN: 82458-UP

6шт.

14

01011-81005

BOLT

SN: 80888-82457

5шт.

15

01602-21030

WASHER,SPRING

SN: 82458-UP

6шт.

15

01602-21030

WASHER,SPRING

SN: 80888-82457

5шт.

16

01643-31032

WASHER

SN: 82458-UP

6шт.

16

01643-31032

WASHER

SN: 80888-82457

5шт.

17

130-03-71241

PLATE

SN: 80888-UP

2шт.

18

01010-81025

BOLT

SN: 80888-UP

8шт.

19

01602-21030

WASHER,SPRING

SN: 80888-UP

8шт.

20

01643-31032

WASHER

SN: 80888-UP

8шт.

21

130-03-71230

COVER,UPPER

SN: 80888-UP

1шт.

22

130-03-71251

COVER,LOWER

SN: 80888-UP

1шт.

23

01010-81025

BOLT

SN: 80888-UP

4шт.

24

01602-51030

WASHER,SPRING

SN: 80888-UP

4шт.

25

01643-31032

WASHER

SN: 80888-UP

4шт.

26

144-03-15410

TUBE

SN: 80888-UP

1шт.

27

6675-61-7380

CLIP

SN: 80888-UP

3шт.

28

04059-01010

WIRE

SN: 80888-UP

1шт.

Выбрано товаров: 33