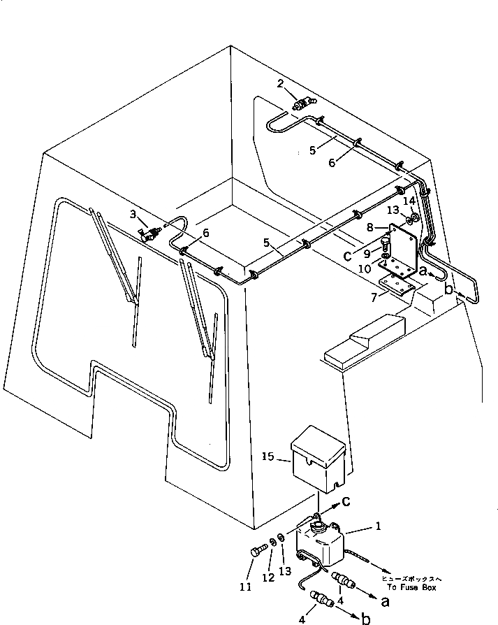
Запчасти Komatsu D58E-1A ОМЫВАТЕЛЬ СТЕКЛА (ДЛЯ КАБИНА ROPS) КАБИНА ОПЕРАТОРА И СИСТЕМА УПРАВЛЕНИЯ

Схема запчастей Komatsu D58E-1A - ОМЫВАТЕЛЬ СТЕКЛА (ДЛЯ КАБИНА ROPS) КАБИНА ОПЕРАТОРА И СИСТЕМА УПРАВЛЕНИЯ
FIT
1:1
100%

Артикул

Название

Примечание

Количество

1

120-Y79-5730

TANK

SN: 80888-UP

1шт.

2

120-Y79-5740

NOZZLE,(SINGLE)

SN: 80888-UP

1шт.

3

120-Y79-5750

NOZZLE,(DOUBLE)

SN: 80888-UP

1шт.

4

120-Y79-5760

VALVE,CHECK

SN: 80888-UP

2шт.

5

120-Y79-5950

HOSE,(L=4500)

SN: 80888-UP

1шт.

6

08034-00519

BAND

SN: 80888-UP

12шт.

7

120-Y79-5770

BRACKET

SN: 80888-UP

1шт.

8

120-Y79-5780

BRACKET

SN: 80888-UP

1шт.

9

01010-50616

BOLT

SN: 80888-UP

4шт.

10

01602-20619

WASHER,SPRING

SN: 80888-UP

4шт.

11

01010-50616

BOLT

SN: 80888-UP

2шт.

12

01602-20619

WASHER,SPRING

SN: 80888-UP

2шт.

13

01642-20608

WASHER

SN: 80888-UP

4шт.

14

01580-10605

NUT

SN: 80888-UP

2шт.

15

120-Y79-5790

COVER

SN: 80888-UP

1шт.

Выбрано товаров: 15