Запчасти Komatsu D58E-1B ВОЗДУХОВОД (ДЛЯ КАБИНА ROPS) КАБИНА ОПЕРАТОРА И СИСТЕМА УПРАВЛЕНИЯ

Схема запчастей Komatsu D58E-1B - ВОЗДУХОВОД (ДЛЯ КАБИНА ROPS) КАБИНА ОПЕРАТОРА И СИСТЕМА УПРАВЛЕНИЯ
FIT
1:1
100%

Артикул

Название

Примечание

Количество

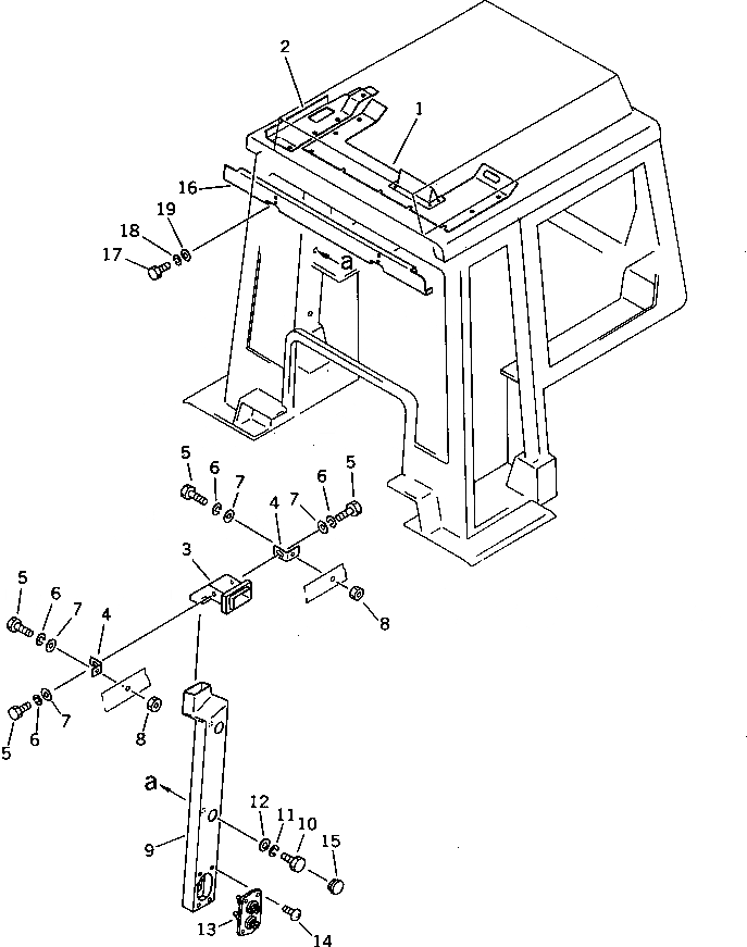
1

134-Z79-3110

LINING,FRONT

SN: 81119-UP

1шт.

1

120-Y79-5490

LINING,FRONT

SN: 80888-81118

1шт.

2

134-Z79-3120

COVER,R.H.

SN: 81119-UP

1шт.

2

120-Y79-5710

COVER,R.H.

SN: 80888-81118

1шт.

3

120-Y79-6970

DUCT,AIR

SN: 80888-UP

1шт.

4

120-Y79-6980

BRACKET

SN: 80888-UP

2шт.

5

01010-51020

BOLT

SN: 80888-UP

4шт.

6

01602-21030

WASHER,SPRING

SN: 80888-UP

4шт.

7

01643-31032

WASHER

SN: 80888-UP

4шт.

8

01580-11008

NUT

SN: 80888-UP

2шт.

9

134-Z79-3220

DUCT,AIR

SN: 81119-UP

1шт.

9

120-Y79-6990

DUCT,AIR

SN: 80888-81118

1шт.

10

01010-51020

BOLT

SN: 80888-UP

3шт.

11

01602-21030

WASHER,SPRING

SN: 80888-UP

3шт.

12

01643-31032

WASHER

SN: 80888-UP

3шт.

13

145-Z79-3780

GRILLE ASS'Y

SN: 80888-UP

1шт.

14

01225-40412

SCREW

SN: 80888-UP

4шт.

15

09414-00053

CAP

SN: 80888-UP

2шт.

16

134-Z79-3210

COVER

SN: 81119-UP

1шт.

16

120-Y79-6460

COVER

SN: 80888-81118

1шт.

17

01010-51020

BOLT

SN: 80888-UP

4шт.

18

01602-21030

WASHER,SPRING

SN: 80888-UP

4шт.

19

01643-31032

WASHER

SN: 80888-UP

4шт.

Выбрано товаров: 23