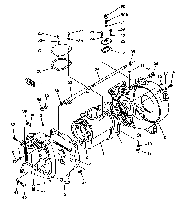
Запчасти Komatsu D58E-1B ЛЕБЕДКА КОРПУС ШЕСТЕРЕНН. ПЕРЕДАЧИ РАБОЧЕЕ ОБОРУДОВАНИЕ

Схема запчастей Komatsu D58E-1B - ЛЕБЕДКА КОРПУС ШЕСТЕРЕНН. ПЕРЕДАЧИ РАБОЧЕЕ ОБОРУДОВАНИЕ
FIT
1:1
100%

Артикул

Название

Примечание

Количество

1

124-960-1721

CASE

SN: 80888-UP

1шт.

2

124-960-1712

CASE

SN: 80888-UP

1шт.

3

07043-00312

PLUG

SN: 80888-UP

3шт.

4

07040-12414

PLUG

SN: 80888-UP

1шт.

5

07002-02434

O-RING

SN: 80888-UP

1шт.

6

124-960-1751

GASKET

SN: 82145-UP

1шт.

6

0

GASKET

SN: 80888-82144

1шт.

7

04020-01434

PIN,DOWEL

SN: 80888-UP

1шт.

8

01010-81230

BOLT

SN: 80888-UP

8шт.

9

01602-21236

WASHER,SPRING

SN: 80888-UP

8шт.

10

124-960-1732

CASE

SN: 80888-UP

1шт.

11

07043-00211

PLUG

SN: 80888-UP

1шт.

12

07044-13620

PLUG

SN: 80888-UP

1шт.

13

07002-03634

O-RING

SN: 80888-UP

1шт.

14

124-960-1762

GASKET

SN: 82145-UP

1шт.

14

0

GASKET

SN: 80888-82144

1шт.

15

04020-01434

PIN,DOWEL

SN: 80888-UP

1шт.

16

01010-81245

BOLT

SN: 80888-UP

10шт.

17

01602-21236

WASHER,SPRING

SN: 80888-UP

10шт.

18

124-960-1780

RING

SN: 80888-UP

1шт.

19

124-960-2530

COVER

SN: 80888-UP

1шт.

20

124-960-2541

GASKET

SN: 82145-UP

1шт.

20

0

GASKET

SN: 80888-82144

1шт.

21

01010-81025

BOLT

SN: 80888-UP

6шт.

22

01602-21030

WASHER,SPRING

SN: 80888-UP

6шт.

23

01010-81030

BOLT

SN: 80888-UP

2шт.

24

01602-21030

WASHER,SPRING

SN: 80888-UP

2шт.

25

124-960-2510

COVER

SN: 80888-UP

1шт.

26

01010-81025

BOLT

SN: 80888-UP

2шт.

27

01602-21030

WASHER,SPRING

SN: 80888-UP

2шт.

28

01010-81030

BOLT

SN: 80888-UP

2шт.

29

01602-21030

WASHER,SPRING

SN: 80888-UP

2шт.

30

07030-00252

BREATHER

SN: 80888-UP

1шт.

30A

130-Y61-1360

NIPPLE

SN: 80888-UP

1шт.

31

07005-03016

GASKET

SN: 80888-UP

1шт.

32

124-960-2521

GASKET

SN: 82145-UP

1шт.

32

0

GASKET

SN: 80888-82144

1шт.

33

124-960-2470

COLLAR

SN: 80888-UP

1шт.

34

124-960-2480

ROD

SN: 80888-UP

1шт.

35

195-43-12370

WASHER

SN: 80888-UP

4шт.

36

01580-12419

NUT

SN: 80888-UP

2шт.

37

01124-52455

STUD

SN: 80888-UP

4шт.

38

01643-32460

WASHER

SN: 80888-UP

4шт.

39

01580-12419

NUT

SN: 80888-UP

4шт.

40

01010-82460

BOLT

SN: 80888-UP

4шт.

41

01643-32460

WASHER

SN: 80888-UP

4шт.

42

09601-00835

PLATE, NAME,(LIMITED SUPPLY)

SN: 80888-UP

1шт.

43

04418-03060

SCREW

SN: 80888-UP

4шт.

Выбрано товаров: 48