Запчасти Komatsu D58E-1B ГИДР. БАК. AND КЛАПАН (/7) (ДЛЯ ПОВОРОТН. ОТВАЛА С ИЗМ. УГЛОМ DOZER)(№88-) ОСНОВН. КОМПОНЕНТЫ И РЕМКОМПЛЕКТЫ

Схема запчастей Komatsu D58E-1B - ГИДР. БАК. AND КЛАПАН (/7) (ДЛЯ ПОВОРОТН. ОТВАЛА С ИЗМ. УГЛОМ DOZER)(№88-) ОСНОВН. КОМПОНЕНТЫ И РЕМКОМПЛЕКТЫ
FIT
1:1
100%

Артикул

Название

Примечание

Количество

|$2

13F-60-31001

TANK VALVE ASS'Y

SN: 82228-UP

1шт.

|$3

13F-60-31000

TANK VALVE ASS'Y

SN: 81285-82227

1шт.

|$$3

THESE ASSEMBLIES CONSIST OF ALL PARTS SHOWN IN FIGS.Y1664-01A0 TO Y1664-07A0.

-1шт.

|$5

701-23-24000

VALVE ASS'Y

SN: 81285-UP

1шт.

|$$5

THIS ASSEMBLY CONSISTS OF ALL PARTS SHOWN IN FIGS.Y1664-03A0 AND Y1664-04A0.

-1шт.

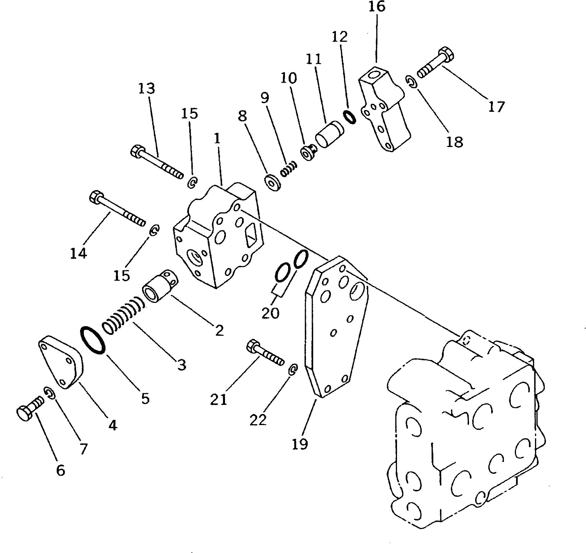
|$7

701-20-77001

VALVE ASS'Y,SUCTION

SN: 81285-UP

1шт.

1

701-20-62112

HOUSING

SN: 81285-UP

1шт.

2

701-30-67121

VALVE

SN: 81285-UP

1шт.

3

701-21-31130

SPRING

SN: 81285-UP

1шт.

4

701-20-62120

PLATE

SN: 81285-UP

1шт.

5

07000-13040

O-RING

SN: 81285-UP

1шт.

6

01010-31035

BOLT

SN: 81285-UP

3шт.

7

01602-01030

WASHER,SPRING

SN: 81285-UP

3шт.

8

701-20-61240

SEAT

SN: 81285-UP

1шт.

9

701-20-61230

SPRING

SN: 81285-UP

1шт.

10

701-20-61221

VALVE

SN: 81285-UP

1шт.

11

701-20-61210

COLLAR

SN: 81285-UP

1шт.

12

07000-12018

O-RING

SN: 81285-UP

1шт.

13

01010-31085

BOLT

SN: 81285-UP

2шт.

14

01010-31090

BOLT

SN: 81285-UP

2шт.

15

01602-01030

WASHER,SPRING

SN: 81285-UP

4шт.

16

701-23-36150

BAFFLE

SN: 81285-UP

1шт.

17

01010-31055

BOLT

SN: 81285-UP

3шт.

18

01602-01030

WASHER,SPRING

SN: 81285-UP

3шт.

19

701-23-16110

PLATE

SN: 81285-UP

1шт.

20

07000-13028

O-RING

SN: 81285-UP

2шт.

21

01010-31035

BOLT

SN: 81285-UP

2шт.

22

01602-01030

WASHER,SPRING

SN: 81285-UP

2шт.

Выбрано товаров: 28