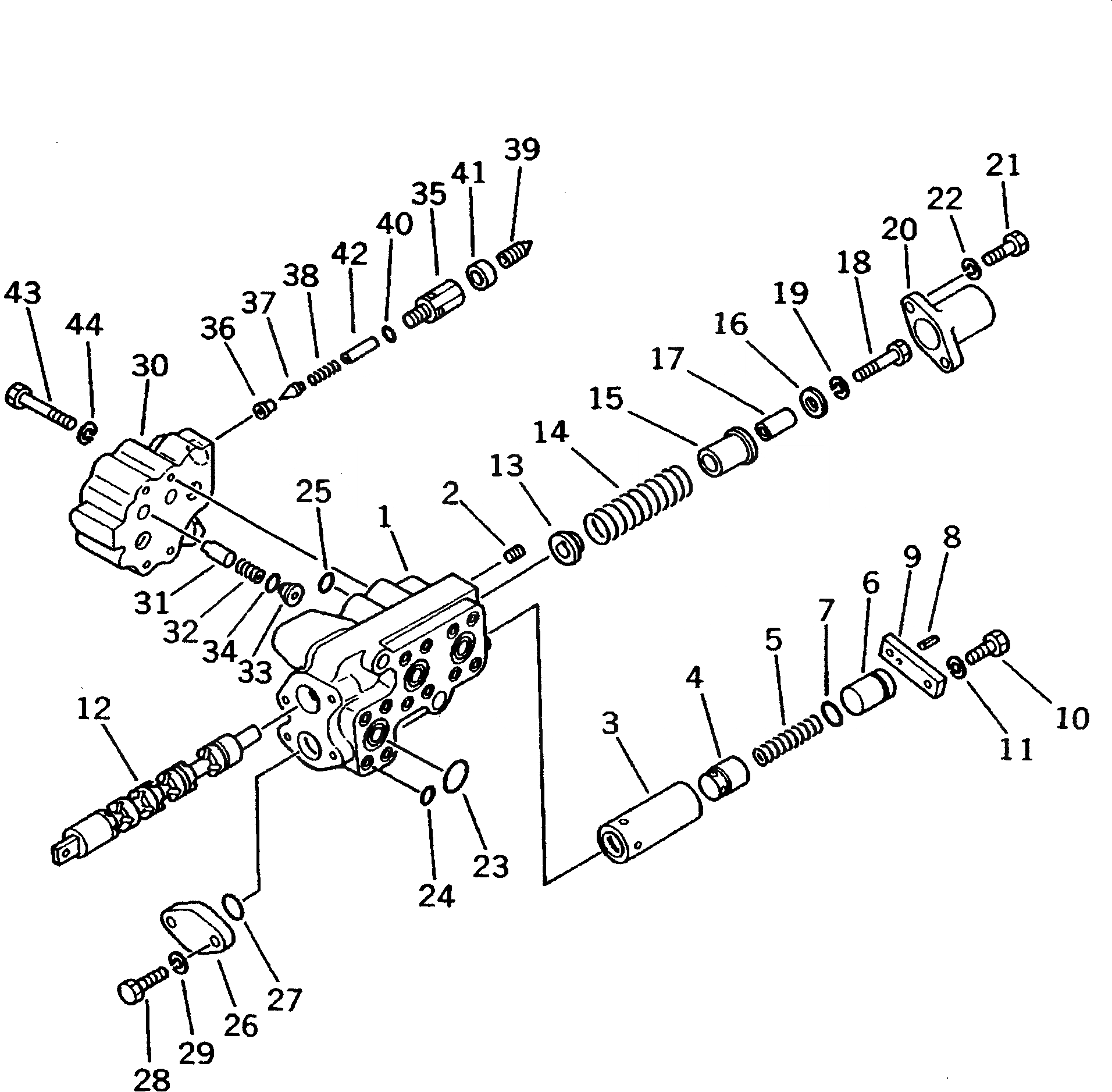
Запчасти Komatsu D58E-1B ГИДР. БАК. AND КЛАПАН (7/8) (ДЛЯ ПОВОРОТН. ОТВАЛА С ИЗМ. УГЛОМ DOZER И РЫХЛИТЕЛЬ) (MONO РЫЧАГ УПРАВЛ-Е)(№87-) ОСНОВН. КОМПОНЕНТЫ И РЕМКОМПЛЕКТЫ

Схема запчастей Komatsu D58E-1B - ГИДР. БАК. AND КЛАПАН (7/8) (ДЛЯ ПОВОРОТН. ОТВАЛА С ИЗМ. УГЛОМ DOZER И РЫХЛИТЕЛЬ) (MONO РЫЧАГ УПРАВЛ-Е)(№87-) ОСНОВН. КОМПОНЕНТЫ И РЕМКОМПЛЕКТЫ
FIT
1:1
100%

Артикул

Название

Примечание

Количество

|$1

134-60-38200

TANK VALVE ASS'Y

SN: 82467-UP

1шт.

|$$2

THIS ASSEMBLY CONSISTS OF ALL PARTS SHOWN IN FIGS.Y1667-01A0 TO Y1667-08A0.

-1шт.

|$3

701-21-16001

VALVE ASS'Y,RIPPER CONTROL

SN: 82467-UP

1шт.

|$4

701-21-32000

BODY ASS'Y

SN: 82467-UP

1шт.

1

0

BODY,VALVE

SN: 82467-UP

1шт.

2

07043-00312

PLUG

SN: 82467-UP

1шт.

3

0

COLLAR

SN: 82467-UP

1шт.

4

701-21-32130

VALVE

SN: 82467-UP

1шт.

5

701-21-32140

SPRING

SN: 82467-UP

1шт.

6

701-21-32150

SEAT

SN: 82467-UP

1шт.

7

07000-12021

O-RING

SN: 82467-UP

1шт.

8

04025-00412

PIN,SPRING

SN: 82467-UP

1шт.

9

701-21-32160

PLATE

SN: 82467-UP

1шт.

10

01010-31240

BOLT

SN: 82467-UP

2шт.

11

01602-01236

WASHER,SPRING

SN: 82467-UP

2шт.

12

0

SPOOL

SN: 82467-UP

1шт.

13

701-21-31180

COLLAR

SN: 82467-UP

1шт.

14

701-21-31210

SPRING

SN: 82467-UP

1шт.

15

701-23-31140

COLLAR

SN: 82467-UP

1шт.

16

701-23-31150

WASHER

SN: 82467-UP

1шт.

17

701-23-31160

SPACER

SN: 82467-UP

1шт.

18

01010-31055

BOLT

SN: 82467-UP

1шт.

19

01602-01030

WASHER,SPRING

SN: 82467-UP

1шт.

20

701-23-31170

CASE

SN: 82467-UP

1шт.

21

01010-31030

BOLT

SN: 82467-UP

2шт.

22

01602-01030

WASHER,SPRING

SN: 82467-UP

2шт.

23

07000-13035

O-RING

SN: 82467-UP

3шт.

24

07000-12014

O-RING

SN: 82467-UP

14шт.

25

07000-13038

O-RING

SN: 82467-UP

2шт.

26

701-21-31281

PLATE

SN: 82467-UP

1шт.

27

07000-13038

O-RING

SN: 82467-UP

1шт.

28

01010-31240

BOLT

SN: 82467-UP

2шт.

29

01602-01236

WASHER,SPRING

SN: 82467-UP

2шт.

|$34

701-20-63001

VALVE ASS'Y,SUCTION AND SAFETY

SN: 82467-UP

1шт.

30

701-20-63110

HOUSING

SN: 82467-UP

1шт.

31

701-21-32130

VALVE

SN: 82467-UP

2шт.

32

701-20-63120

SPRING

SN: 82467-UP

2шт.

33

701-20-63130

SEAT

SN: 82467-UP

2шт.

34

07000-13022

O-RING

SN: 82467-UP

2шт.

|$40

701-10-72001

VALVE ASS'Y,SAFETY

SN: 82467-UP

2шт.

35

0

BODY,VALVE

SN: 82467-UP

1шт.

36

0

SEAT

SN: 82467-UP

1шт.

37

0

POPPET

SN: 82467-UP

1шт.

38

0

SPRING

SN: 82467-UP

1шт.

39

0

PLUG

SN: 82467-UP

1шт.

40

07002-12034

O-RING

SN: 82467-UP

1шт.

41

0

NUT

SN: 82467-UP

1шт.

42

0

PIN

SN: 82467-UP

1шт.

43

01010-31080

BOLT

SN: 82467-UP

4шт.

44

01602-01030

WASHER,SPRING

SN: 82467-UP

4шт.

Выбрано товаров: 50