Запчасти Komatsu D58P-1 LOGGING РУКОЯТЬ (ДЛЯ ТЯГОВ. ЛЕБЕДКИ) РАБОЧЕЕ ОБОРУДОВАНИЕ

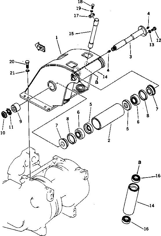
Схема запчастей Komatsu D58P-1 - LOGGING РУКОЯТЬ (ДЛЯ ТЯГОВ. ЛЕБЕДКИ) РАБОЧЕЕ ОБОРУДОВАНИЕ
FIT
1:1
100%

Артикул

Название

Примечание

Количество

|$1

124-960-0041

LOGGING ARM ASS'Y

SN: 80588-UP

1шт.

1

124-960-3210

FRAME

SN: 80588-UP

1шт.

2

124-960-3230

ROLLER

SN: 80588-UP

1шт.

3

124-960-3220

SHAFT

SN: 80588-UP

1шт.

4

07020-00000

FITTING,GREASE

SN: 80588-UP

2шт.

5

112-961-3240

RETAINER

SN: 80588-UP

2шт.

6

06002-32311

BEARING

SN: 80588-UP

2шт.

7

112-961-3251

RETAINER

SN: 80588-UP

2шт.

8

07011-00095

SEAL,OIL

SN: 80588-UP

2шт.

9

112-961-3270

COLLAR

SN: 80588-UP

1шт.

10

01530-24212

NUT

SN: 80588-UP

1шт.

11

01658-24223

WASHER

SN: 80588-UP

1шт.

12

01010-81025

BOLT

SN: 80588-UP

3шт.

13

01602-21030

WASHER,SPRING

SN: 80588-UP

3шт.

14

124-960-3260

ROLLER

SN: 80588-UP

3шт.

15

124-960-3240

SHAFT

SN: 80588-UP

3шт.

16

06042-06210

BEARING

SN: 80588-UP

6шт.

17

04082-00212

LOCK

SN: 80588-UP

3шт.

18

01010-81225

BOLT

SN: 80588-UP

6шт.

19

01602-21236

WASHER,SPRING

SN: 80588-UP

6шт.

20

01010-82045

BOLT

SN: 80588-UP

8шт.

21

01643-32060

WASHER

SN: 80588-UP

8шт.

Выбрано товаров: 22