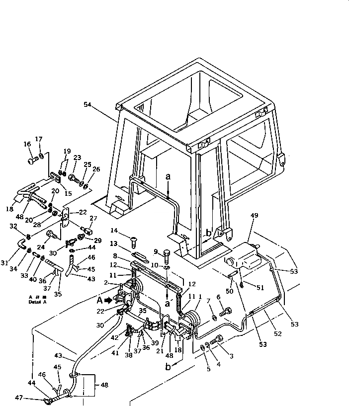
Запчасти Komatsu D58P-1 HOT ВОДН. ОБОГРЕВАТЕЛЬ. КАБИНА ОПЕРАТОРА И СИСТЕМА УПРАВЛЕНИЯ

Схема запчастей Komatsu D58P-1 - HOT ВОДН. ОБОГРЕВАТЕЛЬ. КАБИНА ОПЕРАТОРА И СИСТЕМА УПРАВЛЕНИЯ
FIT
1:1
100%

Артикул

Название

Примечание

Количество

1

09480-30000

HEATER

SN: 80588-UP

2шт.

2

120-Y79-5810

BRACKET

SN: 80588-UP

2шт.

3

01010-51225

BOLT

SN: 80588-UP

4шт.

4

01602-21236

WASHER,SPRING

SN: 80588-UP

4шт.

5

01643-31232

WASHER

SN: 80588-UP

4шт.

6

01010-51665

BOLT

SN: 80588-UP

4шт.

7

01643-31645

WASHER

SN: 80588-UP

4шт.

8

120-Y79-5830

DUCT

SN: 80588-UP

1шт.

9

01010-51020

BOLT

SN: 80588-UP

2шт.

10

01602-21030

WASHER,SPRING

SN: 80588-UP

2шт.

11

09485-03703

HOSE,AIR

SN: 80588-UP

2шт.

12

07581-00419

CLAMP

SN: 80588-UP

2шт.

13

09487-20220

NOZZLE

SN: 80588-UP

3шт.

14

01220-40410

SCREW

SN: 80588-UP

6шт.

15

120-Y79-5820

SEAL

SN: 80588-UP

2шт.

16

01220-40625

SCREW

SN: 80588-UP

4шт.

17

01611-06063

WASHER,LOCK

SN: 80588-UP

4шт.

18

09483-00504

HOSE

SN: 80588-UP

4шт.

19

09480-10100

CLAMP

SN: 80588-UP

4шт.

20

07281-00259

CLAMP

SN: 80588-UP

4шт.

21

130-Z79-1880

COVER,L.H.

SN: 80588-UP

1шт.

22

130-Z79-1770

COVER,R.H.

SN: 80588-UP

1шт.

23

01010-51240

BOLT

SN: 80588-UP

2шт.

24

01010-51225

BOLT

SN: 80588-UP

2шт.

25

01602-21236

WASHER,SPRING

SN: 80588-UP

2шт.

26

01643-31232

WASHER

SN: 80588-UP

2шт.

27

130-Z79-1780

ELBOW

SN: 80588-UP

1шт.

28

135-60-22280

NUT

SN: 80588-UP

1шт.

29

196-911-4120

NIPPLE

SN: 80588-UP

1шт.

30

09482-10000

VALVE

SN: 80588-UP

1шт.

31

09483-20550

HOSE

SN: 80588-UP

3шт.

32

07281-00259

CLAMP

SN: 80588-UP

3шт.

33

09484-00550

CONNECTOR

SN: 80588-UP

3шт.

34

07281-00259

CLAMP

SN: 80588-UP

3шт.

35

09483-00507

HOSE

SN: 80588-UP

1шт.

36

08024-01910

TAPE

SN: 80588-UP

2шт.

37

09489-01030

INSULATOR

SN: 80588-UP

2шт.

38

07281-00259

CLAMP

SN: 80588-UP

2шт.

39

09483-00506

HOSE

SN: 80588-UP

1шт.

40

07281-00259

CLAMP

SN: 80588-UP

2шт.

41

565-44-15380

ELBOW

SN: 80588-UP

1шт.

42

09482-10000

VALVE

SN: 80588-UP

1шт.

43

09483-00525

HOSE

SN: 80588-UP

1шт.

44

07281-00259

CLAMP

SN: 80588-UP

2шт.

45

09489-01030

INSULATOR

SN: 80588-UP

1шт.

46

08024-01910

TAPE

SN: 80588-UP

1шт.

47

130-Z79-1790

CONNECTOR

SN: 80588-UP

1шт.

48

08034-00834

BAND

SN: 80588-UP

10шт.

49

09481-02400

SWITCH

SN: 80588-UP

1шт.

50

08040-01000

FUSE, 10A

SN: 80588-UP

1шт.

51

120-Y79-5840

WIRE ASS'Y

SN: 80588-UP

2шт.

52

120-Y79-5850

WIRE

SN: 80588-UP

1шт.

53

08036-40810

CLIP

SN: 80588-UP

3шт.

54

120-Y79-5860

CAB,(MODIFIED PARTS)

SN: 80588-UP

1шт.

Выбрано товаров: 54