Запчасти Komatsu D58P-1 РАДИАТОР КРЫШКА(ШУМОПОДАВЛ. ДЛЯ EC)(№899-88) СИСТЕМА ОХЛАЖДЕНИЯ

Схема запчастей Komatsu D58P-1 - РАДИАТОР КРЫШКА(ШУМОПОДАВЛ. ДЛЯ EC)(№899-88) СИСТЕМА ОХЛАЖДЕНИЯ
FIT
1:1
100%

Артикул

Название

Примечание

Количество

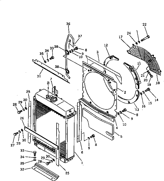
1

134-A62-0210

RADIATOR ASS'Y

SN: 80949-@

1шт.

2

130-03-71270

SHROUD,UPPER

SN: 80949-@

1шт.

3

134-A62-3470

ABSORBER

SN: 80949-@

1шт.

4

130-A62-3510

SHROUD,LOWER

SN: 80949-@

1шт.

5

130-A62-3520

SEAT

SN: 80949-@

1шт.

6

130-03-71280

COVER,L.H.

SN: 80949-@

1шт.

7

130-03-71290

COVER,R.H.

SN: 80949-@

1шт.

8

01010-81025

BOLT

SN: 80949-@

8шт.

9

01602-21030

WASHER,SPRING

SN: 80949-@

8шт.

10

01643-31032

WASHER

SN: 80949-@

4шт.

11

130-03-71310

COVER,L.H.

SN: 80949-81380

1шт.

12

130-03-71320

COVER,R.H.

SN: 80949-81380

1шт.

13

130-03-71330

COVER,LOWER

SN: 80949-81380

1шт.

14

01010-81030

BOLT

SN: 80949-81380

6шт.

15

01602-21030

WASHER,SPRING

SN: 80949-81380

6шт.

16

01643-31032

WASHER

SN: 80949-81380

6шт.

17

130-03-71340

GUARD,FAN

SN: 80949-81380

1шт.

18

130-03-71350

GUARD,FAN

SN: 80949-81380

1шт.

19

01010-81025

BOLT

SN: 80949-@

1шт.

20

01602-21030

WASHER,SPRING

SN: 80949-@

1шт.

21

01643-31032

WASHER

SN: 80949-@

1шт.

22

01011-81005

BOLT

SN: 80949-81380

5шт.

23

01602-21030

WASHER,SPRING

SN: 80949-81380

5шт.

24

01643-31032

WASHER

SN: 80949-81380

5шт.

25

130-03-71240

PLATE

SN: 80949-@

2шт.

26

134-54-21120

PLATE

SN: 80949-@

1шт.

27

01010-81030

BOLT

SN: 80949-@

2шт.

28

01010-81025

BOLT

SN: 80949-@

6шт.

29

01602-21030

WASHER,SPRING

SN: 80949-@

8шт.

30

01643-31032

WASHER

SN: 80949-@

8шт.

31

130-03-71230

COVER,UPPER

SN: 80949-@

1шт.

32

130-03-71251

COVER,LOWER

SN: 80949-@

1шт.

33

01010-81025

BOLT

SN: 80949-@

4шт.

34

01602-21030

WASHER,SPRING

SN: 80949-@

4шт.

35

01643-31032

WASHER

SN: 80949-@

4шт.

36

144-03-15410

TUBE

SN: 80949-@

1шт.

37

04059-01010

WIRE

SN: 80949-@

1шт.

38

6675-61-7380

CLIP

SN: 80949-@

3шт.

Выбрано товаров: 38