Запчасти Komatsu D58P-1B ГУСЕНИЧНАЯ РАМА(№8-) ХОДОВАЯ

Схема запчастей Komatsu D58P-1B - ГУСЕНИЧНАЯ РАМА(№8-) ХОДОВАЯ
FIT
1:1
100%

Артикул

Название

Примечание

Количество

|$1

13F-30-00230

TRACK FRAME ASS'Y,L.H.

SN: 81261-UP

1шт.

|$2

13F-30-00240

TRACK FRAME ASS'Y,R.H.

SN: 81261-UP

1шт.

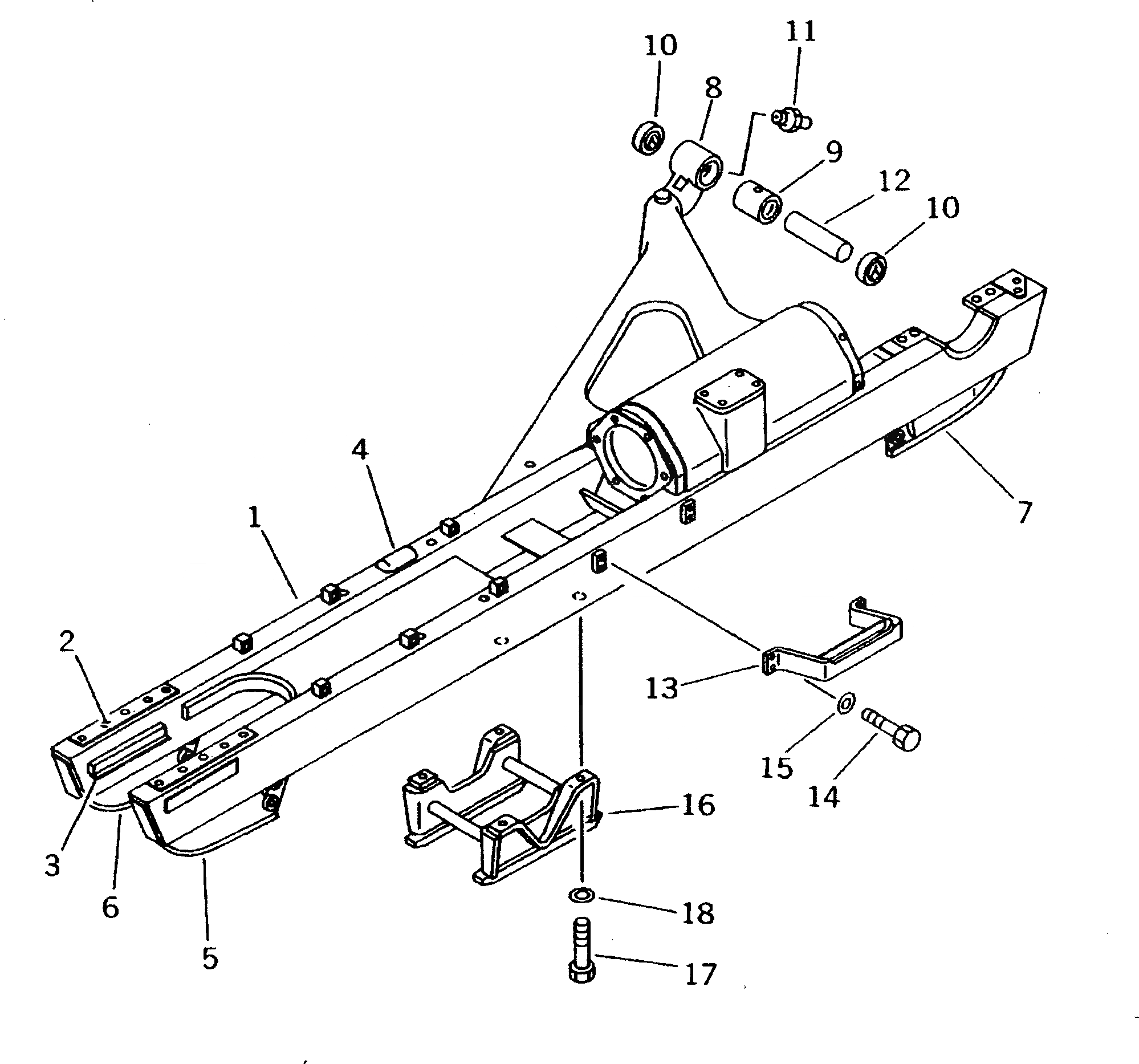
1

13F-30-31210

FRAME,TRACK, L.H.

SN: 81261-UP

1шт.

1

13F-30-31310

FRAME,TRACK, R.H.

SN: 81261-UP

1шт.

2

144-30-51150

PLATE (WELDED)

SN: 81261-UP

2шт.

3

130-30-11134

PLATE (WELDED)

SN: 81261-UP

2шт.

4

130-812-5210

SEAT (WELDED)

SN: 81261-UP

1шт.

5

135-806-2110

GUARD,L.H. OUTER AND R.H. INNER (WELDED)

SN: 81261-UP

1шт.

6

135-806-2120

GUARD,L.H. INNER AND R.H. OUTER (WELDED)

SN: 81261-UP

1шт.

7

13F-30-21210

GUARD,L.H. (WELDED)

SN: 81261-UP

1шт.

7

13F-30-21220

GUARD,R.H. (WELDED)

SN: 81261-UP

1шт.

8

130-30-41140

HEAD (WELDED)

SN: 81261-UP

1шт.

9

135-30-11251

BUSHING

SN: 81261-UP

1шт.

10

130-09-12790

SEAL,DUST

SN: 81261-UP

4шт.

11

07020-00000

FITTING,GREASE

SN: 81261-UP

2шт.

12

135-30-11230

PIN

SN: 81261-UP

2шт.

13

13F-30-35340

STEP

SN: 81261-UP

2шт.

14

01010-51230

BOLT

SN: 81261-UP

8шт.

15

01643-31232

WASHER

SN: 81261-UP

8шт.

16

13F-30-22110

GUARD

SN: 81261-UP

2шт.

17

01010-51645

BOLT

SN: 81261-UP

8шт.

18

01643-31645

WASHER

SN: 81261-UP

8шт.

Выбрано товаров: 22