Запчасти Komatsu D58P-1B ЭЛЕКТРИКА ЭЛЕКТРИКА

Схема запчастей Komatsu D58P-1B - ЭЛЕКТРИКА ЭЛЕКТРИКА
FIT
1:1
100%

Артикул

Название

Примечание

Количество

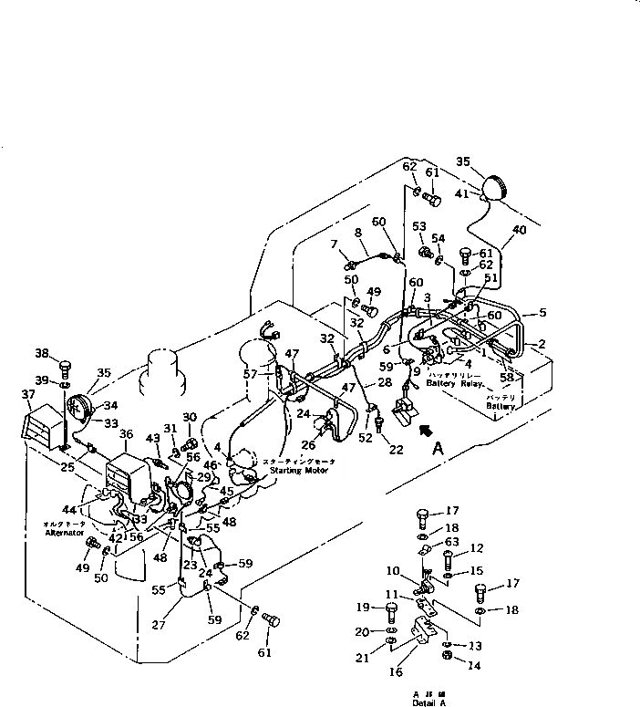
1

08028-14011

WIRE, 110MM

SN: 80588-UP

1шт.

2

144-06-14760

WIRE

SN: 80588-UP

1шт.

3

08028-14065

WIRE, 650MM

SN: 80588-UP

1шт.

4

08038-00035

CAP

SN: 80588-UP

6шт.

5

134-06-31180

WIRE

SN: 81424-UP

1шт.

5

130-06-71210

WIRE

SN: 80588-81423

1шт.

6

144-06-14540

WIRE

SN: 80588-UP

1шт.

7

08064-10000

HORN SWITCH,HORN

SN: 80588-UP

1шт.

8

144-06-14531

WIRE

SN: 80588-UP

1шт.

9

08038-00519

CAP

SN: 80588-UP

2шт.

10

113-06-23250

SWITCH,SAFETY TRANSMISSION

SN: 80588-UP

1шт.

11

135-06-32170

PLATE

SN: 80588-UP

1шт.

12

01220-40430

SCREW

SN: 80588-UP

2шт.

13

01601-20410

WASHER,SPRING

SN: 80588-UP

2шт.

14

01580-10403

NUT

SN: 80588-UP

2шт.

15

01642-20405

WASHER

SN: 80588-UP

2шт.

16

135-06-32111

BRACKET

SN: 80588-UP

1шт.

17

01010-81025

BOLT

SN: 80588-UP

2шт.

18

01640-21016

WASHER

SN: 80588-UP

2шт.

19

01010-81035

BOLT

SN: 80588-UP

2шт.

20

01602-21030

WASHER,SPRING

SN: 80588-UP

2шт.

21

01643-31032

WASHER

SN: 80588-UP

2шт.

22

08620-00000

SENSOR

SN: 80588-UP

1шт.

23

08073-00505

SWITCH

SN: 80588-UP

1шт.

24

08038-00519

CAP

SN: 80588-UP

2шт.

25

08036-01210

CLIP

SN: 80588-UP

2шт.

26

08038-02027

CAP

SN: 80588-UP

2шт.

27

130-06-71230

WIRE

SN: 80588-UP

1шт.

28

144-06-52160

WIRE

SN: 80588-UP

1шт.

29

08160-52400

HORN

SN: 80588-UP

1шт.

30

01010-80816

BOLT

SN: 80588-UP

2шт.

31

01602-20825

WASHER,SPRING

SN: 80588-UP

2шт.

32

198-61-14180

CLIP

SN: 80588-UP

3шт.

33

130-06-64450

CABLE

SN: 80588-UP

2шт.

34

08038-00519

CAP

SN: 80588-UP

2шт.

35

08128-22400

LAMP ASS'Y,WORKING

SN: 80588-UP

3шт.

35

08113-02480

BULB, 80W

SN: 80588-UP

1шт.

36

120-06-33291

BRACKET,L.H.

SN: 80588-UP

1шт.

37

120-06-33281

BRACKET,R.H.

SN: 80588-UP

1шт.

38

01010-81225

BOLT

SN: 80588-UP

6шт.

39

01602-21236

WASHER,SPRING

SN: 80588-UP

6шт.

40

144-06-14561

WIRE

SN: 80588-UP

1шт.

41

08038-00519

CAP

SN: 80588-UP

1шт.

42

134-06-31190

WIRE

SN: 81424-UP

1шт.

42

130-06-71220

WIRE

SN: 80588-81423

1шт.

43

08620-00000

SENSOR,ENGINE WATER

SN: 80588-UP

1шт.

44

08038-00519

CAP

SN: 80588-UP

2шт.

45

08028-43040

CABLE

SN: 84135-UP

1шт.

45

135-06-34170

WIRE

SN: 80588-84134

1шт.

46

08038-02027

CAP

SN: 80588-UP

2шт.

47

08036-03014

CLIP

SN: 80588-UP

2шт.

48

08035-03010

CLIP

SN: 80588-UP

2шт.

49

01010-81016

BOLT

SN: 80588-UP

5шт.

50

01602-21030

WASHER,SPRING

SN: 80588-UP

5шт.

51

08035-01510

CLIP

SN: 80588-UP

3шт.

52

08036-11214

CLIP

SN: 80588-UP

1шт.

53

01010-81016

BOLT

SN: 80588-UP

3шт.

54

01602-21030

WASHER,SPRING

SN: 80588-UP

3шт.

55

08035-01514

CLIP

SN: 80588-UP

2шт.

56

08035-01514

CLIP

SN: 80588-UP

2шт.

57

140-06-18440

CLIP

SN: 80588-UP

1шт.

58

08034-00519

BAND

SN: 80588-UP

9шт.

59

08035-01510

CLIP

SN: 80588-UP

3шт.

60

08035-03010

CLIP

SN: 80588-UP

3шт.

61

01010-81020

BOLT

SN: 80588-UP

4шт.

62

01602-21030

WASHER,SPRING

SN: 80588-UP

4шт.

63

08036-10814

CLIP

SN: 80588-UP

1шт.

Выбрано товаров: 67