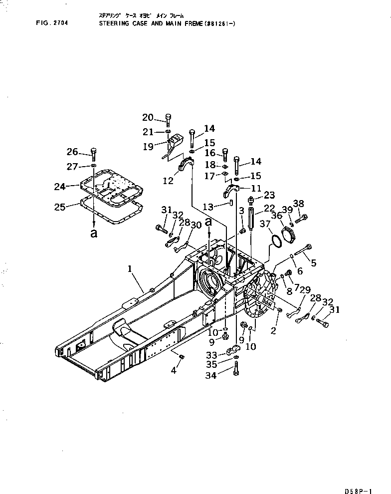
Запчасти Komatsu D58P-1B РУЛЕВ. УПРАВЛЕНИЕ КОРПУС И ОСНОВН. FREME(№8-) ОСНОВН. РАМА И КОМПОНЕНТЫ

Схема запчастей Komatsu D58P-1B - РУЛЕВ. УПРАВЛЕНИЕ КОРПУС И ОСНОВН. FREME(№8-) ОСНОВН. РАМА И КОМПОНЕНТЫ
FIT
1:1
100%

Артикул

Название

Примечание

Количество

1

13G-21-51213

MAIN FRAME ASS'Y

SN: 81261-UP

1шт.

2

131-21-41520

PLUG

SN: 81261-UP

4шт.

3

07049-02430

PLUG

SN: 81261-UP

12шт.

4

07049-02430

PLUG

SN: 81261-UP

8шт.

5

134-21-31140

GAUGE,LEVEL

SN: 81261-UP

1шт.

6

07002-03634

O-RING

SN: 81261-UP

1шт.

7

135-27-11151

PLUG

SN: 81261-UP

2шт.

8

07002-03634

O-RING

SN: 81261-UP

2шт.

9

07044-13620

PLUG

SN: 81261-UP

3шт.

10

07002-03634

O-RING

SN: 81261-UP

3шт.

11

135-21-31240

RETAINER,L.H.

SN: 81261-UP

1шт.

12

135-21-31220

RETAINER,R.H.

SN: 81261-UP

1шт.

13

04020-00616

PIN,DOWEL

SN: 81261-UP

2шт.

14

01019-22000

BOLT

SN: 81261-UP

4шт.

15

01643-32060

WASHER

SN: 81261-UP

4шт.

16

01010-50816

BOLT

SN: 81261-UP

2шт.

17

130-21-12322

LOCK

SN: 81261-UP

2шт.

18

130-21-12330

LOCK

SN: 81261-UP

2шт.

19

130-21-61422

FILLER

SN: 81261-UP

1шт.

20

01010-51020

BOLT

SN: 81261-UP

2шт.

21

01602-21030

WASHER,SPRING

SN: 81261-UP

2шт.

22

130-21-71440

NIPPLE

SN: 81261-UP

2шт.

23

07030-10252

BREATHER

SN: 81261-UP

2шт.

24

130-21-71380

COVER

SN: 81261-UP

1шт.

25

130-21-71391

GASKET

SN: 81261-UP

1шт.

26

01010-51440

BOLT

SN: 81261-UP

8шт.

27

01602-21442

WASHER,SPRING

SN: 81261-UP

8шт.

28

135-21-31230

COVER

SN: 81261-UP

2шт.

29

130-21-61281

GASKET,L.H.

SN: 81261-UP

1шт.

30

130-21-61291

GASKET,R.H.

SN: 81261-UP

1шт.

31

01010-31425

BOLT

SN: 81261-UP

4шт.

32

01602-21442

WASHER,SPRING

SN: 81261-UP

4шт.

33

131-21-41290

CAP

SN: 81261-UP

4шт.

34

01010-52280

BOLT

SN: 81261-UP

8шт.

35

01643-32260

WASHER

SN: 81261-UP

8шт.

36

131-21-41222

COVER

SN: 81261-UP

1шт.

37

07000-05185

O-RING

SN: 81261-UP

1шт.

38

01010-51430

BOLT

SN: 81261-UP

6шт.

39

01602-21442

WASHER,SPRING

SN: 81261-UP

6шт.

Выбрано товаров: 39