Запчасти Komatsu D58P-1C НАСОС ТРАНСМИССИИ ОСНОВН. КОМПОНЕНТЫ И РЕМКОМПЛЕКТЫ

Схема запчастей Komatsu D58P-1C - НАСОС ТРАНСМИССИИ ОСНОВН. КОМПОНЕНТЫ И РЕМКОМПЛЕКТЫ
FIT
1:1
100%

Артикул

Название

Примечание

Количество

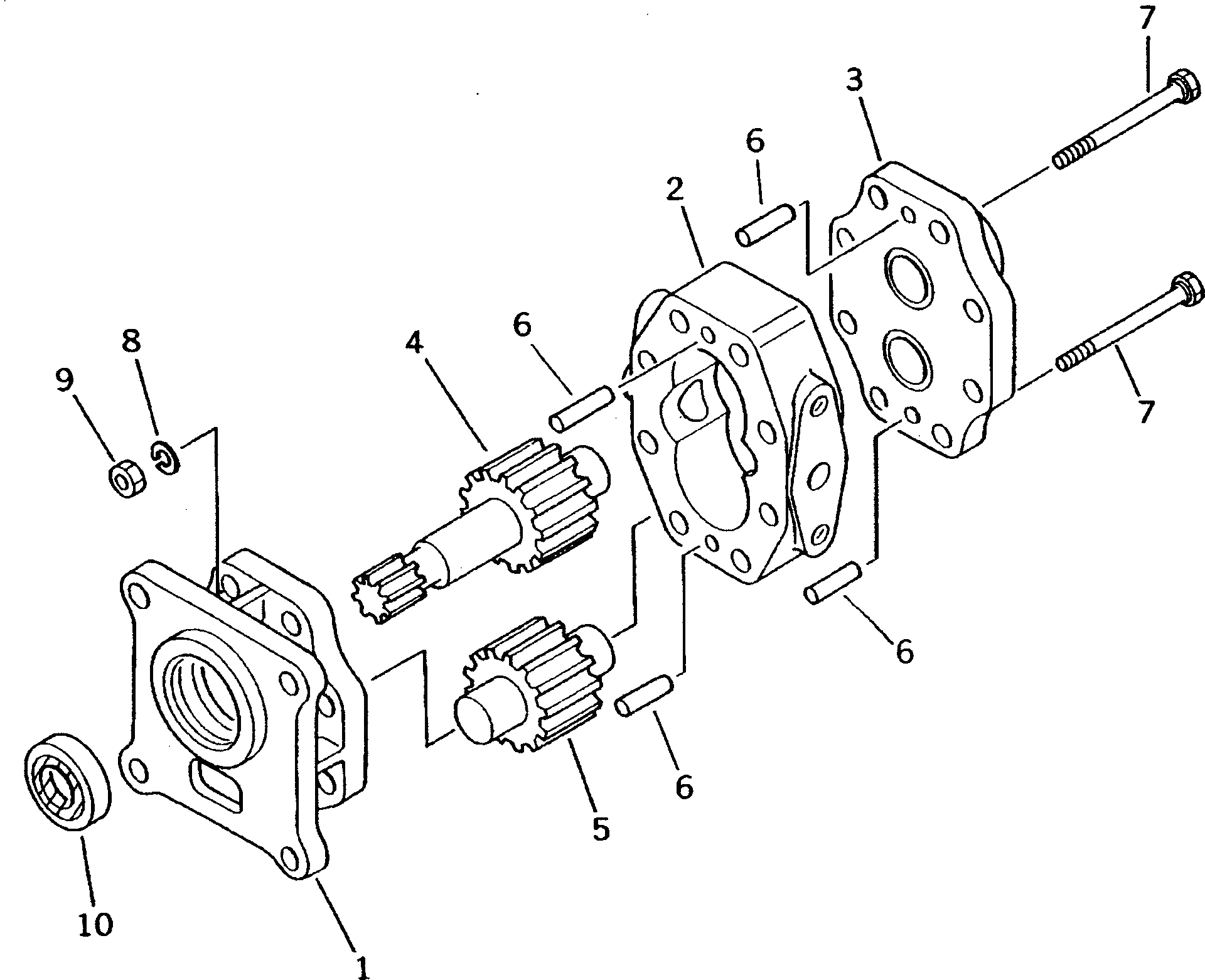
|$1

07432-72203

PUMP ASS'Y

SN: 80588-UP

1шт.

1

07430-72112

BRACKET

SN: 80588-UP

1шт.

1

07430-71150

BUSHING,PLANE

SN: 80588-UP

2шт.

2

07432-71221

CASE,GEAR

SN: 80588-UP

1шт.

3

07430-71132

HOUSING

SN: 80588-UP

1шт.

3

07430-71150

BUSHING,PLANE

SN: 80588-UP

2шт.

4

07432-71042

GEAR,DRIVE

SN: 80588-UP

1шт.

5

07432-71052

GEAR,DRIVEN

SN: 80588-UP

1шт.

6

04020-00820

PIN,DOWEL

SN: 80588-UP

4шт.

7

01050-51290

BOLT

SN: 80588-UP

6шт.

8

01602-21236

WASHER,SPRING

SN: 80588-UP

8шт.

9

01582-11210

NUT

SN: 80588-UP

8шт.

10

07430-71160

SEAL,OIL

SN: 80588-UP

1шт.

Выбрано товаров: 13