Запчасти Komatsu D58P-1C ГИДР. БАК. AND КЛАПАН (/7) (ДЛЯ ПОВОРОТН. ОТВАЛА С ИЗМ. УГЛОМ DOZER)(№8-) ОСНОВН. КОМПОНЕНТЫ И РЕМКОМПЛЕКТЫ

Схема запчастей Komatsu D58P-1C - ГИДР. БАК. AND КЛАПАН (/7) (ДЛЯ ПОВОРОТН. ОТВАЛА С ИЗМ. УГЛОМ DOZER)(№8-) ОСНОВН. КОМПОНЕНТЫ И РЕМКОМПЛЕКТЫ
FIT
1:1
100%

Артикул

Название

Примечание

Количество

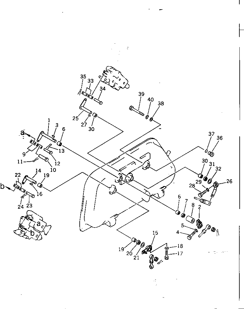
|$1

13F-60-31001

TANK VALVE ASS'Y

SN: 81261-UP

1шт.

|$$2

THIS ASSEMBLY CONSISTS OF ALL PARTS SHOWN IN FIGS.Y1664-01A0 T0 Y1664-07A0.

-1шт.

1

130-Z20-5350

LEVER

SN: 81261-UP

1шт.

2

130-60-71110

LEVER

SN: 81261-UP

1шт.

3

04010-00519

KEY

SN: 81261-UP

1шт.

4

01010-50830

BOLT

SN: 81261-UP

1шт.

5

01602-20825

WASHER,SPRING

SN: 81261-UP

1шт.

6

06120-02016

BEARING,NEEDLE

SN: 81261-UP

2шт.

7

130-09-11450

SEAL,OIL

SN: 81261-UP

1шт.

8

130-60-63170

COLLAR

SN: 81261-UP

1шт.

9

130-Z20-5230

YOKE

SN: 81261-UP

2шт.

10

04205-01430

PIN

SN: 81261-UP

1шт.

11

04050-04022

PIN,COTTER

SN: 81261-UP

1шт.

12

04205-01028

PIN

SN: 81261-UP

1шт.

13

04050-03015

PIN,COTTER

SN: 81261-UP

1шт.

14

130-Z20-5360

LEVER

SN: 81261-UP

1шт.

15

13F-60-31170

LEVER

SN: 81261-UP

1шт.

16

04010-00519

KEY

SN: 81261-UP

1шт.

17

01010-50830

BOLT

SN: 81261-UP

1шт.

18

01602-20825

WASHER,SPRING

SN: 81261-UP

1шт.

19

06120-02016

BEARING,NEEDLE

SN: 81261-UP

2шт.

20

130-09-11450

SEAL,OIL

SN: 81261-UP

1шт.

21

130-60-43150

PLATE

SN: 81261-UP

1шт.

22

141-60-32170

YOKE

SN: 81261-UP

2шт.

23

04205-01028

PIN

SN: 81261-UP

2шт.

24

04050-03015

PIN,COTTER

SN: 81261-UP

2шт.

25

130-78-63210

LEVER

SN: 81261-UP

1шт.

26

13F-60-31160

LEVER

SN: 81261-UP

1шт.

27

04010-00519

KEY

SN: 81261-UP

1шт.

28

01010-50830

BOLT

SN: 81261-UP

1шт.

29

01602-20825

WASHER,SPRING

SN: 81261-UP

1шт.

30

06120-02016

BEARING,NEEDLE

SN: 81261-UP

2шт.

31

130-09-11450

SEAL,OIL

SN: 81261-UP

1шт.

32

130-60-43150

PLATE

SN: 81261-UP

1шт.

33

141-60-32170

YOKE

SN: 81261-UP

2шт.

34

04205-01028

PIN

SN: 81261-UP

2шт.

35

04050-03015

PIN,COTTER

SN: 81261-UP

2шт.

36

140-60-13350

PLUG

SN: 81261-UP

1шт.

37

07000-03020

O-RING

SN: 81261-UP

1шт.

38

140-60-13360

COLLAR

SN: 81261-UP

1шт.

39

01010-31070

BOLT

SN: 81261-UP

1шт.

40

01602-01030

WASHER,SPRING

SN: 81261-UP

1шт.

Выбрано товаров: 42