Запчасти Komatsu D58P-1C КРЕПЛЕНИЕ ДВИГАТЕЛЯ КОМПОНЕНТЫ ДВИГАТЕЛЯ

Схема запчастей Komatsu D58P-1C - КРЕПЛЕНИЕ ДВИГАТЕЛЯ КОМПОНЕНТЫ ДВИГАТЕЛЯ
FIT
1:1
100%

Артикул

Название

Примечание

Количество

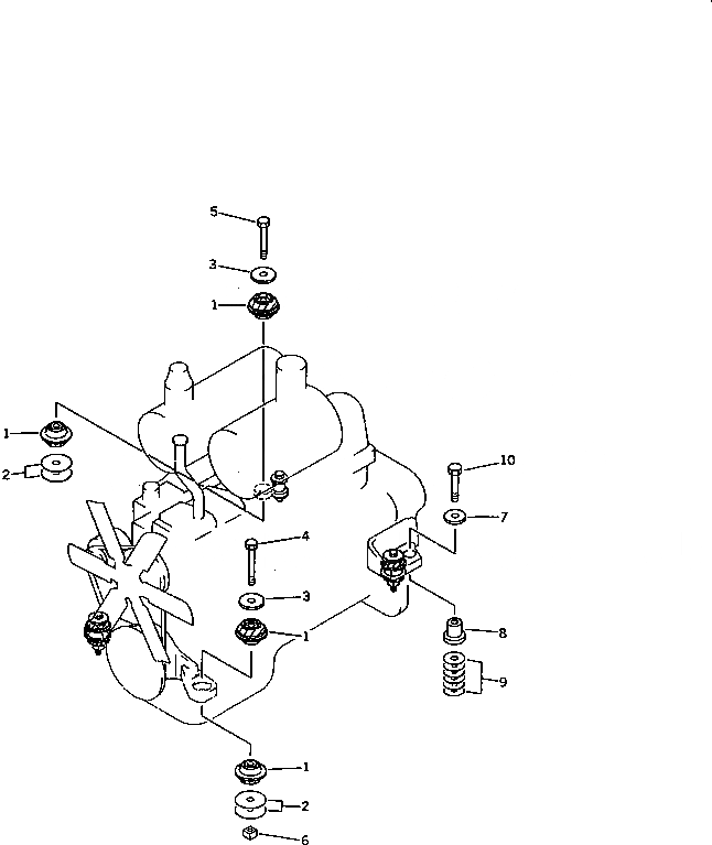
1

135-01-31260

CUSHION

SN: 80588-UP

8шт.

2

135-01-31180

SHIM, 1.0MM

SN: 80588-UP

8шт.

3

135-01-31170

WASHER

SN: 80588-UP

4шт.

4

01019-11850

BOLT

SN: 80588-UP

3шт.

5

01019-11820

BOLT

SN: 80588-UP

1шт.

6

135-01-31160

NUT

SN: 80588-UP

3шт.

7

135-01-31210

SPACER

SN: 80588-UP

2шт.

8

130-01-61130

SPACER

SN: 80588-UP

2шт.

9

135-01-05100

SHIM ASS'Y

SN: 80588-UP

2шт.

9

0

SHIM, 0.2MM

SN: 80588-UP

3шт.

9

0

SHIM, 1.0MM

SN: 80588-UP

3шт.

10

01019-12205

BOLT

SN: 80588-UP

2шт.

Выбрано товаров: 12