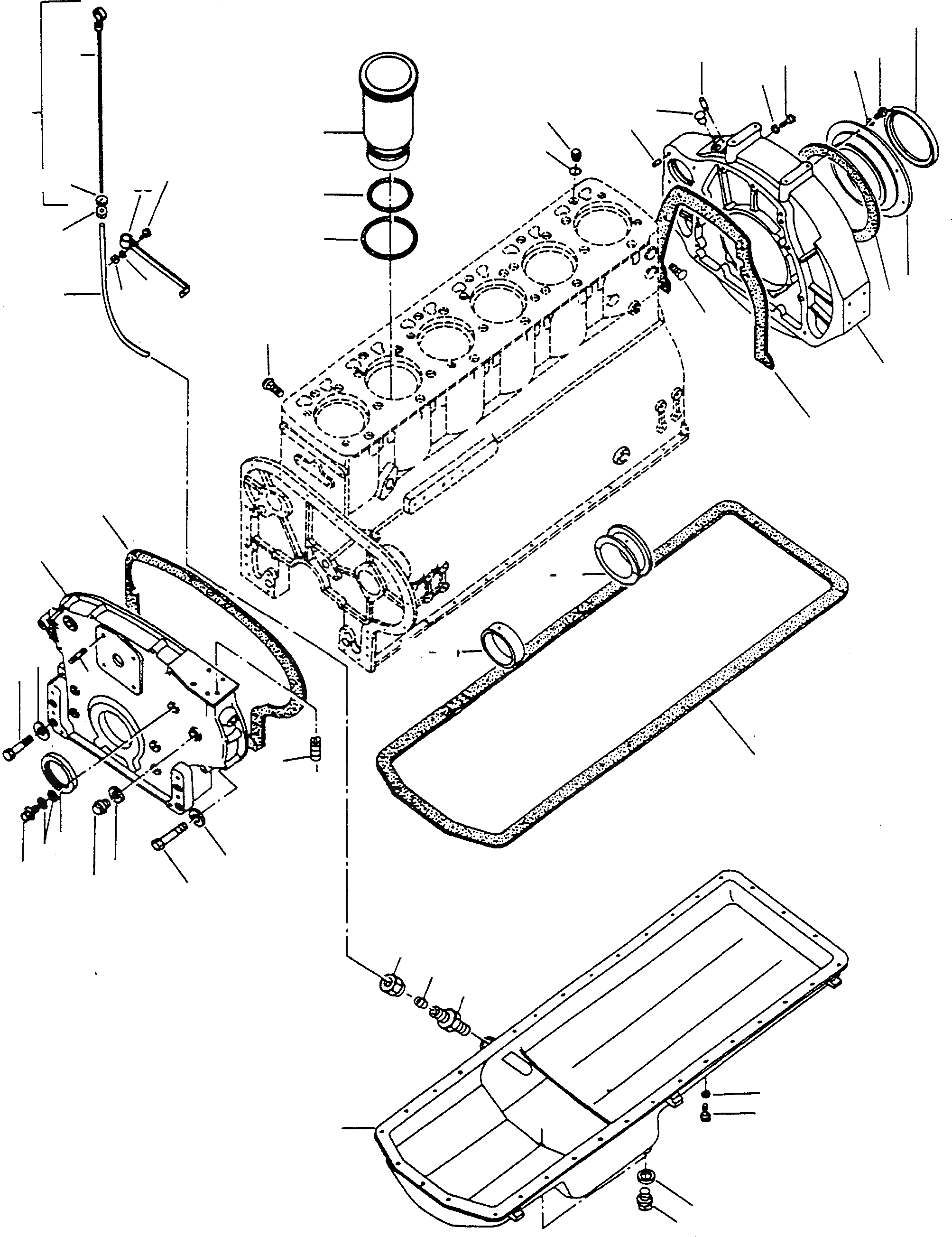
Запчасти Komatsu D600D TIMING КОРПУС ШЕСТЕРЕНН. ПЕРЕДАЧИ И КАРТЕР МАХОВИКА ДВИГАТЕЛЬ, АКСЕССУАРЫ И ЭЛЕКТРИЧ. СИСТЕМА

Схема запчастей Komatsu D600D - TIMING КОРПУС ШЕСТЕРЕНН. ПЕРЕДАЧИ И КАРТЕР МАХОВИКА ДВИГАТЕЛЬ, АКСЕССУАРЫ И ЭЛЕКТРИЧ. СИСТЕМА
19
54
21
60
26
59
4
23
10
22
49
40
44
24
55
25
28
53
27
13
29
14
56
15
18
61
57
20
62
30
30
16
17
2
1
35
39
5
12
34
45
3
11
7
9
8
6
33
32
31
52
51
47
50
FIT
1:1
100%

Артикул

Название

Примечание

Количество

1

2870927M1

COVER

DeutschDesc: DECKEL

1шт.

2

2870925M1

GASKET

DeutschDesc: DICHTUNG

1шт.

3

2998590M2

SEAL

DeutschDesc: DICHTRING

1шт.

4

1443651X1

SCREW

DeutschDesc: SCHRAUBE

4шт.

5

1443789X1

SPRING WASHER

DeutschDesc: FEDERRING

4шт.

6

1443650X1

SCREW

DeutschDesc: SCHRAUBE

7шт.

7

1443789X1

SPRING WASHER

DeutschDesc: FEDERRING

7шт.

8

1441511X1

SCREW

DeutschDesc: SCHRAUBE

1шт.

9

390855X1

SEAL

DeutschDesc: DICHTRING

1шт.

10

339423X1

SCREW

DeutschDesc: SCHRAUBE

1шт.

11

391376X1

SEAL

DeutschDesc: DICHTRING

2шт.

12

1443730X1

STUD BOLT

DeutschDesc: STIFTSCHRAUBE

4шт.

13

3076987M1

LINER

DeutschDesc: LAUFBUCHSE

6шт.

14

2997353M1

O-RING

DeutschDesc: O-RING

6шт.

15

2869916M2

SEAL

DeutschDesc: DICHTRING

12шт.

16

2871110M1

HOUSING

DeutschDesc: GEHAEUSE

1шт.

17

2871070M1

GASKET

DeutschDesc: DICHTUNG

1шт.

18

2969529M1

CARRIER

DeutschDesc: TRAEGER

1шт.

19

2999623M3

SEAL

DeutschDesc: DICHTRING

1шт.

20

2870935M1

SEAL

DeutschDesc: DICHTRING

1шт.

21

339123X1

SCREW

DeutschDesc: SCHRAUBE

6шт.

22

1443789X1

SPRING WASHER

DeutschDesc: FEDERRING

6шт.

23

1444093X1

SCREW

DeutschDesc: SCHRAUBE

9шт.

24

1443792X1

SPRING WASHER

DeutschDesc: FEDERRING

9шт.

25

2999793M1

PLUG

DeutschDesc: VERSCHLUSSSTOPFEN

1шт.

26

2868010M1

POINTER

DeutschDesc: ZEIGER

1шт.

27

1444224X1

STUD BOLT

DeutschDesc: STIFTSCHRAUBE

3шт.

28

2976200M1

TUBE

DeutschDesc: ROHR

6шт.

29

2997352M1

SEAL

DeutschDesc: DICHTRING

6шт.

30

1444207X1

SCREW

DeutschDesc: SCHRAUBE

4шт.

31

390848X91

UNION

DeutschDesc: VERSCHRAUBUNG

1шт.

32

1443840X1

OLIVE

DeutschDesc: SCHNEIDRING

1шт.

33

339995X1

BOXNUT

DeutschDesc: UEBERWURFMUTTER

1шт.

34

3005574X1

GRUB SCREW

DeutschDesc: GEWINDESTIFT

1шт.

35

2870835M91

LAPPED BEARING

EnglischBem: Ш 105,00 MM

1шт.

36

2870859M91

LAPPED BEARING

EnglischBem: Ш 104,75 MM

1шт.

37

2870860M91

LAPPED BEARING

EnglischBem: Ш 104,50 MM

1шт.

38

2870861M91

LAPPED BEARING

EnglischBem: Ш 104,25 MM

1шт.

39

2870862M91

LAPPED BEARING

EnglischBem: Ш 104,00 MM

1шт.

40

2870836M91

CRANKSHAFT BEARING

EnglischBem: Ш 105,00 MM

6шт.

41

2870863M91

CRANKSHAFT BEARING

EnglischBem: Ш 104,75 MM

6шт.

42

2870864M91

CRANKSHAFT BEARING

EnglischBem: Ш 104,50 MM

6шт.

43

2870865M91

CRANKSHAFT BEARING

EnglischBem: Ш 104,25 MM

6шт.

44

2870866M91

CRANKSHAFT BEARING

EnglischBem: Ш 104,00 MM

6шт.

45

2872191M1

GASKET

DeutschDesc: DICHTUNG

1шт.

46

NOT USED

DeutschDesc: NICHT VERWENDET

-1шт.

47

3089030M1

SUMP

DeutschDesc: OELWANNE

1шт.

48

NOT USED

DeutschDesc: NICHT VERWENDET

-1шт.

49

1443748X1

PLUG

DeutschDesc: VERSCHLUSSSTOPFEN

2шт.

50

391313X1

SEAL

DeutschDesc: DICHTRING

2шт.

51

339337X1

SCREW

DeutschDesc: SCHRAUBE

33шт.

52

1443789X1

SPRING WASHER

DeutschDesc: FEDERRING

33шт.

53

2972601M1

OIL DIPSTICK

DeutschDesc: OELMESSSTAB

1шт.

54

NOT USED

DeutschDesc: NICHT VERWENDET

-1шт.

55

2871668M1

SEAL

DeutschDesc: DICHTRING

1шт.

56

NOT USED

DeutschDesc: NICHT VERWENDET

-1шт.

57

3089031M1

TUBE

DeutschDesc: ROHR

1шт.

58

NOT USED

DeutschDesc: NICHT VERWENDET

-1шт.

59

2872213M1

CLIP

DeutschDesc: SCHELLE

1шт.

60

339560X1

SCREW

DeutschDesc: SCHRAUBE

1шт.

61

1443791X1

SPRING WASHER

DeutschDesc: FEDERRING

1шт.

62

339030X1

NUT

DeutschDesc: MUTTER

1шт.

Выбрано товаров: 0