Запчасти Komatsu D600D УПРАВЛЯЮЩ. КЛАПАН, TWO WAYS УПРАВЛЯЮЩ. КЛАПАН, TWO WAYS

Схема запчастей Komatsu D600D - УПРАВЛЯЮЩ. КЛАПАН, TWO WAYS УПРАВЛЯЮЩ. КЛАПАН, TWO WAYS
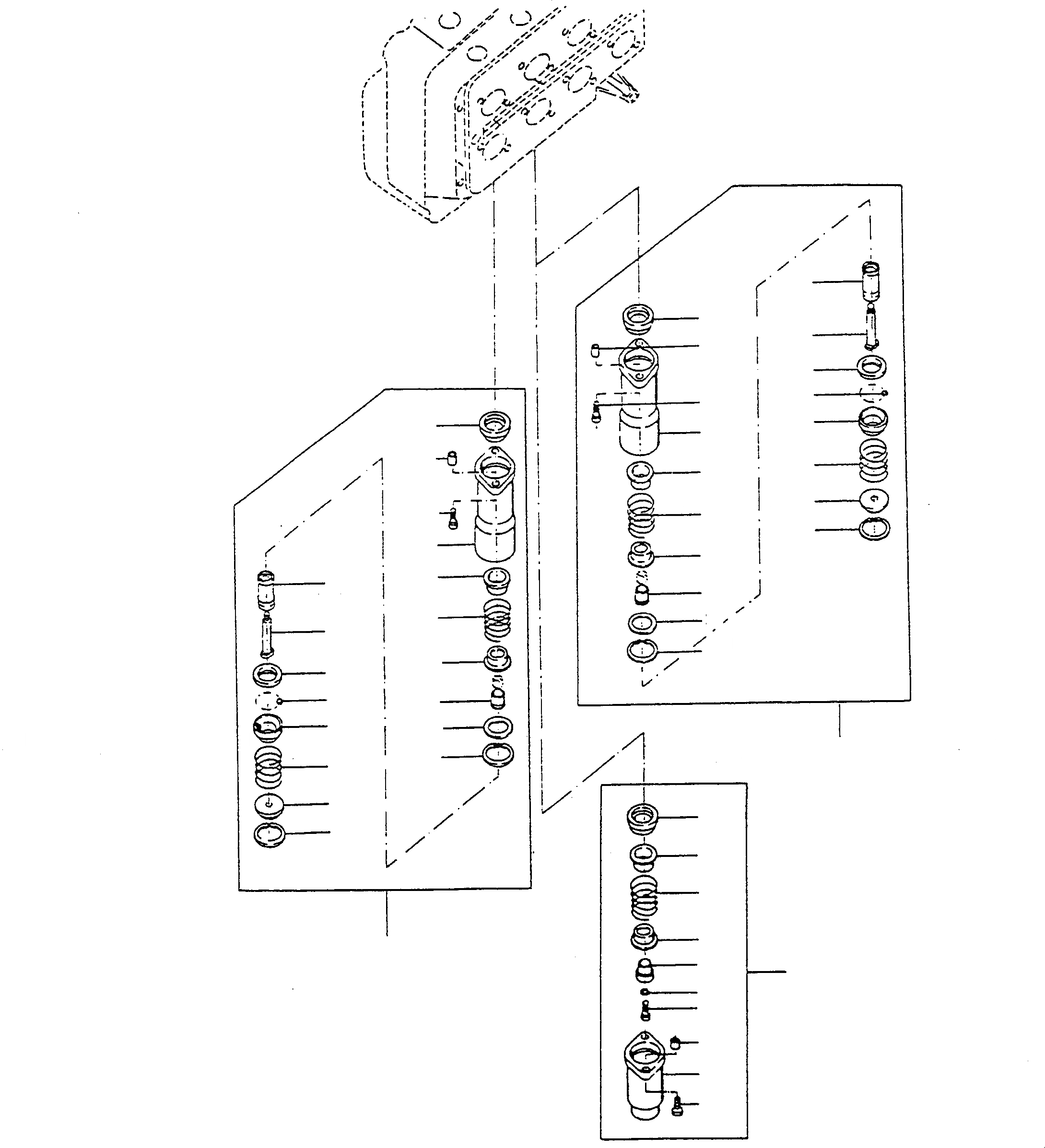
32
24
23
17
15
14
12
10
4
1
27
19
18
44
42
43
42
41
40
39
38
36
37
35
26
34
25
33
22
31
16
21
29
20
30
19
29
12
9
28
13
8
7
6
11
5
2
3
2
FIT
1:1
100%

Артикул

Название

Примечание

Количество

1

2994006M91

SPRING POT

DeutschDesc: FEDERTOPF

1шт.

2

3006710X1

CIRCLIP

DeutschDesc: SICHERUNGSRING

2шт.

3

2906668M1

DISC

DeutschDesc: SCHEIBE

1шт.

4

2906672M1

COMPRESSION SPRING

DeutschDesc: DRUCKFEDER

1шт.

5

2906665M1

RING

DeutschDesc: RING

1шт.

6

1441767X1

BALL

DeutschDesc: KUGEL

16шт.

7

2906667M1

DISC

DeutschDesc: SCHEIBE

1шт.

8

2906808M1

PIN

DeutschDesc: BOLZEN

1шт.

9

2906809M1

SLEEVE

DeutschDesc: HUELSE

1шт.

10

2906669M1

THRUST WASHER

DeutschDesc: ANLAUFSCHEIBE

1шт.

11

2906664M1

SLEEVE

DeutschDesc: HUELSE

1шт.

12

2906670M1

SLEEVE

DeutschDesc: HUELSE

1шт.

13

2906671M1

COMPRESSION SPRING

DeutschDesc: DRUCKFEDER

1шт.

14

2906663M1

SPRING POT

DeutschDesc: FEDERTOPF

1шт.

15

390796X1

SCREW

DeutschDesc: SCHRAUBE

2шт.

16

3000052X1

ADAPTER SLEEVES

DeutschDesc: SPANNHUELSE

2шт.

17

2906805M1

RETAINER

DeutschDesc: HALTERING

1шт.

18

2907039M8

SPRING POT

DeutschDesc: FEDERTOPF

1шт.

19

2906674M1

CIRCLIP

DeutschDesc: SICHERUNGSRING

2шт.

20

2906668M1

DISC

DeutschDesc: SCHEIBE

1шт.

21

2906841M1

COMPRESSION SPRING

DeutschDesc: DRUCKFEDER

1шт.

22

2906665M1

RING

DeutschDesc: RING

1шт.

23

1441767X1

BALL

DeutschDesc: KUGEL

16шт.

24

2906667M1

DISC

DeutschDesc: SCHEIBE

1шт.

25

2906808M1

PIN

DeutschDesc: BOLZEN

1шт.

26

2906809M1

SLEEVE

DeutschDesc: HUELSE

1шт.

27

2906806M1

THRUST WASHER

DeutschDesc: ANLAUFSCHEIBE

1шт.

28

2906664M1

SLEEVE

DeutschDesc: HUELSE

1шт.

29

2906670M1

SLEEVE

DeutschDesc: HUELSE

2шт.

30

2906842M1

COMPRESSION SPRING

DeutschDesc: DRUCKFEDER

1шт.

31

2906663M1

SPRING POT

DeutschDesc: FEDERTOPF

1шт.

32

390796X1

SCREW

DeutschDesc: SCHRAUBE

2шт.

33

3000052X1

ADAPTER SLEEVES

DeutschDesc: SPANNHUELSE

2шт.

34

2906805M1

RETAINER

DeutschDesc: HALTERING

1шт.

35

3071624M91

SPRING POT

DeutschDesc: FEDERTOPF

1шт.

36

2906716M1

SPRING POT

DeutschDesc: FEDERTOPF

1шт.

37

390796X1

SCREW

DeutschDesc: SCHRAUBE

2шт.

38

3000052X1

ADAPTER SLEEVES

DeutschDesc: SPANNHUELSE

2шт.

39

3004741X1

SCREW

DeutschDesc: SCHRAUBE

1шт.

40

391037X1

SPRING WASHER

DeutschDesc: FEDERRING

1шт.

41

2906835M1

SLEEVE

DeutschDesc: HUELSE

1шт.

42

2906836M1

SLEEVE

DeutschDesc: HUELSE

2шт.

43

2906824M1

PLUG

DeutschDesc: VERSCHLUSSSTOPFEN

1шт.

44

3072287M1

RETAINER

DeutschDesc: HALTERING

1шт.

Выбрано товаров: 44