Запчасти Komatsu D600D ЦИЛИНДР ЧАСТИ КОРПУСА, НАКЛОН. ОТВАЛ ГИДРАВЛИКА

Схема запчастей Komatsu D600D - ЦИЛИНДР ЧАСТИ КОРПУСА, НАКЛОН. ОТВАЛ ГИДРАВЛИКА
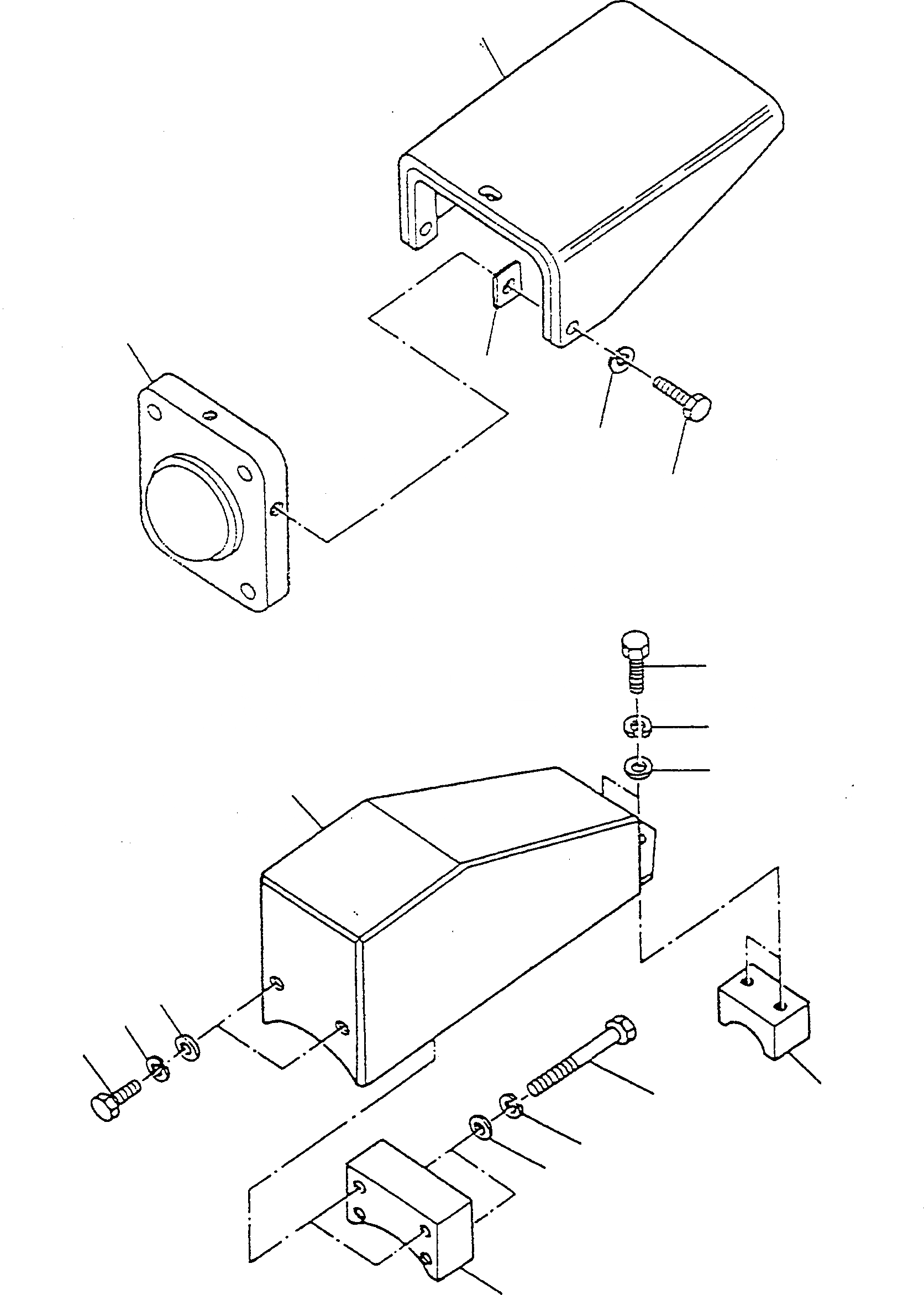
1
9
12
2
5
4
3
11
12
6
11
9
8
10
11
12
7
FIT
1:1
100%

Артикул

Название

Примечание

Количество

1

2972566M91

PROTECTOR

DeutschDesc: SCHUTZ

1шт.

2

2972567M1

BALL SOCKET

DeutschDesc: KUGELPFANNE

1шт.

3

391421X1

SCREW

DeutschDesc: SCHRAUBE

3шт.

4

2994704M1

SPRING WASHER

DeutschDesc: FEDERRING

3шт.

5

3075298M1

ADJ SLIDE

DeutschDesc: EINSTELLBLECH

4шт.

6

2978875M91

PROTECTOR

DeutschDesc: SCHUTZ

1шт.

7

2978880M1

BLOCK

DeutschDesc: KLOTZ

1шт.

8

2978881M1

BLOCK

DeutschDesc: KLOTZ

1шт.

9

339249X1

ADAPTER SLEEVES

DeutschDesc: SPANNHUELSE

4шт.

10

1444028X1

SCREW

DeutschDesc: SCHRAUBE

2шт.

11

2994718M1

SPRING WASHER

DeutschDesc: FEDERRING

6шт.

Выбрано товаров: 11