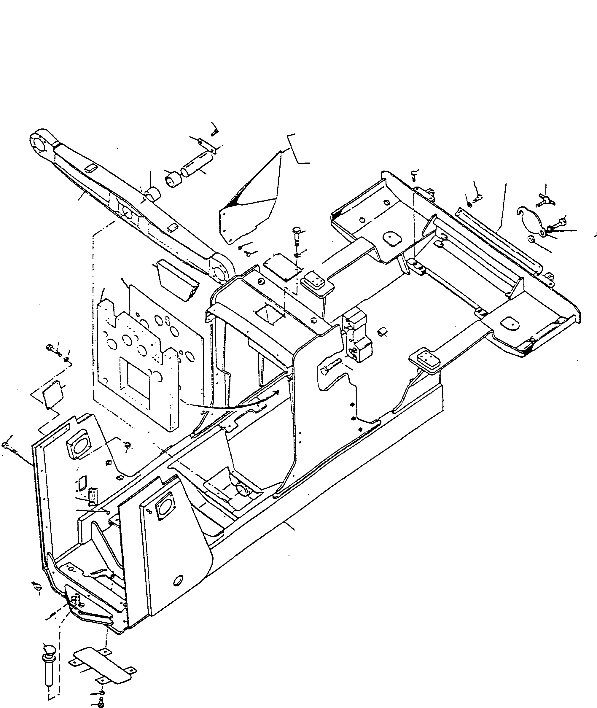
Запчасти Komatsu D600D Super РАМА ШАССИ И SUPERSTRUCTURE

Схема запчастей Komatsu D600D Super - РАМА ШАССИ И SUPERSTRUCTURE
28
25
26
27
22
21
23
36
35
34
10
19
12
14
5
13
16
17
24
37
18
14
15
38
20
33
30
31
11
29
39
32
2
3
1
7
8
9
4
6
5
FIT
1:1
100%

Артикул

Название

Примечание

Количество

1

4000074M91

FRAME

DeutschDesc: RAHMEN

1шт.

2

2902768M1

COVERING

DeutschDesc: ABDECKUNG

1шт.

3

1444131X1

SCREW

DeutschDesc: SCHRAUBE

2шт.

4

3093555M91

COVER

DeutschDesc: DECKEL

1шт.

5

339139X1

SCREW

DeutschDesc: SCHRAUBE

8шт.

6

2994718M1

SPRING WASHER

DeutschDesc: FEDERRING

4шт.

7

2905261M1

PAWL

DeutschDesc: SPERRKLINKE

1шт.

8

2995263X1

ADAPTER SLEEVES

DeutschDesc: SPANNHUELSE

1шт.

9

2905260M1

PIN

DeutschDesc: BOLZEN

1шт.

10

2999763M1

ADAPTER SLEEVES

DeutschDesc: SPANNHUELSE

4шт.

11

1444085X1

SCREW

DeutschDesc: SCHRAUBE

12шт.

12

1444103X1

SCREW

DeutschDesc: SCHRAUBE

4шт.

13

4001322M91

COVER

DeutschDesc: DECKEL

1шт.

14

2994718M1

SPRING WASHER

DeutschDesc: FEDERRING

10шт.

15

2987887M1

COVER

DeutschDesc: DECKEL

1шт.

16

2987888M91

TOMMY SCREW

DeutschDesc: KNEBELSCHRAUBE

1шт.

17

339761X1

SCREW

DeutschDesc: SCHRAUBE

1шт.

18

390972X1

PLAIN WASHER

DeutschDesc: UNTERLEGSCHEIBE

1шт.

19

3000146X1

CUP SPRING

DeutschDesc: TELLERFEDER

1шт.

20

339169X1

NUT

DeutschDesc: MUTTER

1шт.

21

4000044M91

SIDE

EnglischBem: LEFT

1шт.

22

4000045M91

SIDE

EnglischBem: RIGHT

1шт.

23

339020X1

SCREW

DeutschDesc: SCHRAUBE

6шт.

24

3093541M91

BRIDGE PIECE

DeutschDesc: TRAVERSE

1шт.

25

4001078M1

BUSHING

DeutschDesc: BUCHSE

2шт.

26

4001077M1

PIN

DeutschDesc: BOLZEN

1шт.

27

4000443M1

BRACKET

DeutschDesc: HALTER

1шт.

28

3004451X1

SCREW

DeutschDesc: SCHRAUBE

2шт.

29

NOT USED

DeutschDesc: NICHT VERWENDET

-1шт.

30

NOT USED

DeutschDesc: NICHT VERWENDET

-1шт.

31

NOT USED

DeutschDesc: NICHT VERWENDET

-1шт.

32

NOT USED

DeutschDesc: NICHT VERWENDET

-1шт.

33

4020459M1

PLATE

DeutschDesc: PLATTE

1шт.

34

4020458M1

INSULATING MAT

DeutschDesc: DAEMMATTE

1шт.

35

4020460M1

INSULATING MAT

DeutschDesc: DAEMMATTE

1шт.

36

NOT USED

DeutschDesc: NICHT VERWENDET

-1шт.

37

NOT USED

DeutschDesc: NICHT VERWENDET

-1шт.

38

NOT USED

DeutschDesc: NICHT VERWENDET

-1шт.

39

1444063X1

SCREW

DeutschDesc: SCHRAUBE

4шт.

Выбрано товаров: 0