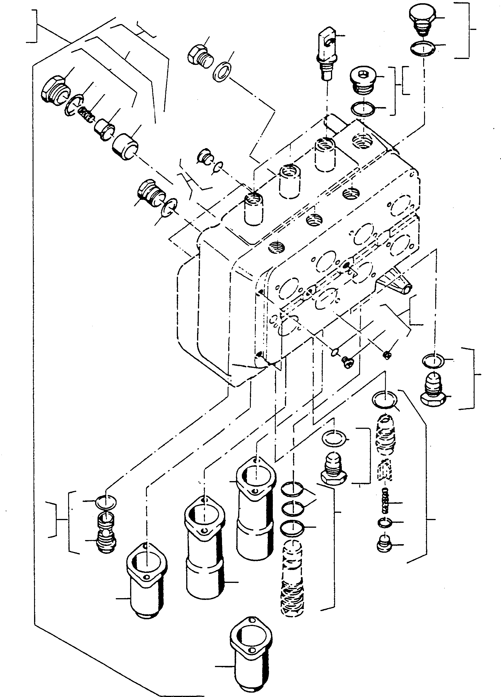
Запчасти Komatsu D600D Super УПРАВЛЯЮЩ. КЛАПАН УПРАВЛЯЮЩ. КЛАПАН

Схема запчастей Komatsu D600D Super - УПРАВЛЯЮЩ. КЛАПАН УПРАВЛЯЮЩ. КЛАПАН
1
35
14
3
37
23A
4
34
34
2
28
38
36
13
16
15
3
7
17
4
18
19
6
11
12
3
4
26
27
3
10
4
9
8
36
35
30
36
35
23
34
21
6
32
20
3
29
31
22
4
5
33
24
25
FIT
1:1
100%

Артикул

Название

Примечание

Количество

1

4021019M91

VALVE

DeutschDesc: VENTIL

1шт.

2

NOT USED

DeutschDesc: NICHT VERWENDET

-1шт.

3

NOT USED

DeutschDesc: NICHT VERWENDET

-1шт.

4

3077006M91

VALVE BODY

DeutschDesc: VENTILKOERPER

1шт.

5

2906831M1

BUSHING

DeutschDesc: BUCHSE

1шт.

6

1444785X1

O-RING

DeutschDesc: O-RING

2шт.

7

1443744X1

PLUG

DeutschDesc: VERSCHLUSSSTOPFEN

1шт.

8

3004779X1

GRUB SCREW

DeutschDesc: GEWINDESTIFT

2шт.

9

2994003M1

PLUG

DeutschDesc: VERSCHLUSSSTOPFEN

2шт.

10

3001964X1

O-RING

DeutschDesc: O-RING

1шт.

11

2994004M1

PLUG

DeutschDesc: VERSCHLUSSSTOPFEN

1шт.

12

3001962X1

O-RING

DeutschDesc: O-RING

2шт.

13

2906982M91

CHECK VALVE

DeutschDesc: RUECKSCHLAGVENTIL

3шт.

14

NOT USED

DeutschDesc: NICHT VERWENDET

-1шт.

15

2907031M91

VALVE

DeutschDesc: VENTIL

3шт.

16

2906710M1

PLUG

DeutschDesc: VERSCHLUSSSTOPFEN

3шт.

17

3004897X1

O-RING

DeutschDesc: O-RING

3шт.

18

2906712M1

COMPRESSION SPRING

DeutschDesc: DRUCKFEDER

3шт.

19

2906711M1

POPPET

DeutschDesc: VENTILKEGEL

3шт.

20

2906989M91

UNION

DeutschDesc: VERSCHRAUBUNG

1шт.

21

3004921X1

O-RING

DeutschDesc: O-RING

2шт.

22

1444823X1

O-RING

DeutschDesc: O-RING

1шт.

23

NOT USED

DeutschDesc: NICHT VERWENDET

-1шт.

23A

3071624M91

SPRING POT

DeutschDesc: FEDERTOPF

1шт.

|$40

SPRING POT

DeutschDesc: FEDERTOPF

-3шт.

24

2994006M91

SPRING POT

DeutschDesc: FEDERTOPF

1шт.

|$41

SPRING POT

DeutschDesc: FEDERTOPF

-3шт.

25

2994005M91

SPRING POT

DeutschDesc: FEDERTOPF

1шт.

|$42

SPRING POT

DeutschDesc: FEDERTOPF

-3шт.

26

2906729M1

PLUG

DeutschDesc: VERSCHLUSSSTOPFEN

1шт.

27

1444823X1

O-RING

DeutschDesc: O-RING

1шт.

28

2906984M91

JOURNAL

DeutschDesc: ZAPFEN

3шт.

29

2907034M91

VALVE

DeutschDesc: VENTIL

1шт.

30

3004896X1

O-RING

DeutschDesc: O-RING

1шт.

31

1444797X1

O-RING

DeutschDesc: O-RING

1шт.

32

3075648M1

COMPRESSION SPRING

DeutschDesc: DRUCKFEDER

1шт.

33

390867X1

PLUG

DeutschDesc: VERSCHLUSSSTOPFEN

1шт.

34

2907088M8

PLUG

DeutschDesc: VERSCHLUSSSTOPFEN

5шт.

35

2906877M1

PLUG

DeutschDesc: VERSCHLUSSSTOPFEN

5шт.

36

390839X1

SEAL

DeutschDesc: DICHTRING

1шт.

37

3008986X1

SCREW

DeutschDesc: SCHRAUBE

1шт.

38

390839X1

SEAL

DeutschDesc: DICHTRING

1шт.

Выбрано товаров: 42