Запчасти Komatsu D600D Super ТОПЛИВН. СИСТЕМА, FINE ФИЛЬТР. ДВИГАТЕЛЬ, АКСЕССУАРЫ И ЭЛЕКТРИЧ. СИСТЕМА

Схема запчастей Komatsu D600D Super - ТОПЛИВН. СИСТЕМА, FINE ФИЛЬТР. ДВИГАТЕЛЬ, АКСЕССУАРЫ И ЭЛЕКТРИЧ. СИСТЕМА
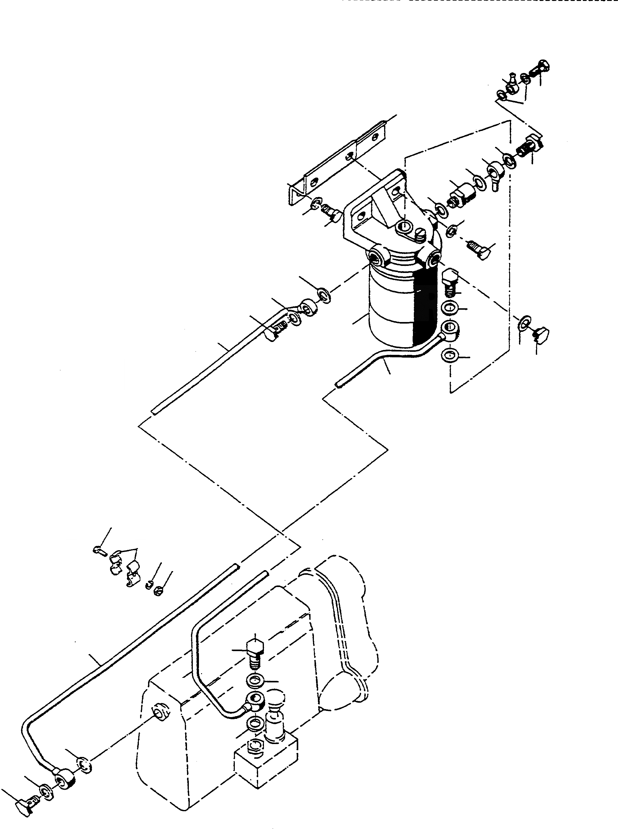
3
3A
2
4
10
14
15
1
6
7
20
6
5
8
6
12
11
13
6
6
6
15
20
6
6
9
21
17
16
18
19
21
22
6
6
6
15
FIT
1:1
100%

Артикул

Название

Примечание

Количество

1

2871535M91

FILTER

DeutschDesc: FILTER

1шт.

|$24

FILTER

DeutschDesc: FILTER

-3шт.

2

2999609M1

BANJO BOLT

DeutschDesc: HOHLSCHRAUBE

1шт.

2A

3093432M91

BANJO FITTING

DeutschDesc: RINGSTUECK

1шт.

3

3093432M91

BANJO FITTING

DeutschDesc: RINGSTUECK

1шт.

4

391376X1

SEAL

DeutschDesc: DICHTRING

2шт.

5

1444757X1

BANJO BOLT

DeutschDesc: HOHLSCHRAUBE

1шт.

6

390839X1

SEAL

DeutschDesc: DICHTRING

12шт.

7

2999722M1

BANJO FITTING

DeutschDesc: RINGSTUECK

1шт.

8

2865994M91

VALVE

DeutschDesc: VENTIL

1шт.

9

1443750X1

PLUG

DeutschDesc: VERSCHLUSSSTOPFEN

1шт.

10

2871530M91

BRACKET

DeutschDesc: HALTER

1шт.

11

339401X1

SCREW

DeutschDesc: SCHRAUBE

2шт.

12

1443790X1

SPRING WASHER

DeutschDesc: FEDERRING

4шт.

13

339401X1

SCREW

DeutschDesc: SCHRAUBE

2шт.

14

390734X1

PLAIN WASHER

DeutschDesc: UNTERLEGSCHEIBE

4шт.

15

2999610M1

BANJO BOLT

DeutschDesc: HOHLSCHRAUBE

3шт.

16

2867289M1

CLIP

DeutschDesc: SCHELLE

2шт.

17

391074X1

SCREW

DeutschDesc: SCHRAUBE

1шт.

18

1443791X1

SPRING WASHER

DeutschDesc: FEDERRING

1шт.

19

339030X1

NUT

DeutschDesc: MUTTER

1шт.

20

2972236M91

FUEL LINE

DeutschDesc: KRAFTSTOFFLEITUNG

1шт.

21

2972234M91

FUEL LINE

DeutschDesc: KRAFTSTOFFLEITUNG

1шт.

22

2866877M1

BANJO BOLT

DeutschDesc: HOHLSCHRAUBE

1шт.

Выбрано товаров: 24