Запчасти Komatsu D600D Super ВЫПУСКН. СИСТЕМА, EJECTOR ДВИГАТЕЛЬ, АКСЕССУАРЫ И ЭЛЕКТРИЧ. СИСТЕМА

Схема запчастей Komatsu D600D Super - ВЫПУСКН. СИСТЕМА, EJECTOR ДВИГАТЕЛЬ, АКСЕССУАРЫ И ЭЛЕКТРИЧ. СИСТЕМА
27
14B
14A
4
24
14C
28
23
14E
14D
22
18
21
20
19
16
17
15
25
13
26
12
11
14
13
11
12
10
9
9
8
9
3
9
7
1
2
3
6
5
5
5
4
4
FIT
1:1
100%

Артикул

Название

Примечание

Количество

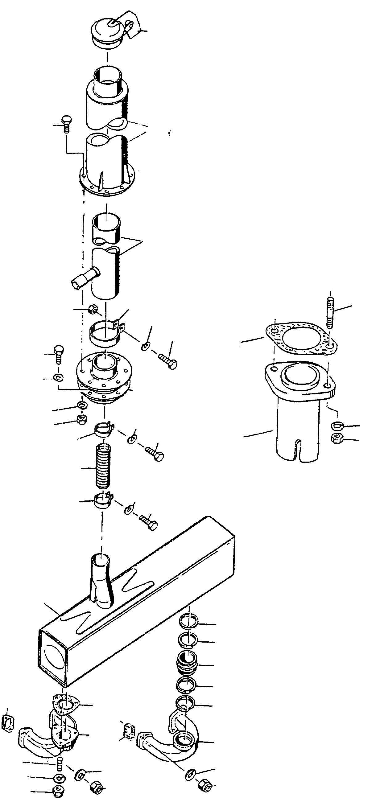
1

2872441M1

EXHAUST MANIFOLD

DeutschDesc: AUSPUFFKRUEMMER

2шт.

2

2872449M1

EXHAUST MANIFOLD

DeutschDesc: AUSPUFFKRUEMMER

1шт.

3

2992762M1

GASKET

EnglischBem: REPAIRS AND REPLACES 2872 463 M1

6шт.

4

2999785M1

NUT

DeutschDesc: MUTTER

18шт.

5

1443779X1

SPRING PLATE

DeutschDesc: FEDERSCHEIBE

18шт.

6

1443735X1

STUD BOLT

DeutschDesc: STIFTSCHRAUBE

6шт.

7

2872444M1

GASKET

DeutschDesc: DICHTUNG

2шт.

8

2872451M1

BANJO FITTING

DeutschDesc: RINGSTUECK

1шт.

9

2872458M1

RING

DeutschDesc: RING

4шт.

10

2872509M91

EXHAUSTER

DeutschDesc: AUSPUFF

1шт.

11

3072145M91

CLIP

DeutschDesc: SCHELLE

2шт.

12

1443663X1

SCREW

DeutschDesc: SCHRAUBE

2шт.

13

1443790X1

SPRING WASHER

DeutschDesc: FEDERRING

2шт.

14

2986734M1

HOSE

DeutschDesc: SCHLAUCH

1шт.

14A

4021567M91

HOSE

EnglischBem: SPECIAL EQUIPMENT

1шт.

14B

3095840M1

GASKET

EnglischBem: SPECIAL EQUIPMENT

1шт.

14C

1443734X1

STUD BOLT

EnglischBem: SPECIAL EQUIPMENT

2шт.

14D

2999785M1

NUT

EnglischBem: SPECIAL EQUIPMENT

2шт.

14E

2993793X1

SPRING WASHER

EnglischBem: SPECIAL EQUIPMENT

2шт.

15

2979744M91

FLANGE

DeutschDesc: FLANSCH

1шт.

16

339401X1

SCREW

DeutschDesc: SCHRAUBE

8шт.

17

1443790X1

SPRING WASHER

DeutschDesc: FEDERRING

8шт.

18

3000537X1

CLIP

DeutschDesc: SCHELLE

1шт.

19

1443663X1

SCREW

DeutschDesc: SCHRAUBE

1шт.

20

1443790X1

SPRING WASHER

DeutschDesc: FEDERRING

1шт.

21

339402X1

NUT

DeutschDesc: MUTTER

1шт.

22

2976411M91

EJECT

DeutschDesc: EJECTOR

1шт.

23

3092320M91

SILENCER

DeutschDesc: SCHALLDAEMPFER

1шт.

24

339401X1

SCREW

DeutschDesc: SCHRAUBE

8шт.

25

1443790X1

SPRING WASHER

DeutschDesc: FEDERRING

8шт.

26

339402X1

NUT

DeutschDesc: MUTTER

8шт.

27

3095446M91

FLAP

DeutschDesc: KLAPPE

1шт.

28

4102239M91

SILENCER

EnglischBem: REPAIRS AND REPLACES 4020 082 M91 SPECIAL EQUIPMENT

1шт.

Выбрано товаров: 33