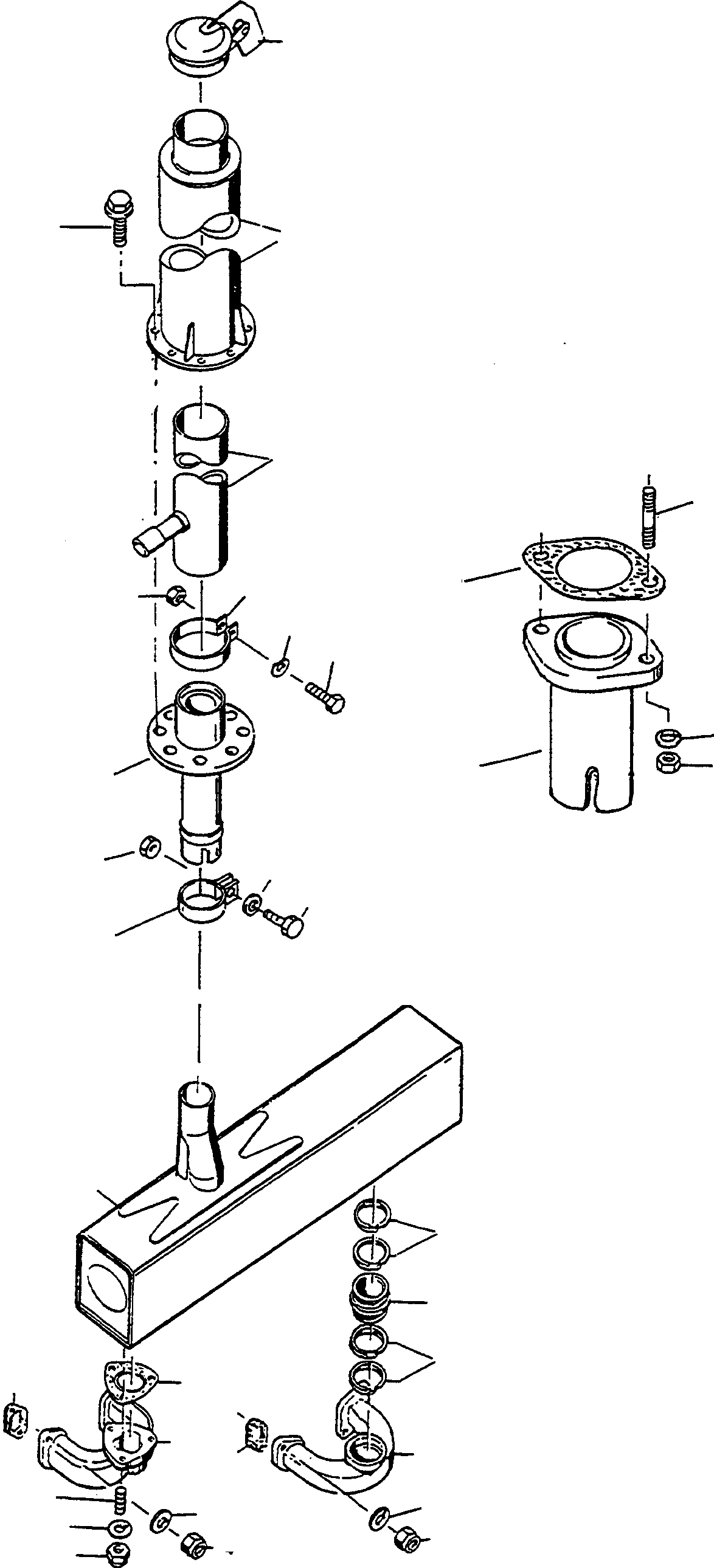
Запчасти Komatsu D600D Super ВЫПУСКН. СИСТЕМА, EJECTOR ДВИГАТЕЛЬ, АКСЕССУАРЫ И ЭЛЕКТРИЧ. СИСТЕМА

Схема запчастей Komatsu D600D Super - ВЫПУСКН. СИСТЕМА, EJECTOR ДВИГАТЕЛЬ, АКСЕССУАРЫ И ЭЛЕКТРИЧ. СИСТЕМА
20
11B
14
19
11A
18
4
11E
11C
11D
17
16
15
13
11
15
14
13
12
10
9
8
9
3
7
1
2
3
6
5
5
5
4
4
FIT
1:1
100%

Артикул

Название

Примечание

Количество

1

2872441M1

EXHAUST MANIFOLD

DeutschDesc: AUSPUFFKRUEMMER

2шт.

2

2872449M1

EXHAUST MANIFOLD

DeutschDesc: AUSPUFFKRUEMMER

1шт.

3

2992762M1

GASKET

EnglischBem: REPAIRS AND REPLACES 2872 463 M1

6шт.

4

2999785M1

NUT

DeutschDesc: MUTTER

18шт.

5

1443779X1

SPRING PLATE

DeutschDesc: FEDERSCHEIBE

18шт.

6

1443735X1

STUD BOLT

DeutschDesc: STIFTSCHRAUBE

6шт.

7

2872444M1

GASKET

DeutschDesc: DICHTUNG

2шт.

8

2872451M1

BANJO FITTING

EnglischBem: REPAIRS AND REPLACES 2872 051 M1

1шт.

9

2872458M1

RING

DeutschDesc: RING

4шт.

10

2872509M91

EXHAUSTER

DeutschDesc: AUSPUFF

1шт.

11

4021137M91

MOUNTING

DeutschDesc: HALTERUNG

1шт.

11A

4021567M91

HOSE

EnglischBem: SPECIAL EQUIPMENT

1шт.

11B

3095840M1

GASKET

EnglischBem: SPECIAL EQUIPMENT

1шт.

11C

1443734X1

STUD BOLT

EnglischBem: SPECIAL EQUIPMENT

2шт.

11D

2999785M1

NUT

EnglischBem: SPECIAL EQUIPMENT

2шт.

11E

2993793X1

SPRING WASHER

EnglischBem: SPECIAL EQUIPMENT

2шт.

12

3000405X1

CLIP

DeutschDesc: SCHELLE

1шт.

13

339401X1

SCREW

DeutschDesc: SCHRAUBE

2шт.

14

2993793X1

SPRING WASHER

DeutschDesc: FEDERRING

2шт.

15

339402X1

NUT

DeutschDesc: MUTTER

2шт.

16

3000537X1

CLIP

DeutschDesc: SCHELLE

1шт.

17

4004889M91

EJECT

DeutschDesc: EJECTOR

1шт.

18

4021120M91

SILENCER

DeutschDesc: SCHALLDAEMPFER

1шт.

18A

4102239M91

SILENCER

EnglischBem: SPECIAL EQUIPMENT REPAIRS AND REPLACES 4020 082 M91

1шт.

19

1444137X1

SCREW

DeutschDesc: SCHRAUBE

8шт.

20

3095446M91

FLAP

DeutschDesc: KLAPPE

1шт.

Выбрано товаров: 26