Запчасти Komatsu D60A-11 КЛАПАН РЫЧАГ УПРАВЛ-Я (ДЛЯ ВСПОМОГАТЕЛЬН. FРУКОЯТЬING ИНСТРУМЕНТ) УПРАВЛ-Е РАБОЧИМ ОБОРУДОВАНИЕМ

Схема запчастей Komatsu D60A-11 - КЛАПАН РЫЧАГ УПРАВЛ-Я (ДЛЯ ВСПОМОГАТЕЛЬН. FРУКОЯТЬING ИНСТРУМЕНТ) УПРАВЛ-Е РАБОЧИМ ОБОРУДОВАНИЕМ
FIT
1:1
100%

Артикул

Название

Примечание

Количество

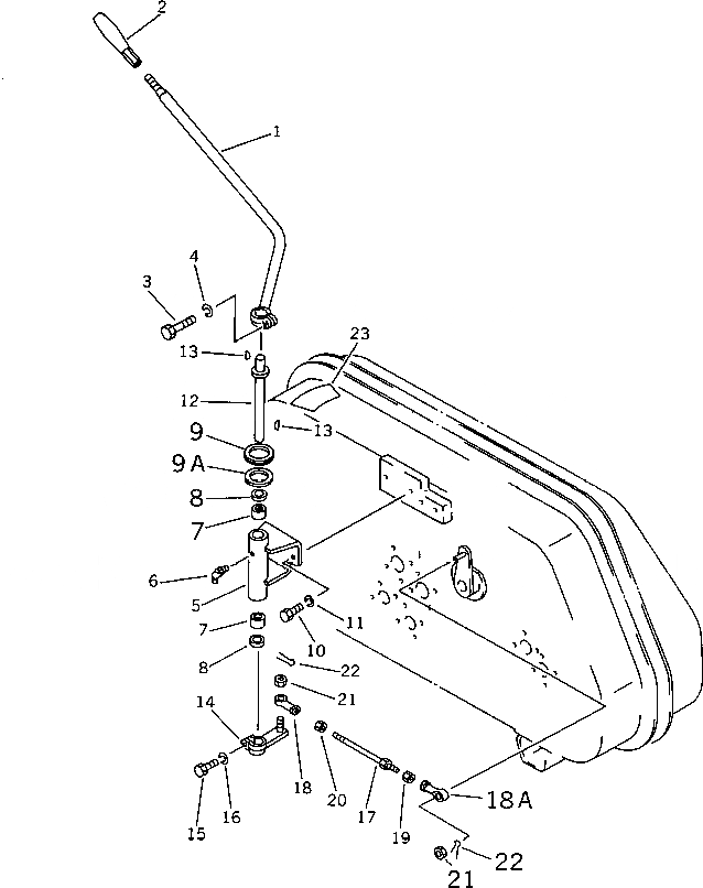
1

120-Y54-3620

LEVER

SN: 50001-UP

1шт.

2

09305-11400

KNOB

SN: 50001-UP

1шт.

3

01010-50830

BOLT

SN: 50001-UP

1шт.

4

01602-20825

WASHER,SPRING

SN: 50001-UP

1шт.

5

144-B50-1110

BRACKET

SN: 50001-UP

1шт.

6

07020-00900

FITTING,GREASE

SN: 50001-UP

1шт.

7

06120-02016

BEARING,NEEDLE

SN: 50001-UP

2шт.

8

06122-02004

SEAL,BEARING

SN: 50001-UP

2шт.

9

08037-03614

GROMMET

SN: 50001-UP

1шт.

9A

20T-70-19130

SPACER¤ 1.0MM,(FOR STEEL CAB) (D60A)

SN: 50055-UP

1шт.

|9A

20T-70-19130

SPACER¤ 1.0MM,(FOR STEEL CAB) (D65A)

SN: 50075-UP

1шт.

10

01010-51250

BOLT

SN: 50001-UP

2шт.

11

01602-21236

WASHER,SPRING

SN: 50001-UP

2шт.

12

144-850-7610

SHAFT

SN: 50001-UP

1шт.

13

04010-00519

KEY

SN: 50001-UP

2шт.

14

144-850-7630

LEVER

SN: 50001-UP

1шт.

15

01010-50830

BOLT

SN: 50001-UP

1шт.

16

01602-20825

WASHER,SPRING

SN: 50001-UP

1шт.

17

04248-31014

ROD

SN: 50001-UP

1шт.

18

04250-61056

END

SN: 50001-UP

1шт.

18A

04250-41056

END

SN: 50001-UP

1шт.

19

01582-11008

NUT

SN: 50001-UP

1шт.

20

01508-41006

NUT,L.H. THREAD

SN: 50001-UP

1шт.

21

01593-11008

NUT

SN: 50001-UP

2шт.

22

04050-12018

PIN,COTTER

SN: 50001-UP

2шт.

23

09671-00003

PLATE¤ OPERATING

SN: 50001-UP

1шт.

Выбрано товаров: 26