Запчасти Komatsu D60A-11 КРЫШКИ ГУСЕНИЦЫ

Схема запчастей Komatsu D60A-11 - КРЫШКИ ГУСЕНИЦЫ
FIT
1:1
100%

Артикул

Название

Примечание

Количество

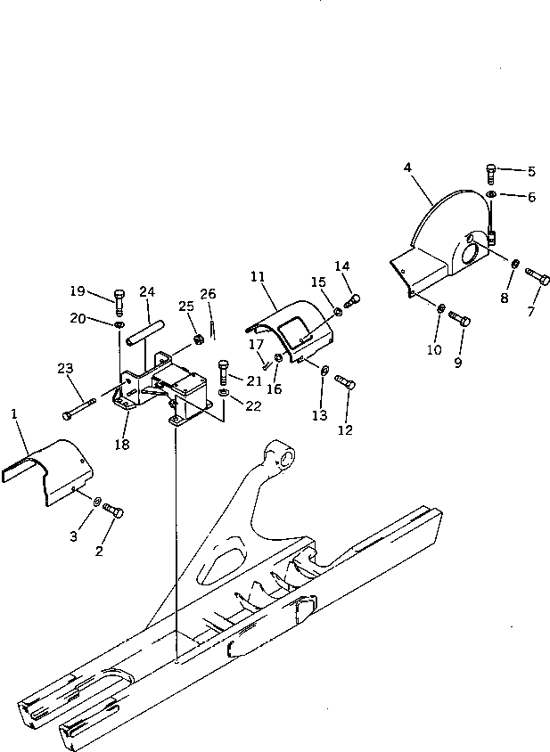
1

144-30-37211

COVER,L.H.

SN: 50001-UP

1шт.

|1

144-30-37221

COVER,R.H.

SN: 50001-UP

1шт.

2

01010-51430

BOLT

SN: 50001-UP

6шт.

3

01643-31445

WASHER,SPRING

SN: 50001-UP

6шт.

4

144-30-12150

COVER,L.H.

SN: 50001-UP

1шт.

|4

144-30-12160

COVER,R.H.

SN: 50001-UP

1шт.

5

01010-51435

BOLT

SN: 50001-UP

4шт.

6

01643-31445

WASHER

SN: 50001-UP

4шт.

7

01010-51455

BOLT

SN: 50001-UP

2шт.

8

01643-31445

WASHER

SN: 50001-UP

2шт.

9

01010-51430

BOLT

SN: 50001-UP

4шт.

10

01643-31445

WASHER

SN: 50001-UP

4шт.

11

144-30-37112

COVER,L.H.

SN: 50001-UP

1шт.

|11

144-30-37122

COVER,R.H.

SN: 50001-UP

1шт.

12

01010-51430

BOLT

SN: 50001-UP

8шт.

13

01643-31445

WASHER

SN: 50001-UP

8шт.

14

141-30-17160

BOLT

SN: 50001-UP

2шт.

15

01640-21016

WASHER

SN: 50001-UP

2шт.

16

01641-21016

WASHER

SN: 50001-UP

2шт.

17

04050-13015

PIN,COTTER

SN: 50001-UP

2шт.

18

144-30-37183

SUPPORT,L.H.

SN: 50001-UP

1шт.

|18

144-30-37193

SUPPORT,R.H.

SN: 50001-UP

1шт.

19

01010-52250

BOLT

SN: 50001-UP

8шт.

20

01643-32260

WASHER

SN: 50001-UP

8шт.

21

01010-52050

BOLT

SN: 50001-UP

4шт.

22

01643-32060

WASHER

SN: 50001-UP

4шт.

23

141-30-37310

BOLT

SN: 50001-UP

2шт.

24

145-30-37240

COLLAR

SN: 50001-UP

2шт.

25

01590-33033

NUT

SN: 50001-UP

2шт.

26

04050-06045

PIN,COTTER

SN: 50001-UP

2шт.

Выбрано товаров: 0