Запчасти Komatsu D60A-11 ПРУЖИНА ГУСЕНИЦЫ

Схема запчастей Komatsu D60A-11 - ПРУЖИНА ГУСЕНИЦЫ
FIT
1:1
100%

Артикул

Название

Примечание

Количество

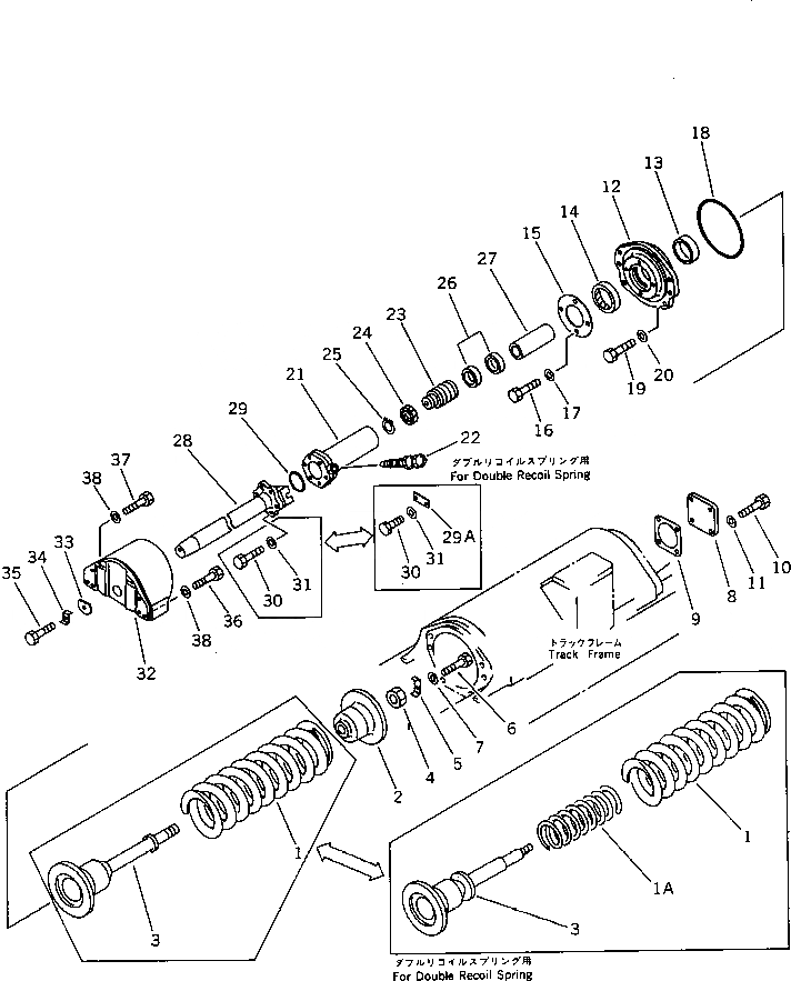
1

141-30-34112

SPRING,RECOIL (D60A)

SN: 50044-UP

2шт.

|1

0

SPRING,RECOIL (D60A)

SN: 50001-50043

2шт.

|1

141-30-34112

SPRING,RECOIL (D65A)

SN: 50050-UP

-1шт.

|1

0

SPRING,RECOIL (D65A)

SN: 50001-50049

2шт.

1A

144-30-14150

SPRING,(FOR DOUBLE SPRING)

SN: 50001-UP

2шт.

2

144-871-2250

PILOT

SN: 50001-UP

2шт.

|2

144-30-14130

PILOT,(FOR DOUBLE SPRING)

SN: 50001-UP

2шт.

3

144-30-14170

BOLT

SN: 50001-UP

2шт.

|3

144-30-14160

BOLT,(FOR DOUBLE SPRING)

SN: 50001-UP

2шт.

4

01580-03629

NUT

SN: 50001-UP

2шт.

5

141-30-34171

PLATE,LOCK

SN: 50001-UP

2шт.

6

01010-51016

BOLT

SN: 50001-UP

2шт.

7

01643-31032

WASHER

SN: 50001-UP

2шт.

8

144-30-14330

COVER

SN: 50001-UP

2шт.

9

145-30-34340

PACKING

SN: 50001-UP

2шт.

10

01010-51225

BOLT

SN: 50001-UP

8шт.

11

01643-31232

WASHER

SN: 50001-UP

8шт.

12

141-30-34263

COVER

SN: 50001-UP

2шт.

13

141-30-34140

BUSHING

SN: 50001-UP

2шт.

14

141-30-34230

SEAL,OIL

SN: 50001-UP

2шт.

15

141-30-34270

COVER

SN: 50001-UP

2шт.

16

01010-51225

BOLT

SN: 50001-UP

8шт.

17

01643-31232

WASHER

SN: 50001-UP

8шт.

18

07000-05225

O-RING

SN: 50001-UP

2шт.

19

01010-52055

BOLT

SN: 50001-UP

12шт.

20

01643-32060

WASHER

SN: 50001-UP

12шт.

21

141-30-34211

CYLINDER

SN: 50001-UP

2шт.

|21

144-30-81510

CYLINDER,(FOR TRIMMING DOZER)

SN: 50001-UP

2шт.

22

07959-20001

VALVE,LUBRICATOR

SN: 50001-UP

2шт.

23

131-30-44140

PISTON

SN: 50001-UP

2шт.

24

09370-00070

U-PACKING

SN: 50001-UP

2шт.

25

04064-04518

RING,SNAP

SN: 50001-UP

2шт.

26

07155-00720

RING,WEAR

SN: 50001-UP

4шт.

27

141-30-34160

COLLAR

SN: 50001-UP

2шт.

28

144-30-14251

ROD

SN: 50001-UP

2шт.

29

07000-15068

O-RING

SN: 50001-UP

2шт.

29A

144-871-1250

LOCK,(FOR DOUBLE SPRING)

SN: 50001-UP

6шт.

30

01010-51235

BOLT

SN: 50001-UP

12шт.

31

01643-31232

WASHER

SN: 50001-UP

12шт.

32

144-30-14311

YOKE,L.H.

SN: 50001-UP

1шт.

|32

144-30-14321

YOKE,R.H.

SN: 50001-UP

1шт.

33

141-30-14130

WASHER

SN: 50001-UP

2шт.

34

141-30-14140

PLATE,LOCK

SN: 50001-UP

2шт.

35

01010-51840

BOLT

SN: 50001-UP

2шт.

36

01010-51655

BOLT

SN: 50001-UP

4шт.

37

01010-51670

BOLT

SN: 50001-UP

8шт.

38

01643-31645

WASHER

SN: 50001-UP

12шт.

Выбрано товаров: 47