Запчасти Komatsu D60A-11D ЭЛЕКТРИКА (/)(№-) КОМПОНЕНТЫ ДВИГАТЕЛЯ И ЭЛЕКТРИКА

Схема запчастей Komatsu D60A-11D - ЭЛЕКТРИКА (/)(№-) КОМПОНЕНТЫ ДВИГАТЕЛЯ И ЭЛЕКТРИКА
FIT
1:1
100%

Артикул

Название

Примечание

Количество

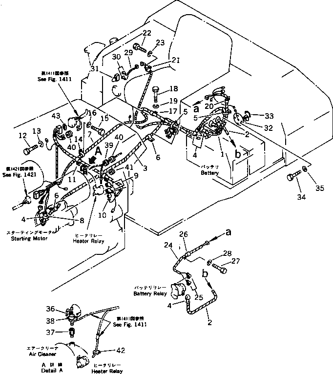
1

08028-14011

WIRE¤ 110MM

SN: 50044-UP

1шт.

2

08028-14065

WIRE¤ 650MM

SN: 50044-UP

1шт.

3

144-06-52360

WIRE

SN: 50044-UP

1шт.

4

08038-00035

CAP

SN: 50044-UP

6шт.

5

08034-00823

BAND

SN: 50044-UP

2шт.

6

08035-03014

CLIP

SN: 50044-UP

2шт.

7

144-06-82120

WIRE

SN: 50044-UP

1шт.

8

08038-00525

CAP

SN: 50044-UP

1шт.

9

08038-02027

CAP

SN: 50044-UP

2шт.

10

08038-00519

CAP

SN: 50044-UP

1шт.

11

08035-02510

CLIP

SN: 50044-UP

2шт.

12

01010-51016

BOLT

SN: 50044-UP

1шт.

13

01602-21030

WASHER,SPRING

SN: 50044-UP

1шт.

14

08036-01814

CLIP

SN: 50044-UP

1шт.

15

01010-51220

BOLT

SN: 50044-UP

1шт.

16

01602-21236

WASHER,SPRING

SN: 50044-UP

1шт.

17

08035-02514

CLIP

SN: 50044-UP

2шт.

18

01010-51016

BOLT

SN: 50044-UP

2шт.

19

01602-21030

WASHER,SPRING

SN: 50044-UP

2шт.

20

08035-11214

CLIP

SN: 50044-UP

1шт.

21

08035-01510

CLIP

SN: 50044-UP

1шт.

22

01010-51016

BOLT

SN: 50044-UP

1шт.

23

01602-21030

WASHER,SPRING

SN: 50044-UP

1шт.

24

144-06-14540

WIRE

SN: 50044-UP

1шт.

25

08038-00519

CAP

SN: 50044-UP

2шт.

26

08036-10814

CLIP

SN: 50044-UP

1шт.

27

01010-51016

BOLT

SN: 50044-UP

1шт.

28

01602-21030

WASHER,SPRING

SN: 50044-UP

1шт.

29

144-06-14531

WIRE

SN: 50044-UP

1шт.

30

08038-00519

CAP

SN: 50044-UP

2шт.

31

08064-10000

HORN SWITCH,HORN

SN: 50044-UP

1шт.

32

144-06-81210

SENSOR,FUEL LEVEL

SN: 50044-UP

1шт.

33

07000-03050

O-RING

SN: 50044-UP

1шт.

34

01010-51020

BOLT

SN: 50044-UP

4шт.

35

01643-31032

WASHER

SN: 50044-UP

4шт.

36

08089-00000

SWITCH,AIR CLEANER

SN: 50044-UP

1шт.

37

232-06-52390

NIPPLE

SN: 50044-UP

1шт.

38

08034-00823

BAND

SN: 50044-UP

1шт.

39

135-06-34250

GROMMET

SN: 50044-UP

1шт.

40

144-43-81620

GROMMET

SN: 50044-UP

2шт.

41

09415-02520

CAP

SN: 50044-UP

1шт.

42

08034-00414

BAND

SN: 50044-UP

1шт.

43

144-43-81610

RUBBER

SN: 50044-UP

1шт.

Выбрано товаров: 0