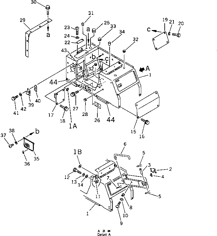
Запчасти Komatsu D60A-11D ЗАДН. КОРПУС(№-) ЧАСТИ КОРПУСА

Схема запчастей Komatsu D60A-11D - ЗАДН. КОРПУС(№-) ЧАСТИ КОРПУСА
FIT
1:1
100%

Артикул

Название

Примечание

Количество

1

144-54-83351

BOX

SN: 50055-UP

1шт.

|1

0

BOX

SN: 50044-50054

1шт.

1A

144-54-83560

SEAL

SN: 50055-UP

2шт.

1B

144-54-83550

SEAL

SN: 50055-UP

1шт.

2

09461-00021

LEVER

SN: 50044-UP

1шт.

3

09461-00022

PIN

SN: 50044-UP

1шт.

4

09461-00023

SPRING

SN: 50044-UP

1шт.

5

04050-13018

PIN,COTTER

SN: 50044-UP

2шт.

6

120-54-32431

ROD

SN: 50044-UP

1шт.

7

04050-13022

PIN,COTTER

SN: 50044-UP

1шт.

8

20R-54-11460

SPRING

SN: 50044-UP

1шт.

9

01220-40512

SCREW

SN: 50044-UP

1шт.

10

01601-20513

WASHER,SPRING

SN: 50044-UP

1шт.

11

124-54-21710

SPRING

SN: 50044-UP

1шт.

12

01010-50816

BOLT

SN: 50044-UP

2шт.

13

01602-20825

WASHER,SPRING

SN: 50044-UP

2шт.

14

01640-20816

WASHER

SN: 50044-UP

2шт.

15

134-54-31311

COVER

SN: 50044-UP

1шт.

16

01439-01220

BOLT

SN: 50044-UP

4шт.

17

144-54-83631

COVER

SN: 50055-UP

1шт.

|17

0

COVER

SN: 50044-50054

1шт.

18

01439-01225

BOLT

SN: 50044-UP

4шт.

19

144-54-83620

COVER

SN: 50044-UP

1шт.

20

01010-51225

BOLT

SN: 50044-UP

4шт.

21

01602-21236

WASHER,SPRING

SN: 50044-UP

4шт.

22

120-54-33280

COVER

SN: 50055-UP

1шт.

|22

0

COVER

SN: 50044-50054

1шт.

23

01220-40816

SCREW

SN: 50044-UP

2шт.

24

01643-30823

WASHER

SN: 50044-UP

2шт.

25

09415-05016

CAP

SN: 50055-UP

-1шт.

|25

09415-03614

CAP

SN: 50044-50054

1шт.

26

12G-B62-3340

PLATE

SN: 50044-UP

1шт.

|26

120-54-32341

PLATE

SN: 50044-UP

1шт.

|26

12G-B62-3350

SEAL

SN: 50044-UP

1шт.

27

01439-01225

BOLT

SN: 50044-UP

3шт.

28

09415-01008

CAP

SN: 50044-UP

7шт.

29

144-54-15311

COVER

SN: 50044-UP

1шт.

30

01439-01230

BOLT

SN: 50044-UP

5шт.

31

07049-01215

PLUG

SN: 50044-UP

5шт.

32

09415-01008

CAP

SN: 50044-UP

2шт.

33

09415-02110

CAP

SN: 50044-UP

1шт.

34

07049-01012

PLUG

SN: 50044-UP

2шт.

35

565-54-13850

POCKET

SN: 50044-UP

1шт.

36

565-54-13860

SADDLE

SN: 50044-UP

1шт.

37

01370-00410

SCREW

SN: 50044-UP

3шт.

38

01611-04045

WASHER

SN: 50044-UP

3шт.

39

134-Z16-7170

COVER

SN: 50044-50054

1шт.

40

134-Z16-7180

PLATE

SN: 50044-50054

1шт.

41

01010-50825

BOLT

SN: 50044-50054

2шт.

42

01643-30823

WASHER

SN: 50044-50054

2шт.

43

144-54-83640

SEAL

SN: 50044-UP

1шт.

44

144-54-83570

SEAL,(L=1000MM)

SN: 50055-UP

1шт.

Выбрано товаров: 52