Запчасти Komatsu D60A-11D СТАЛЬНАЯ КАБИНА КРЕПЛЕНИЕ (ДЛЯ ВСПОМОГАТЕЛЬН. FРУКОЯТЬING ИНСТРУМЕНТ)(№-) ЧАСТИ КОРПУСА

Схема запчастей Komatsu D60A-11D - СТАЛЬНАЯ КАБИНА КРЕПЛЕНИЕ (ДЛЯ ВСПОМОГАТЕЛЬН. FРУКОЯТЬING ИНСТРУМЕНТ)(№-) ЧАСТИ КОРПУСА
FIT
1:1
100%

Артикул

Название

Примечание

Количество

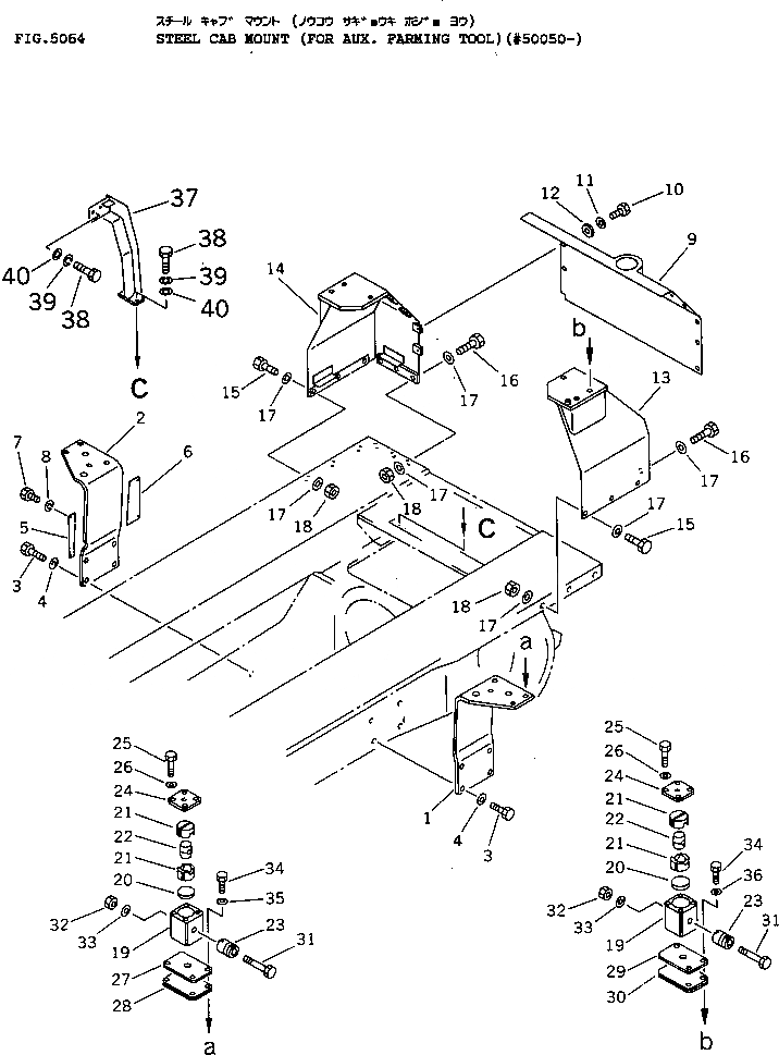
1

144-Y11-1180

BRACKET,L.H.

SN: 50044-UP

1шт.

2

144-Y11-1190

BRACKET,R.H.

SN: 50044-UP

1шт.

3

01010-52060

BOLT

SN: 50044-UP

8шт.

4

01643-32060

WASHER

SN: 50044-UP

8шт.

5

144-978-8341

PLATE

SN: 50044-UP

1шт.

6

144-978-8351

PLATE

SN: 50044-UP

1шт.

7

01010-51230

BOLT

SN: 50044-UP

4шт.

8

01602-21236

WASHER,SPRING

SN: 50044-UP

4шт.

9

144-78-81210

COVER

SN: 50044-UP

1шт.

10

01010-51445

BOLT

SN: 50044-UP

8шт.

11

01643-31445

WASHER

SN: 50044-UP

8шт.

12

178-43-14320

SPACER

SN: 50044-UP

8шт.

13

144-Y11-1111

BRACKET,L.H.

SN: 50044-UP

1шт.

14

144-B50-1210

BRACKET,R.H.

SN: 50044-UP

1шт.

15

01010-52055

BOLT

SN: 50044-UP

6шт.

16

01010-52075

BOLT

SN: 50044-UP

6шт.

17

01643-32060

WASHER

SN: 50044-UP

24шт.

18

01580-12016

NUT

SN: 50044-UP

12шт.

19

120-Y78-3362

BRACKET

SN: 50044-UP

4шт.

20

120-Y78-3240

PLATE

SN: 50044-UP

4шт.

21

142-54-12740

RUBBER

SN: 50044-UP

8шт.

22

175-978-5160

BLOCK

SN: 50044-UP

4шт.

23

175-978-5170

COLLAR

SN: 50044-UP

4шт.

24

120-Y78-4230

PLATE

SN: 50044-UP

4шт.

25

01010-51230

BOLT

SN: 50044-UP

16шт.

26

01602-21236

WASHER,SPRING

SN: 50044-UP

16шт.

27

144-Y11-1510

PLATE

SN: 50044-UP

2шт.

28

144-Y11-1520

PLATE

SN: 50044-UP

4шт.

29

144-Y11-1530

PLATE

SN: 50044-UP

2шт.

30

144-Y11-1540

PLATE

SN: 50044-UP

4шт.

31

175-978-5210

BOLT

SN: 50044-UP

4шт.

32

01580-12722

NUT

SN: 50044-UP

4шт.

33

01643-32780

WASHER

SN: 50044-UP

4шт.

34

01018-32060

BOLT

SN: 50044-UP

12шт.

35

01643-32060

WASHER

SN: 50044-UP

6шт.

36

144-Y11-1550

WASHER

SN: 50044-UP

6шт.

37

144-B50-1240

BRACKET

SN: 50044-UP

1шт.

38

01010-51230

BOLT

SN: 50044-UP

4шт.

39

01602-21236

WASHER,SPRING

SN: 50044-UP

4шт.

40

01643-31232

WASHER

SN: 50044-UP

4шт.

Выбрано товаров: 40