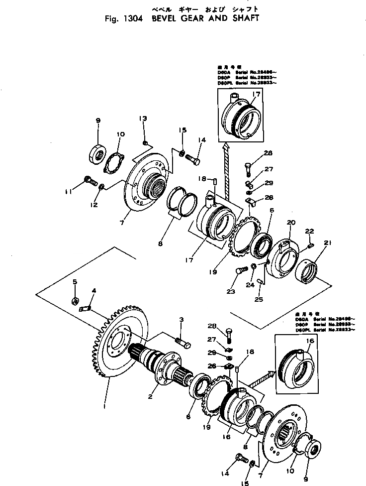
Запчасти Komatsu D60A-6 КОНИЧЕСКАЯ ПЕРЕДАЧА С ВАЛОМ СИСТЕМАУПРАВЛЕНИЯ ПОВОРОТОМ И КОНЕЧНАЯ ПЕРЕДАЧА

Схема запчастей Komatsu D60A-6 - КОНИЧЕСКАЯ ПЕРЕДАЧА С ВАЛОМ СИСТЕМАУПРАВЛЕНИЯ ПОВОРОТОМ И КОНЕЧНАЯ ПЕРЕДАЧА
FIT
1:1
100%

Артикул

Название

Примечание

Количество

1

141-21-32112

GEAR

SN: 20024-UP

1шт.

|1

141-21-32111

GEAR

SN: 20006-20021

1шт.

2

144-21-12142

SHAFT

SN: 20054-UP

1шт.

|2

0

SHAFT

SN: 20032-20053

1шт.

|$$5

(144-21-12142{144-21-12413(2))}

-1шт.

|2

0

SHAFT

SN: 20006-20031

1шт.

|$$7

(144-21-12142{144-21-12413(2))}

-1шт.

3

144-21-12150

BOLT

SN: 20006-UP

8шт.

4

144-21-12170

PLATE

SN: 21777-UP

4шт.

|4

145-21-32160

PLATE

SN: 20006-21776

4шт.

5

01582-01815

NUT

SN: 22388-UP

8шт.

|5

0

NUT

SN: 20006-22387

8шт.

6

144-874-6640

BEARING

SN: 32001-UP

1шт.

|6

0

BEARING

SN: 28241-32000

2шт.

|6

141-21-32120

BEARING

SN: 20006-28240

2шт.

7

144-21-12413

HUB

SN: 20054-UP

2шт.

|7

0

HUB

SN: 20032-20053

2шт.

|$$18

(144-21-12413(2){144-21-12142)}

-1шт.

|7

0

HUB

SN: 20006-20031

2шт.

|$$20

(144-21-12413(2){144-21-12142)}

-1шт.

8

144-21-12374

RING

SN: 29818-UP

4шт.

|8

0

RING

SN: 29812-29817

4шт.

|8

0

RING

SN: .-29811

4шт.

|8

0

RING

SN: 20024-.

4шт.

|8

144-21-12370

RING

SN: 20006-20021

4шт.

9

130-27-51151

NUT

SN: 22388-UP

2шт.

|9

130-27-51150

NUT

SN: 20006-22387

2шт.

10

144-21-12161

PLATE

SN: 20006-UP

2шт.

11

01252-31020

BOLT

SN: 20006-UP

4шт.

12

01602-01030

WASHER

SN: 20006-UP

4шт.

13

07043-00108

PLUG

SN: 20006-UP

2шт.

14

01010-31440

BOLT

SN: 22388-UP

16шт.

|14

0

BOLT

SN: 20006-22387

16шт.

15

01602-01442

WASHER

SN: 20006-UP

16шт.

16

144-21-12431

CAGE

SN: .-UP

1шт.

|16

0

CAGE

SN: 28498-.

1шт.

|16

144-21-12211

CAGE

SN: 20006-28497

1шт.

17

144-21-12441

CAGE

SN: .-UP

1шт.

|17

0

CAGE

SN: 28498-.

1шт.

|17

144-21-12221

CAGE

SN: 20006-28497

1шт.

18

144-21-12320

PIN

SN: 20006-UP

2шт.

19

144-21-12310

SCREW

SN: 20006-UP

2шт.

20

144-21-12232

FLANGE

SN: 20024-UP

1шт.

|20

144-21-12231

FLANGE

SN: 20006-20021

1шт.

21

135-21-12240

BUSHING

SN: 20006-UP

1шт.

22

144-21-12360

PIN

SN: 20006-UP

1шт.

23

01010-31025

BOLT

SN: 20006-UP

2шт.

24

01602-01030

WASHER

SN: 20006-UP

2шт.

25

04020-01024

PIN

SN: 20006-UP

1шт.

26

144-21-12330

PLATE

SN: 20006-UP

2шт.

27

144-21-12340

PLATE

SN: 20006-UP

2шт.

28

01010-31040

BOLT

SN: 20006-UP

2шт.

29

01640-21016

WASHER

SN: 20006-UP

2шт.

Выбрано товаров: 53