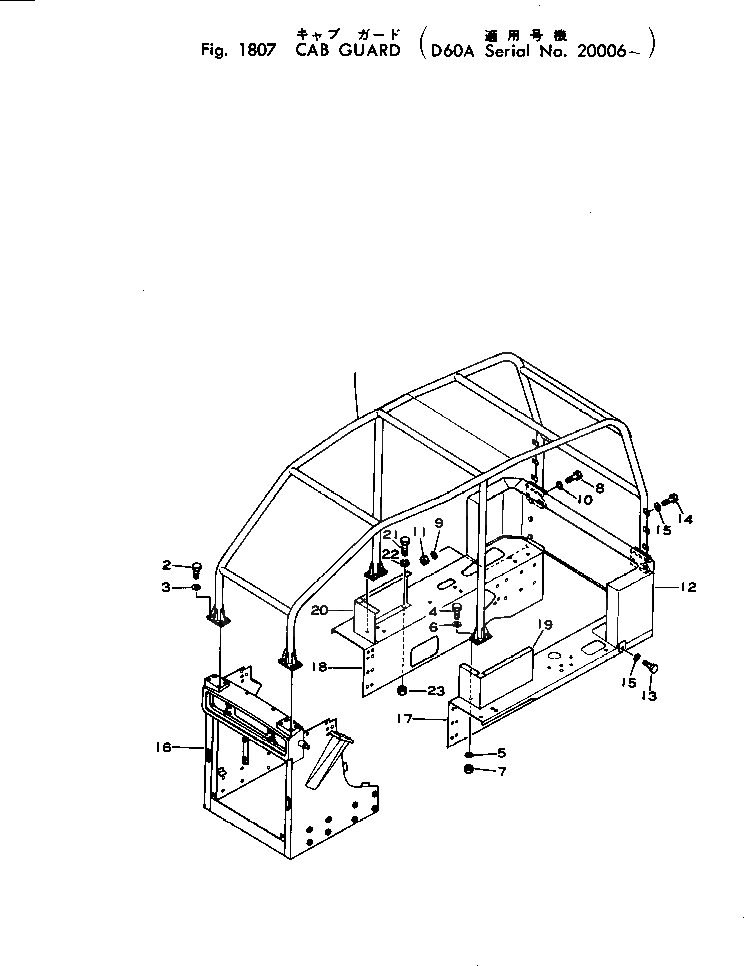
Запчасти Komatsu D60A-6 КАБИНА ЧАСТИ КОРПУСА ОПЦИОННЫЕ КОМПОНЕНТЫ

Схема запчастей Komatsu D60A-6 - КАБИНА ЧАСТИ КОРПУСА ОПЦИОННЫЕ КОМПОНЕНТЫ
FIT
1:1
100%

Артикул

Название

Примечание

Количество

1

144-919-1110

GUARD

SN: 20006-UP

1шт.

2

01010-31435

BOLT

SN: 20006-UP

8шт.

3

01602-01442

WASHER

SN: 20006-UP

8шт.

4

01010-31445

BOLT

SN: 20006-UP

8шт.

5

01643-31432

WASHER

SN: 20006-UP

8шт.

6

01602-01442

WASHER

SN: 20006-UP

8шт.

7

01580-01411

NUT

SN: 20006-UP

8шт.

8

01010-31445

BOLT

SN: 20006-UP

8шт.

9

01643-01432

WASHER

SN: 20006-UP

8шт.

10

01602-01442

WASHER

SN: 20006-UP

8шт.

11

01580-01411

NUT

SN: 20006-UP

8шт.

12

144-919-1120

COVER

SN: 20006-UP

1шт.

13

01010-31230

BOLT

SN: 20006-UP

2шт.

14

01010-31225

BOLT

SN: 20006-UP

6шт.

15

01602-01236

WASHER

SN: 20006-UP

8шт.

16

144-919-1211

GUARD

SN: 20006-UP

1шт.

17

144-919-1221

FENDER

SN: 20006-UP

1шт.

18

144-919-1231

FENDER

SN: 20006-UP

1шт.

19

144-919-1150

COVER,(EXCEPT JAPAN)

SN: 20006-UP

1шт.

20

144-919-1160

COVER,(EXCEPT JAPAN)

SN: 20006-UP

1шт.

21

01010-51225

BOLT,(EXCEPT JAPAN)

SN: 20006-UP

10шт.

22

01602-21236

WASHER,(EXCEPT JAPAN)

SN: 20006-UP

10шт.

23

01580-11210

NUT,(EXCEPT JAPAN)

SN: 20006-UP

10шт.

Выбрано товаров: 23