Запчасти Komatsu D60A-8 СИСТЕМА ТРУБ РАДИАТОРА И КРЫШКА(ШУМОПОДАВЛ. ДЛЯ EC) (DA-8A)(№-) ШУМОПОДАВЛ. ДЛЯ EC

Схема запчастей Komatsu D60A-8 - СИСТЕМА ТРУБ РАДИАТОРА И КРЫШКА(ШУМОПОДАВЛ. ДЛЯ EC) (DA-8A)(№-) ШУМОПОДАВЛ. ДЛЯ EC
FIT
1:1
100%

Артикул

Название

Примечание

Количество

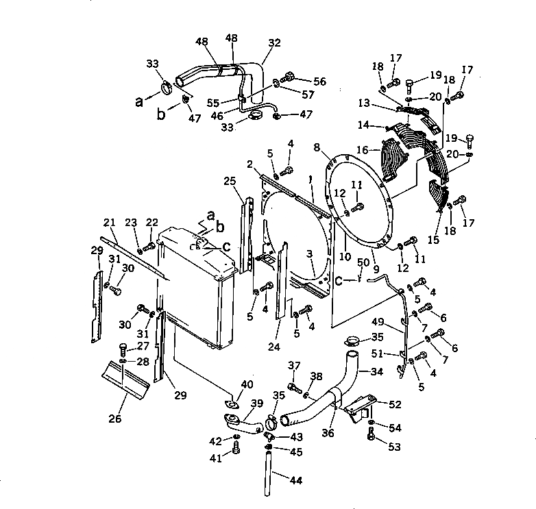
1

14G-03-21190

SHROUD,UPPER, L.H.

SN: 45330-UP

1шт.

2

14G-03-21210

SHROUD,UPPER, R.H.

SN: 45330-UP

1шт.

3

14G-03-21181

SHROUD,LOWER

SN: 45330-UP

1шт.

4

01010-51230

BOLT

SN: 45330-UP

8шт.

5

01602-21236

WASHER,SPRING

SN: 45330-UP

8шт.

6

01010-51240

BOLT

SN: 45330-UP

4шт.

7

01602-21236

WASHER,SPRING

SN: 45330-UP

4шт.

8

144-A62-9110

COVER,UPPER

SN: 45330-UP

1шт.

9

144-A62-9120

COVER,LOWER, L.H.

SN: 45330-UP

1шт.

10

144-A62-9130

COVER,LOWER, R.H.

SN: 45330-UP

1шт.

11

01010-51025

BOLT

SN: 45330-UP

2шт.

12

01602-21030

WASHER,SPRING

SN: 45330-UP

2шт.

13

144-03-51130

GUARD,FAN

SN: 45330-UP

1шт.

14

144-03-51122

GUARD,FAN

SN: 45330-UP

1шт.

15

14G-03-21291

GUARD,FAN

SN: 45330-UP

1шт.

16

14G-03-21312

GUARD,FAN

SN: 45330-UP

1шт.

17

01010-51030

BOLT

SN: 45330-UP

7шт.

18

01602-21030

WASHER,SPRING

SN: 45330-UP

7шт.

19

01010-51020

BOLT

SN: 45330-UP

6шт.

20

01602-21030

WASHER,SPRING

SN: 45330-UP

6шт.

21

144-03-15310

COVER

SN: 45330-UP

1шт.

22

01010-50820

BOLT

SN: 45330-UP

3шт.

23

01602-20825

WASHER,SPRING

SN: 45330-UP

3шт.

24

14G-03-21250

PLATE,L.H.

SN: 45330-UP

1шт.

25

14G-03-21260

PLATE,R.H.

SN: 45330-UP

1шт.

26

144-03-51210

COVER

SN: 45330-UP

1шт.

27

01010-50820

BOLT

SN: 45330-UP

3шт.

28

01602-20825

WASHER,SPRING

SN: 45330-UP

3шт.

29

144-940-4130

COVER

SN: 45330-UP

2шт.

30

01010-50820

BOLT

SN: 45330-UP

6шт.

31

01602-20825

WASHER,SPRING

SN: 45330-UP

6шт.

32

14G-03-21171

HOSE

SN: 45330-UP

1шт.

33

208-09-11120

CLAMP

SN: 45330-UP

2шт.

34

14G-03-21152

HOSE

SN: 45330-UP

1шт.

35

205-09-61120

CLAMP

SN: 45330-UP

2шт.

36

14G-03-21160

CLIP

SN: 45330-UP

1шт.

37

01010-51020

BOLT

SN: 45330-UP

2шт.

38

01602-21030

WASHER,SPRING

SN: 45330-UP

2шт.

39

14G-03-21141

TUBE

SN: 45330-UP

1шт.

40

14G-03-21130

GASKET

SN: 45330-UP

1шт.

41

01010-51235

BOLT

SN: 45330-UP

2шт.

42

01602-21236

WASHER,SPRING

SN: 45330-UP

2шт.

43

07730-50004

VALVE

SN: 45330-UP

1шт.

44

07270-01520

TUBE,VINYL

SN: 45330-UP

1шт.

45

07281-00197

CLAMP

SN: 45330-UP

1шт.

46

07261-20910

HOSE

SN: 45330-UP

1шт.

47

07281-00197

CLAMP

SN: 45330-UP

2шт.

48

08034-00823

BAND

SN: 45330-UP

2шт.

49

14G-03-21270

TUBE

SN: 45330-UP

1шт.

50

04059-01010

WIRE

SN: 45330-UP

1шт.

51

6675-61-7380

CLIP

SN: 45330-UP

4шт.

52

14G-03-21320

BRACKET

SN: 45330-UP

1шт.

53

01010-51040

BOLT

SN: 45330-UP

2шт.

54

01602-21030

WASHER,SPRING

SN: 45330-UP

2шт.

55

08036-01814

CLIP

SN: 45330-UP

1шт.

56

01010-51025

BOLT

SN: 45330-UP

1шт.

57

01602-21030

WASHER,SPRING

SN: 45330-UP

1шт.

Выбрано товаров: 57